TOP
|
特許
|
意匠
|
商標
特許ウォッチ
Twitter
他の特許を見る
10個以上の画像は省略されています。
公開番号
2025171924
公報種別
公開特許公報(A)
公開日
2025-11-20
出願番号
2024193893
出願日
2024-11-05
発明の名称
熱交換器
出願人
株式会社アイシン
代理人
弁理士法人R&C
主分類
F28F
3/00 20060101AFI20251113BHJP(熱交換一般)
要約
【課題】上下方向で小さい配置スペースに配置可能で組み立ても容易に行える熱交換器を提供する。
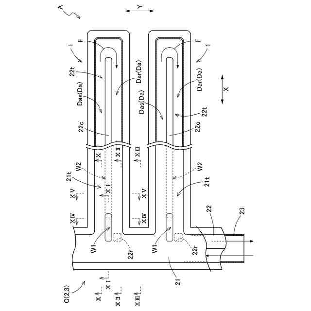
【解決手段】複数の金属プレートを重ね合わせて接合することにより内部に形成された熱交換流路Daと、熱交換流路Daに流体Fを送る供給口1fと、熱交換流路Daから流体Fを送り出す排出口1eと、を有する複数の熱交換モジュール1と、複数の熱交換モジュール1の夫々に接合され、複数の熱交換モジュール1の夫々の供給口1fを介して流体Fを供給する供給流路モジュール2と、複数の熱交換モジュール1の夫々に接合され、複数の熱交換モジュール1の夫々の排出口1eから流体Fを排出する排出流路モジュール3と、を備えた。
【選択図】図2
特許請求の範囲
【請求項1】
車両に搭載されたバッテリと熱交換される流体が流通する熱交換器であって、
複数の金属プレートを重ね合わせて接合することにより内部に形成された熱交換流路と、前記熱交換流路に前記流体を送る供給口と、前記熱交換流路から前記流体を送り出す排出口と、を有する複数の熱交換モジュールと、
複数の前記熱交換モジュールの夫々に接合され、複数の前記熱交換モジュールの夫々の前記供給口を介して前記流体を供給する供給流路モジュールと、
複数の前記熱交換モジュールの夫々に接合され、複数の前記熱交換モジュールの夫々の前記排出口から前記流体を排出する排出流路モジュールと、を備えている熱交換器。
続きを表示(約 490 文字)
【請求項2】
前記供給流路モジュール、又は、前記排出流路モジュールの少なくとも一方には、複数の金属プレートを重ね合わせて接合することにより内部に前記流体が流通する流路が形成されている請求項1に記載の熱交換器。
【請求項3】
前記熱交換モジュールが、前記バッテリと対向する熱交換壁と、前記熱交換壁と対向する底壁とを有し、
前記供給流路モジュールと前記排出流路モジュールとが前記底壁に接合されている請求項2に記載の熱交換器。
【請求項4】
前記供給口が前記熱交換モジュールの一方の端部に配置され、前記排出口が前記熱交換モジュールの他方の端部に形成されている請求項3に記載の熱交換器。
【請求項5】
前記供給流路モジュール及び前記排出流路モジュールに接合され、複数の金属プレートを重ね合わせて接合することにより内部に前記流体の供給流路及び排出流路が形成された接続モジュールを更に備えた請求項4に記載の熱交換器。
【請求項6】
1つの前記熱交換モジュールが、複数の前記熱交換流路を有している請求項1に記載の熱交換器。
発明の詳細な説明
【技術分野】
【0001】
本発明は、熱交換器に関する。
続きを表示(約 1,600 文字)
【背景技術】
【0002】
特許文献1には、熱交換器(100)として、並設配置された複数の水冷パネル(101)の長手方向の両端に集冷管(102)を接続し、これらの集冷管(102)に対して水の給排を行うことで熱交換を行う電力バッテリ熱管理システムが示されている。
【0003】
この特許文献1は、一対の集冷管(102)に対し、取水管(200)、出口管(300)が、ジョイント(402)、三方弁(400)、ゴム管(401)等を介して接続することにより水の給排を実現している。
【先行技術文献】
【特許文献】
【0004】
中国実用新案第207303288号明細書
【発明の概要】
【発明が解決しようとする課題】
【0005】
例えば、バッテリ車(BEV:Battery Electric Vehicle)において、フロアーの下側に配置されたバッテリは、上下方向で小さい配置スペースに収容されることから、このバッテリを冷却する熱交換器も薄型であることが望まれている。
【0006】
これに対し、特許文献1に記載される熱交換器は、並列的に配置された複数の水冷パネル(101)の両端に管状の集冷管(102)が接続されており、この集冷管(102)の両端に接続されたコネクタ(105)に対してジョイント(402)、三方弁(400)、ゴム管(401)等を介して取水管(200)、出口管(300)が接続されている。このため、熱交換器の上下方向の寸法が拡大し、部品点数の増大を招くだけでなく、組み立て工程の複雑化を招くものであった。
【0007】
また、特許文献1に示される複数の水冷パネル(101)は、共通した構造であるため、配置スペースの縮小を可能にするものであるが、複数の水冷パネル(101)の両端に接続される集冷管(102)が水冷パネル(101)の厚みより大きい外径のパイプ状であることから、配置スペースの縮小を困難にするものであった。
【0008】
このような理由から、上下方向で小さい配置スペースに配置可能で組み立ても容易に行える熱交換器が求められる。
【課題を解決するための手段】
【0009】
本発明に係る熱交換器の特徴構成は、車両に搭載されたバッテリと熱交換される流体が流通する熱交換器であって、複数の金属プレートを重ね合わせて接合することにより内部に形成された熱交換流路と、前記熱交換流路に前記流体を送る供給口と、前記熱交換流路から前記流体を送り出す排出口と、を有する複数の熱交換モジュールと、複数の前記熱交換モジュールの夫々に接合され、複数の前記熱交換モジュールの夫々の前記供給口を介して前記流体を供給する供給流路モジュールと、複数の前記熱交換モジュールの夫々に接合され、複数の前記熱交換モジュールの夫々の前記排出口から前記流体を排出する排出流路モジュールと、を備えている点にある。
【0010】
本構成によると、供給流路モジュールから供給された流体は、複数の熱交換モジュールに流れ、排出流路モジュールから排出される。このように流体が流れることにより、熱交換モジュールにおけるバッテリと流体との間での熱交換によって、バッテリの温度調節を実現する。この熱交換器は、供給流路モジュールと熱交換モジュールとが接合されることにより流体の供給を可能にし、熱交換モジュールと排出流路モジュールとが接合されることにより、流体の排出を可能にする。このため、例えば、コネクタと配管とを用いて流体の給排を行うものと比較して、上下方向の寸法の短縮を可能にし、省スペースが可能で、部品点数を低減し、組み立て工程も単純にできる。従って、上下方向で小さい配置スペースに配置可能で組み立ても容易に行える熱交換器が構成された。
【図面の簡単な説明】
(【0011】以降は省略されています)
この特許をJ-PlatPat(特許庁公式サイト)で参照する
関連特許
株式会社アイシン
潤滑油
5日前
株式会社アイシン
焼き入れ方法
5日前
株式会社アイシン
焼き入れ方法
5日前
株式会社アイシン
情報検索システム
今日
株式会社アイシン
情報検索システム
今日
株式会社アイシン
ステータユニット
1日前
株式会社アイシン
ペロブスカイト太陽電池
5日前
株式会社アイシン
硬化性組成物及びその硬化物
今日
株式会社アイシン
エポキシ系接着剤組成物及びその硬化物並びに積層コア
5日前
株式会社豊田中央研究所
二酸化炭素回収システム
1日前
株式会社デンソーテン
画像処理装置、情報処理システム、情報処理方法、および、プログラム
5日前
トヨタ自動車株式会社
足元位置推定装置、足元位置推定方法、足元位置推定システム及び足元位置推定用コンピュータプログラムならびに移動検知装置
6日前
個人
排熱回収装置
4か月前
個人
冷却装置の蒸発器
1か月前
個人
放射冷却装置
1か月前
個人
熱交換装置
2か月前
個人
熱交換装置
6か月前
三恵技研工業株式会社
熱交換器
8か月前
三恵技研工業株式会社
熱交換器
8か月前
アンリツ株式会社
検査装置
7か月前
アンリツ株式会社
検査装置
7か月前
新光電気工業株式会社
蓄熱装置
3か月前
ZACROS株式会社
熱交換装置
8か月前
中外炉工業株式会社
クーリングチューブ
1日前
株式会社デンソー
熱交換器
6か月前
株式会社デンソー
熱交換器
6か月前
株式会社デンソー
熱交換器
5か月前
栗田工業株式会社
冷却塔システム
5か月前
株式会社アイシン
熱交換器
6か月前
株式会社デンソー
熱交換器
7か月前
サンデン株式会社
熱交換器
8か月前
株式会社アイシン
熱交換器
20日前
株式会社ティラド
複合型熱交換器
12日前
サンデン株式会社
熱交換器
8か月前
TPR株式会社
熱電発電機能付き熱交換器
9か月前
株式会社デンソー
熱交換装置
1か月前
続きを見る
他の特許を見る