TOP
|
特許
|
意匠
|
商標
特許ウォッチ
Twitter
他の特許を見る
10個以上の画像は省略されています。
公開番号
2025153568
公報種別
公開特許公報(A)
公開日
2025-10-10
出願番号
2024056107
出願日
2024-03-29
発明の名称
熱交換装置
出願人
個人
代理人
個人
,
個人
主分類
F28D
7/04 20060101AFI20251002BHJP(熱交換一般)
要約
【課題】高効率で熱回収することができ、よりコンパクトにして実施することができる熱交換装置を提供する。
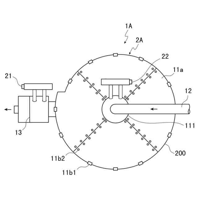
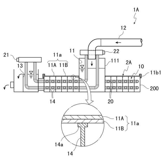
【解決手段】熱交換装置1は、高温又は低温となる熱源から所定の高さの排出管としての排水配管12を介して位置エネルギーを利用して排出される熱交換流体である高温流体が流入する流入口11と、流入口11から流入した高温流体が循環する熱交換流体循環路としての高温流体循環路10と、高温流体循環路10を通った高温流体が流出される流出口13と、流出口13側から挿通され、高温流体循環路10を通り、高温流体の流れる方向と逆方向に高温流体と熱交換される被熱交換流体としての給水が供給される被熱交換流体配管としての給水配管20と、を有する熱交換装置本体2を備え、高温流体循環路10の上面開口全体は、閉塞部材である蓋体11aで閉塞されており、流出口13の高さ位置は、排水配管12の所定の高さよりも低く、蓋体11aの高さ位置以上に設定されている。
【選択図】図1
特許請求の範囲
【請求項1】
高温又は低温となる熱源から所定の高さの排出管を介して位置エネルギーを利用して排出される熱交換流体が流入する流入口と、
前記流入口から流入した前記熱交換流体が循環する熱交換流体循環路と、
前記熱交換流体循環路を通った前記熱交換流体が流出される流出口と、
前記流出口側から挿通され、前記熱交換流体循環路を通り、前記熱交換流体の流れる方向と逆方向に前記熱交換流体と熱交換される被熱交換流体が供給される被熱交換流体配管と、を有する熱交換装置本体を備え、
前記熱交換流体循環路の上面開口全体は、閉塞部材で閉塞されており、
前記流出口の高さ位置は、前記排出管の前記所定の高さよりも低く、前記閉塞部材の高さ位置以上に設定されていることを特徴とする熱交換装置。
続きを表示(約 790 文字)
【請求項2】
前記閉塞部材よりも上部に突出された流入口形成用管状部材によって前記流入口が形成されていることを特徴とする請求項1に記載の熱交換装置。
【請求項3】
前記閉塞部材が開閉可能な蓋体であることを特徴とする請求項1に記載の熱交換装置。
【請求項4】
前記閉塞部材である前記蓋体が剛体の板材とシール材とからなり、前記蓋体が押え具によって前記熱交換装置本体に着脱自在に固定されて、前記熱交換流体循環路の側面を形成する隔壁の上端に前記シール材が当接してシールされ、前記熱交換流体循環路の上面開口全体が閉塞されていることを特徴とする請求項3に記載の熱交換装置。
【請求項5】
前記熱交換装置本体の上部に前記熱交換流体を浄化するための浄化槽が設けられており、前記浄化槽には前記排出管と前記流入口とが接続され、前記排出管から排出された前記熱交換流体が浄化されて前記流入口から流入する構成とされていることを特徴とする請求項1に記載の熱交換装置。
【請求項6】
前記熱交換流体が流れる前記熱交換流体循環路が板状の隔壁によって渦巻状に形成され、前記板状の隔壁の両側が前記熱交換流体循環路であり、
前記排出管は、前記熱交換装置本体の外部の前記熱源から延び、前記熱交換装置本体の上部に前記熱交換流体を排出するように配設され、
前記被熱交換流体配管が前記熱交換装置本体の外周側から前記渦巻状の前記熱交換流体循環路を通ってその中心に向かって配設され、前記中心の位置から上方に延び、さらに前記熱交換装置本体の外側にまで延設されるように構成されていることを特徴とする請求項1に記載の熱交換装置。
【請求項7】
前記被熱交換流体配管が複数段又は複数列設けられていることを特徴とする請求項1に記載の熱交換装置。
発明の詳細な説明
【技術分野】
【0001】
本発明は、高温又は低温となった熱交換流体と被熱交換流体配管に供給した被熱交換流体との間で熱交換する熱交換装置に関する。
続きを表示(約 1,200 文字)
【背景技術】
【0002】
従来、工場や各種プラント等から発生する高温又は低温の排水は、そのまま外部に流出して廃棄されている。高温排水の場合は、例えば化石燃料を燃焼させて高温にしているため、その排水から熱回収することで、省エネルギーとなり、二酸化炭素排出量の削減にも繋がる。
【0003】
従来からこのような排水等から熱回収することが可能な熱交換装置が多く提案されている。
【0004】
こうしたなか、例えば、特許文献1には、熱交換流体循環路内において、位置エネルギーを利用して熱交換流体を流入口から流出口に向けて循環させるとともに、熱交換流体と熱交換される被熱交換流体に対して熱交換流体が流れる方向が対向流とされた構成の熱交換装置が開示されている。
【先行技術文献】
【特許文献】
【0005】
米国特許第4291423号明細書
【発明の概要】
【発明が解決しようとする課題】
【0006】
しかしながら、このような従来の熱交換装置では、熱交換流体循環路内において、熱交換に用いる熱交換流体がまだ熱交換が行える温度にあるにもかかわらず流出口からすぐに流出してしまうので、高効率で熱回収することが困難であり、その分、よりコンパクトにして実施することはできないという問題があった。
【0007】
そこで、本発明は、このような事情に鑑みてなされたものであり、その目的とするところは、高効率で熱回収することができ、よりコンパクトにして実施することができる熱交換装置を提供することにある。
【課題を解決するための手段】
【0008】
上記目的を達成するために、請求項1に記載の発明は、高温又は低温となる熱源から所定の高さの排出管を介して位置エネルギーを利用して排出される熱交換流体が流入する流入口と、前記流入口から流入した前記熱交換流体が循環する熱交換流体循環路と、前記熱交換流体循環路を通った前記熱交換流体が流出される流出口と、前記流出口側から挿通され、前記熱交換流体循環路を通り、前記熱交換流体の流れる方向と逆方向に前記熱交換流体と熱交換される被熱交換流体が供給される被熱交換流体配管と、を有する熱交換装置本体を備え、前記熱交換流体循環路の上面開口全体は、閉塞部材で閉塞されており、前記流出口の高さ位置は、前記排出管の前記所定の高さよりも低く、前記閉塞部材の高さ位置以上に設定されていることを特徴とする。
【0009】
請求項2に記載の発明は、請求項1に記載の発明において、前記閉塞部材よりも上部に突出された流入口形成用管状部材によって前記流入口が形成されていることを特徴とする。
【0010】
請求項3に記載の発明は、請求項1に記載の発明において、前記閉塞部材が開閉可能な蓋体であることを特徴とする。
(【0011】以降は省略されています)
この特許をJ-PlatPat(特許庁公式サイト)で参照する
関連特許
個人
排熱回収装置
3か月前
個人
冷却装置の蒸発器
11日前
個人
放射冷却装置
13日前
個人
熱交換装置
5か月前
個人
熱交換装置
25日前
三恵技研工業株式会社
熱交換器
7か月前
三恵技研工業株式会社
熱交換器
7か月前
アンリツ株式会社
検査装置
6か月前
アンリツ株式会社
検査装置
6か月前
新光電気工業株式会社
蓄熱装置
1か月前
栗田工業株式会社
冷却塔システム
4か月前
株式会社デンソー
熱交換器
4か月前
株式会社デンソー
熱交換器
5か月前
サンデン株式会社
熱交換器
7か月前
株式会社アイシン
熱交換器
5か月前
株式会社デンソー
熱交換器
5か月前
株式会社デンソー
熱交換器
5か月前
ZACROS株式会社
熱交換装置
6か月前
サンデン株式会社
熱交換器
7か月前
株式会社デンソー
熱交換装置
12日前
株式会社神戸製鋼所
積層型熱交換器
5か月前
TPR株式会社
熱電発電機能付き熱交換器
7か月前
新晃工業株式会社
熱交換器の底板構造
7か月前
株式会社ミタカ
冷却パネル
7か月前
石川県公立大学法人
ヒートパイプ
7か月前
本田技研工業株式会社
蓄エネルギー装置
3か月前
愛知製鋼株式会社
粉体シール部材
27日前
マレリ株式会社
熱交換器
4か月前
日本碍子株式会社
熱交換器
28日前
天津大学
インホイールモーター用一体型冷却器
3か月前
日本碍子株式会社
熱交換器
1か月前
マレリ株式会社
熱交換器
7か月前
マレリ株式会社
熱交換器
4か月前
株式会社大林組
散水装置及び異物除去方法
1か月前
フタバ産業株式会社
熱交換構造
6か月前
栗田工業株式会社
空気冷却装置の運転方法
6か月前
続きを見る
他の特許を見る