TOP
|
特許
|
意匠
|
商標
特許ウォッチ
Twitter
他の特許を見る
10個以上の画像は省略されています。
公開番号
2025045360
公報種別
公開特許公報(A)
公開日
2025-04-02
出願番号
2023153295
出願日
2023-09-20
発明の名称
熱交換器
出願人
サンデン株式会社
代理人
個人
,
個人
,
個人
主分類
F28F
17/00 20060101AFI20250326BHJP(熱交換一般)
要約
【課題】 熱交換器に例えば凝縮水等の水分が付着する場合であっても、ヘッダタンクとブラケットの間の保水及びそれによる金属の腐食を防止可能な熱交換器を提供する。
【解決手段】 熱交換器1は、筒状のヘッダタンク3aとチューブ2とを有し、ヘッダタンク3aを外部部材に固定するブラケット4aを備え、ブラケット4aは、ヘッダタンクの外周面3Saの一部に沿って延在してヘッダタンク3aに接合される接合部41aと、外周面3Saから離反して外部部材との連結に利用される外部締結部42aと、を有する板材400aにより構成され、接合部41aは、ヘッダタンク3aの長手方向の一方側に形成される一方側接合領域411aと、他方側に形成される他方側接合領域412aと、を互いに離反した領域として有しており、一方側接合領域411aと他方側接合領域412aの間の隣接領域413aに、外周面3Saに付着する液体を排出するための排出部45aを設けた。
【選択図】図3
特許請求の範囲
【請求項1】
筒状のヘッダタンクとチューブとを有する熱交換器であって、
前記ヘッダタンクを外部部材に固定するブラケットを備え、
前記ブラケットは、
前記ヘッダタンクの外周面の一部に沿って延在して前記ヘッダタンクに接合される接合部と、
前記外周面から離反して前記外部部材との連結に利用される外部締結部と、を有する板材により構成され、
前記接合部は、
前記ヘッダタンクの長手方向の一方側に形成される一方側接合領域と、前記ヘッダタンクの長手方向の他方側に形成される他方側接合領域と、を互いに離反した領域として有しており、
前記一方側接合領域と前記他方側接合領域の間の隣接領域に、前記外周面に付着する液体を排出するための排出部を設けた、
ことを特徴とする熱交換器。
続きを表示(約 450 文字)
【請求項2】
前記隣接領域は、前記外周面の周方向に延在する領域であり、該外周面から前記板材が離反することによって該外周面との間に空間が形成される、
ことを特徴とする請求項1に記載の熱交換器。
【請求項3】
前記隣接領域は、前記一方側接合領域および前記他方側接合領域と比較して、前記外周面から離れる方向に突出し、且つ、前記外周面から離反する、
ことを特徴とする請求項1に記載の熱交換器。
【請求項4】
前記隣接領域は、前記板材が存在しないことによって、前記ヘッダタンクの一部が外部に露出される、
ことを特徴とする請求項1に記載の熱交換器。
【請求項5】
前記排出部の一端は前記外部締結部に達する、
ことを特徴とする請求項1に記載の熱交換器。
【請求項6】
前記隣接領域に、前記ヘッダタンクの内部空間に向かって陥没する凹状のリブが重畳する、
ことを特徴とする請求項1に記載の熱交換器。
発明の詳細な説明
【技術分野】
【0001】
本発明は、熱交換器に関するものである。
続きを表示(約 1,700 文字)
【背景技術】
【0002】
従来、熱交換器は、複数並列されたチューブの両端にヘッダタンクを接続し、ヘッダタンクを介してチューブ内を流れる熱媒体や冷媒と、複数のチューブ間を通過する流体(例えば、空気)との間で熱交換を行う。
【0003】
車載用等の熱交換器では、熱交換器のヘッダタンクがブラケットによって外部部材(車両側の固定部など)に固定される。ヘッダタンクやブラケットは樹脂材料で構成される場合もあるが、金属材料により構成される場合もある。例えば、特許文献1には、アルミ素材のヘッダパイプ(ヘッダタンク)と、これを車体フレーム等の固定体に取付ける、単一の平板状素材をプレス成形して形成されたブラケットが記載されている。
【先行技術文献】
【特許文献】
【0004】
特開平11-078475号公報
【発明の概要】
【発明が解決しようとする課題】
【0005】
しかしながら、ヘッダタンクおよびブラケットが金属(例えば、アルミニウム合金等)により構成される熱交換器において、金属の腐食対策が十分でない問題があった。
【0006】
特に、吸熱器としても放熱器としても使用される熱交換器(熱媒体が流れる熱媒体回路に適用する熱交換器)などでは、低温シール性を確保する等の目的でチューブ、ヘッダタンクおよびブラケットが金属(例えば、アルミニウム合金等)により構成される場合がある。このような熱交換器が吸熱器として機能した場合、発生した凝縮水がヘッダタンクとブラケットの間に保水され、これが原因で金属が腐食する恐れがあった。
【0007】
本発明は、係る課題に鑑みてなされ、熱交換器に例えば凝縮水等の水分が付着する場合であっても、ヘッダタンクとブラケットの間の保水及びそれによる金属の腐食を防止可能な熱交換器を提供するものである。
【課題を解決するための手段】
【0008】
本発明は、筒状のヘッダタンクとチューブとを有する熱交換器であって、前記ヘッダタンクを外部部材に固定するブラケットを備え、前記ブラケットは、前記ヘッダタンクの外周面の一部に沿って延在して前記ヘッダタンクに接合される接合部と、前記外周面から離反して前記外部部材との連結に利用される外部締結部と、を有する板材により構成され、前記接合部は、前記ヘッダタンクの長手方向の一方側に形成される一方側接合領域と、前記ヘッダタンクの長手方向の他方側に形成される他方側接合領域と、を互いに離反した領域として有しており、前記一方側接合領域と前記他方側接合領域の間の隣接領域に、前記外周面に付着する液体を排出するための排出部を設けた、ことを特徴とする熱交換器に係るものである。
【発明の効果】
【0009】
本発明によれば、熱交換器に例えば凝縮水等の水分が付着する場合であっても、ヘッダタンクとブラケットの間の保水及びそれによる金属の腐食を防止可能な熱交換器を提供することができる。
【図面の簡単な説明】
【0010】
本発明の実施形態に係る熱交換器の外観斜視図である。
本発明の本実施形態の比較例を説明する図であり(A)~(D)斜視図、(E)側面図である。
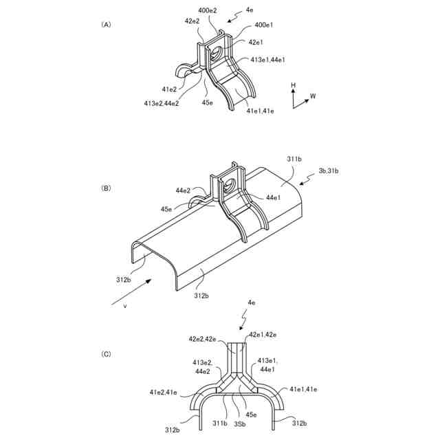
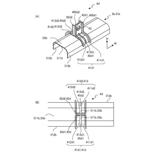
本発明の実施形態の一例を示す図であり(A)斜視図、(B)斜視図、(C)上面図、(D)側面図、(E)底面図である。
本発明の実施形態の一例を示す図であり(A)斜視図、(B)斜視図、(C)上面図、(D)側面図、(E)底面図である。
本発明の実施形態の一例を示す図であり(A)斜視図、(B)上面図である。
本発明の実施形態の一例を示す図であり(A)斜視図、(B)上面図である。
本発明の実施形態の一例を示す図であり(A)斜視図、(B)斜視図、(C)側面図である。
本発明の実施形態の一例を示す平面図である。
本発明の実施形態の一例を示す平面図である。
本発明の実施形態の一例を示す平面模式図である。
【発明を実施するための形態】
(【0011】以降は省略されています)
この特許をJ-PlatPat(特許庁公式サイト)で参照する
関連特許
サンデン株式会社
電力変換装置
2か月前
サンデン株式会社
スクロール圧縮機
25日前
サンデン株式会社
スクロール圧縮機
25日前
サンデン株式会社
スクロール圧縮機
25日前
サンデン株式会社
スクロール式コンプレッサ
26日前
サンデン株式会社
車両用熱マネジメントシステム
26日前
サンデン株式会社
車両用熱マネジメントシステム
26日前
サンデン株式会社
車両用熱マネジメントシステム
26日前
サンデン株式会社
車両用熱マネジメントシステム
26日前
サンデン株式会社
車両用熱マネジメントシステム
26日前
サンデン株式会社
電動圧縮機用モータ及びそれを備えた電動圧縮機
29日前
個人
排熱回収装置
2か月前
個人
冷却装置の蒸発器
4日前
個人
放射冷却装置
6日前
個人
熱交換装置
5か月前
個人
熱交換装置
18日前
ホーコス株式会社
熱交換ユニット
9か月前
三恵技研工業株式会社
熱交換器
6か月前
三恵技研工業株式会社
熱交換器
6か月前
アンリツ株式会社
検査装置
5か月前
株式会社パイオラックス
熱交換器
8か月前
アンリツ株式会社
検査装置
5か月前
株式会社ティラド
ラジエータ
9か月前
日産自動車株式会社
熱交換器
8か月前
株式会社アイシン
水噴射冷却システム
9か月前
スズキ株式会社
熱交換器
12か月前
個人
熱交換器
11か月前
新光電気工業株式会社
蓄熱装置
1か月前
日新電機株式会社
化学蓄熱反応器
10か月前
サンデン株式会社
熱交換器
9か月前
栗田工業株式会社
冷却塔システム
9か月前
栗田工業株式会社
冷却塔システム
3か月前
株式会社デンソー
熱交換器
5か月前
サンデン株式会社
熱交換器
9か月前
株式会社デンソー
熱交換器
4か月前
サンデン株式会社
熱交換器
6か月前
続きを見る
他の特許を見る