TOP
|
特許
|
意匠
|
商標
特許ウォッチ
Twitter
他の特許を見る
10個以上の画像は省略されています。
公開番号
2025108027
公報種別
公開特許公報(A)
公開日
2025-07-23
出願番号
2024001615
出願日
2024-01-10
発明の名称
電力変換装置
出願人
サンデン株式会社
代理人
個人
主分類
H02M
7/48 20070101AFI20250715BHJP(電力の発電,変換,配電)
要約
【課題】GND共通型デュアルインバータの二次側電圧を安定的に制御しながら、オープンエンド構造の巻線を有するモータを駆動することができる電力変換装置を提供する。
【解決手段】一次側インバータが直流電源に接続され、二次側インバータがコンデンサに接続され、一次側インバータと二次側インバータの負側電源ラインが共通化されており、コンデンサの充電電圧である二次側電圧V
dc2
を制御する制御装置6を備え、この制御装置6が、二次側電圧V
dc2
を二次側電圧指令値V
dc2
ref
に制御するために必要な零相電流i
z
を流す零相電圧指令値v
z
ref
を生成する二次側電圧制御系23を有する。
【選択図】図2
特許請求の範囲
【請求項1】
モータが有するオープンエンド構造の巻線の一端に接続された一次側インバータと、前記巻線の他端に接続された二次側インバータを備え、前記一次側インバータと前記二次側インバータの差電圧を前記モータに印加する電力変換装置において、
前記一次側インバータが直流電源に接続され、
前記二次側インバータがコンデンサに接続され、
前記一次側インバータと前記二次側インバータの負側電源ラインが共通化されており、
前記コンデンサの充電電圧である二次側電圧を制御する制御装置を備え、
該制御装置は、
前記二次側電圧を二次側電圧指令値に制御するために必要な二次側DCリンク電流を流す零相電圧指令値を生成する二次側電圧制御系を有することを特徴とする電力変換装置。
続きを表示(約 1,800 文字)
【請求項2】
前記一次側インバータと前記二次側インバータはそれぞれ複数のスイッチング素子から構成されており、
前記一次側インバータの正側入力端が前記直流電源の正側電源ラインに接続され、前記一次側インバータの負側入力端が前記直流電源の前記負側電源ラインに接続され、前記一次側インバータの出力端が前記巻線の一端に接続され、
前記二次側インバータの出力端が前記巻線の他端に接続され、前記二次側インバータの正側入力端と負側入力端間に前記コンデンサが接続され、
前記二次側インバータの正側入力端は前記直流電源の正側電源ラインに接続されておらず、前記二次側インバータの負側入力端は前記直流電源の負側電源ラインに接続されていると共に、
前記各スイッチング素子を前記制御装置によりスイッチングすることにより、前記直流電源から交流出力を生成することを特徴とする請求項1に記載の電力変換装置。
【請求項3】
前記制御装置は、
前記二次側DCリンク電流として前記コンデンサに流れるコンデンサ電流を採用し、又は、前記二次側DCリンク電流を示す指標として零相電流を採用することを特徴とする請求項1に記載の電力変換装置。
【請求項4】
前記二次側電圧制御系は、
前記二次側電圧を制御するために必要な二次側DCリンク電流指令値を生成する二次側電圧制御部と、
前記二次側DCリンク電流を前記二次側DCリンク電流指令値に制御するための前記零相電圧指令値を生成する二次側DCリンク電流制御部と、
前記零相電圧指令値に基づき、前記一次側インバータをスイッチングするための一次側出力電圧指令値と、前記二次側インバータをスイッチングするための二次側出力電圧指令値を生成する出力電圧指令生成部と、
を有することを特徴とする請求項1に記載の電力変換装置。
【請求項5】
前記制御装置は、零相電流を前記二次側DCリンク電流を示す指標として採用すると共に、
前記二次側電圧制御部は、前記二次側電圧指令値に基づいて零相電流指令値を生成し、
前記二次側DCリンク電流制御部は、前記零相電流指令値に基づいて前記零相電圧指令値を生成し、
前記出力電圧指令生成部は、dq軸電圧指令値から、一次側出力電圧ベクトル指令値と二次側出力電圧ベクトル指令値を生成し、前記一次側出力電圧ベクトル指令値から前記一次側出力電圧指令値を生成し、前記二次側出力電圧ベクトル指令値から前記二次側出力電圧指令値を生成する、
ことを特徴とする請求項4に記載の電力変換装置。
【請求項6】
前記出力電圧指令生成部は、前記一次側出力電圧ベクトル指令値及び/又は前記二次側出力電圧ベクトル指令値に前記零相電圧指令値を加算することで前記一次側出力電圧指令値と前記二次側出力電圧指令値を生成することを特徴とする請求項5に記載の電力変換装置。
【請求項7】
前記出力電圧指令生成部は、前記一次側出力電圧ベクトル指令値と前記二次側出力電圧ベクトル指令値に前記零相電圧指令値を分配する零相電圧分配部を有することを特徴とする請求項6に記載の電力変換装置。
【請求項8】
前記零相電圧分配部は、前記一次側出力電圧ベクトル指令値に分配するゲインM
1
を1、前記二次側出力電圧ベクトル指令値に分配するゲインM
2
を0とする場合を有することを特徴とする請求項7に記載の電力変換装置。
【請求項9】
前記零相電圧分配部は、前記一次側出力電圧ベクトル指令値に分配するゲインM
1
を0、前記二次側出力電圧ベクトル指令値に分配するゲインM
2
を1とする場合を有することを特徴とする請求項7に記載の電力変換装置。
【請求項10】
前記出力電圧指令生成部は、前記dq軸電圧指令値を、前記一次側出力電圧ベクトル指令値としての有効電圧と、前記二次側出力電圧ベクトル指令値としての無効電圧に分解し、前記有効電圧から前記一次側出力電圧指令値を生成し、前記無効電圧から前記二次側出力電圧指令値を生成する、
ことを特徴とする請求項5に記載の電力変換装置。
(【請求項11】以降は省略されています)
発明の詳細な説明
【技術分野】
【0001】
本発明は、両端が開放されたオープンエンド構造の巻線を有するモータに、一次側インバータと二次側インバータの二つのインバータを用いて交流出力を印加する電力変換装置に関するものである。
続きを表示(約 1,400 文字)
【背景技術】
【0002】
例えば、電気自動車やハイブリッド自動車等の電動車両の空調装置に用いられる電動コンプレッサを駆動する場合、三相の永久磁石同期モータが使用されるが、インバータを用いた既存のモータ制御方式は、図7に示すようなd軸電流i
d
とq軸電流i
q
を制御するベクトル制御が一般的である。
【0003】
図7に示すような制御器(コントローラ)と制御対象(プラントモデル)をモデル化することで、制御器の設計が可能となる。即ち、制御対象がモデル化されていることが、制御器を設計するために重要となる。
【0004】
一方、インバータで駆動されるモータは、入力電圧が低下した場合、駆動可能な回転数が低下し、或いは、高い回転数にて出力可能トルクが低下するため、高速の駆動可能範囲が狭くなる傾向がある。ハウジング内に収納されたモータにより圧縮機構を駆動する上述した車載用の電動コンプレッサでは、従来入力電圧の要求範囲は広くなかったが、近年電動コンプレッサでも入力電圧の変化に対する駆動可能領域の要求が厳しくなってきている。
【0005】
しかしながら、車載用の電動コンプレッサでは、電動車両のバッテリを直流電源として使用するため、入力電圧が低下する場合があり、入力電圧が低下した場合、回転数が高い領域では出力可能なトルクが低くなってしまう。
【0006】
そこで、入力電圧に対してモータへの出力電圧を大きくとる方法として、両端が開放された複数の固定子巻線を備えた所謂オープンエンド巻線構造のモータ(モータの中性点を接続せずに外側に出したモータ)を、一次側と二次側の二つのインバータで挟み込み、一次側インバータと二次側インバータの差電圧をモータに印加して駆動するデュアルインバータ方式の電力変換装置が種々提案されている(例えば、特許文献1、特許文献2参照)。
【先行技術文献】
【特許文献】
【0007】
特開2006-149153号公報
特開2005-33984号公報
【発明の概要】
【発明が解決しようとする課題】
【0008】
オープンエンド巻線構造のモータを駆動するデュアルインバータ方式の電力変換装置では、一次側と二次側の二つのインバータが存在するため、電圧指令値を二つのインバータにどのように分配するかで自由度が存在する。
【0009】
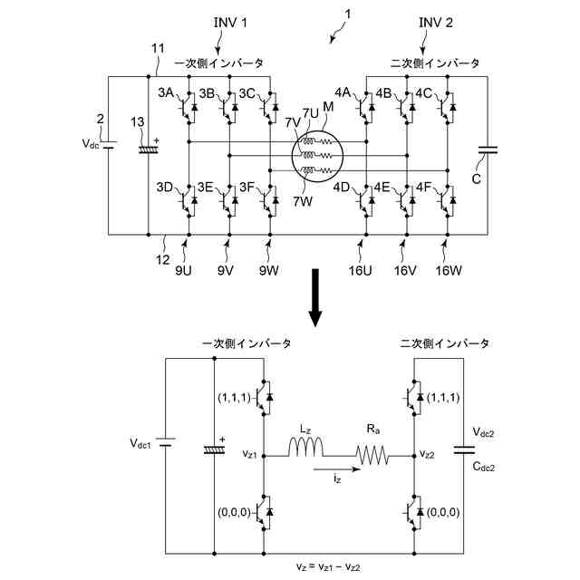
そして、従来のデュアルインバータ方式の電力変換装置は、大別すると図8~図10に示す三つのものに分けられる。図8は一般的な電源共通型デュアルインバータの電力変換装置である。図8において、Mは上記オープンエンド構造の巻線を備えたモータ、INV1は一次側インバータ、INV2は二次側インバータであり、これらでモータMの固定子巻線を挟み込んでいる。
【0010】
電源共通型デュアルインバータは最も単純な方式であり、一次側と二次側の電源を共通化する。電源が一つのため、一次側と二次側全ての半導体素子及びパッシブ素子(コンデンサ等)の耐圧は電源電圧によって設定する必要がある。また、零相電流が流れる経路が存在するため、零相電流の対策を行う必要があるが、一次側と二次側の両方が有効電力と無効電力を出力することができる。
(【0011】以降は省略されています)
この特許をJ-PlatPat(特許庁公式サイト)で参照する
関連特許
サンデン株式会社
情報処理装置
3日前
サンデン株式会社
電力変換装置
2か月前
サンデン株式会社
可変容量型圧縮機
3日前
サンデン株式会社
スクロール圧縮機
1か月前
サンデン株式会社
スクロール圧縮機
1か月前
サンデン株式会社
スクロール圧縮機
1か月前
サンデン株式会社
車両用空気調和装置
3日前
サンデン株式会社
車両用空気調和装置
3日前
サンデン株式会社
車両用空気調和装置
3日前
サンデン株式会社
熱マネジメントシステム
3日前
サンデン株式会社
スクロール式コンプレッサ
1か月前
サンデン株式会社
車両用熱マネジメントシステム
1か月前
サンデン株式会社
車両用熱マネジメントシステム
1か月前
サンデン株式会社
車両用熱マネジメントシステム
1か月前
サンデン株式会社
車両用熱マネジメントシステム
1か月前
サンデン株式会社
車両用熱マネジメントシステム
1か月前
サンデン株式会社
充電制御システム及び配車管理システム
3日前
サンデン株式会社
電動圧縮機用モータ及びそれを備えた電動圧縮機
1か月前
個人
単極モータ
19日前
キヤノン電子株式会社
モータ
3日前
株式会社アイシン
ロータ
19日前
株式会社アイシン
ロータ
23日前
日星電気株式会社
ケーブル組立体
11日前
コーセル株式会社
電源装置
4日前
トヨタ自動車株式会社
固定子
24日前
トヨタ自動車株式会社
製造装置
24日前
株式会社デンソー
回転機
17日前
株式会社アイシン
ステータ
23日前
個人
太陽エネルギー収集システム
24日前
株式会社アイシン
ステータ
23日前
株式会社ダイヘン
充電装置
23日前
株式会社ダイヘン
充電装置
23日前
株式会社ダイヘン
充電装置
23日前
株式会社ダイヘン
充電装置
23日前
株式会社アイシン
ステータ
23日前
株式会社アイシン
ステータ
23日前
続きを見る
他の特許を見る