TOP
|
特許
|
意匠
|
商標
特許ウォッチ
Twitter
他の特許を見る
公開番号
2025140439
公報種別
公開特許公報(A)
公開日
2025-09-29
出願番号
2024039848
出願日
2024-03-14
発明の名称
電動圧縮機用モータ及びそれを備えた電動圧縮機
出願人
サンデン株式会社
代理人
弁理士法人平和国際特許事務所
主分類
H02K
3/46 20060101AFI20250919BHJP(電力の発電,変換,配電)
要約
【課題】インシュレータの寿命低下を抑制できる電動圧縮機用モータ及びそれを備えた電動圧縮機を提供する。
【解決手段】 ステータのコアと、該コアと接触するインシュレータと、該インシュレータに巻装された巻線とを備え、前記インシュレータが、比誘電率が3.7以下、かつ誘電正接が0.0004以下である樹脂材料からなる、電動圧縮機用モータ。
【選択図】図3
特許請求の範囲
【請求項1】
ステータのコアと、該コアと接触するインシュレータと、該インシュレータに巻装された巻線とを備え、
前記インシュレータが、比誘電率が3.7以下、かつ誘電正接が0.0004以下である樹脂材料からなる、電動圧縮機用モータ。
続きを表示(約 170 文字)
【請求項2】
前記インシュレータは、振動による上昇温度が1.5℃以下である、請求項1に記載の電動圧縮機用モータ。
【請求項3】
前記樹脂材料がシンジオタクチックポリスチレンを含む、請求項1又は2に記載の電動圧縮機用モータ。
【請求項4】
請求項1に記載の電動圧縮機用モータを備えた、電動圧縮機。
発明の詳細な説明
【技術分野】
【0001】
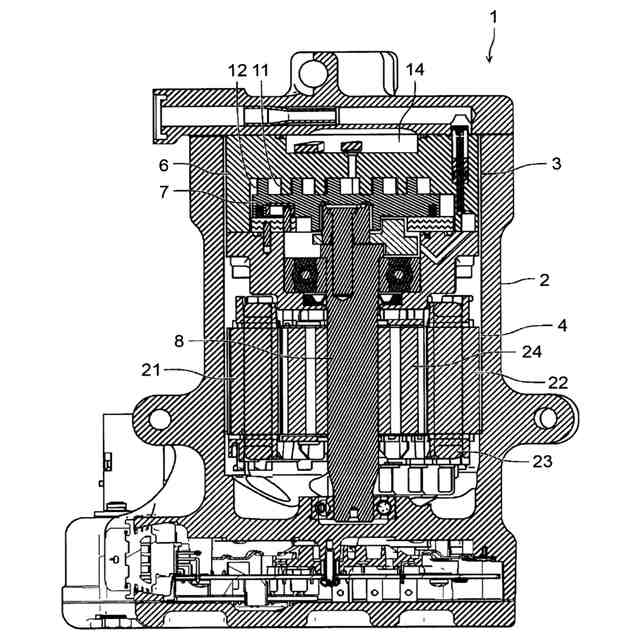
本発明は、ステータのコアに装着されたインシュレータに巻線が巻装されている電動圧縮機用モータ及びそれを備えた電動圧縮機に関する。
続きを表示(約 1,100 文字)
【背景技術】
【0002】
従来、電動圧縮機の圧縮要素を駆動するためのモータは、ステータとこのステータの側で回転するロータとにより構成されている。このうちステータは、コアに形成された複数のティースに、巻線が施されたインシュレータがそれぞれ装着される構成とされていた(特許文献1)。
また、インシュレータの材質として、ポリフェニレンサルファイド(PPS)や、ポリブチレンテレフタレート(PBT)を用いることが提案されている(特許文献2)。
【先行技術文献】
【特許文献】
【0003】
特開2018-126009号公報
特開2000-274360号公報
【発明の概要】
【発明が解決しようとする課題】
【0004】
しかしながら、特許文献1、2をはじめとする従来の技術には、インシュレータの寿命低下を抑制する観点でさらなる改善の余地が見出された。
【0005】
本発明の目的の1つは、インシュレータの寿命低下を抑制できる電動圧縮機用モータ及びそれを備えた電動圧縮機を提供することである。
【課題を解決するための手段】
【0006】
本発明者らは鋭意検討の結果、比誘電率及び誘電正接が特定の条件を満たす樹脂をインシュレータに適用した場合に、インシュレータの寿命低下を顕著に抑制できることを見出し、本発明を完成した。
本発明によれば、以下の電動圧縮機用モータ等を提供できる。
【0007】
本発明の一態様に係る電動圧縮機用モータは、ステータのコアと、該コアと接触するインシュレータと、該インシュレータに巻装された巻線とを備え、前記インシュレータが、比誘電率が3.7以下、かつ誘電正接が0.0004以下である樹脂材料からなることを特徴とする。
本態様に係る電動圧縮機用モータによれば、インシュレータの寿命低下を抑制できる。
【0008】
より好ましくは、前記インシュレータは、振動による上昇温度が1.5℃以下である。これにより、インシュレータの寿命低下をより好適に抑制できる。
【0009】
より好ましくは、前記樹脂材料がシンジオタクチックポリスチレンを含む。これにより、インシュレータの寿命低下をより好適に抑制できる。
【0010】
本発明の一態様に係る電動圧縮機は、本発明の一態様に係る電動圧縮機用モータを備えることを特徴とする。
本態様に係る電動圧縮機によれば、インシュレータの寿命低下を抑制できる。
【発明の効果】
(【0011】以降は省略されています)
この特許をJ-PlatPat(特許庁公式サイト)で参照する
関連特許
サンデン株式会社
電動圧縮機
4か月前
サンデン株式会社
電動圧縮機
4か月前
サンデン株式会社
電動圧縮機
4か月前
サンデン株式会社
電力変換装置
2か月前
サンデン株式会社
電力変換装置
3か月前
サンデン株式会社
電力変換装置
3か月前
サンデン株式会社
情報処理装置
3日前
サンデン株式会社
車両用空調装置
4か月前
サンデン株式会社
車両用空調装置
4か月前
サンデン株式会社
車両用空調装置
4か月前
サンデン株式会社
車両用空調装置
4か月前
サンデン株式会社
車両用空調装置
4か月前
サンデン株式会社
スクロール圧縮機
1か月前
サンデン株式会社
可変容量型圧縮機
3日前
サンデン株式会社
スクロール圧縮機
1か月前
サンデン株式会社
スクロール圧縮機
1か月前
サンデン株式会社
車両用空気調和装置
3日前
サンデン株式会社
車両用空気調和装置
3日前
サンデン株式会社
車両用空気調和装置
3日前
サンデン株式会社
横置型ロータリー圧縮機
4か月前
サンデン株式会社
横置型ロータリー圧縮機
4か月前
サンデン株式会社
熱マネジメントシステム
3日前
サンデン株式会社
スクロール式コンプレッサ
1か月前
サンデン株式会社
車両用熱マネジメントシステム
1か月前
サンデン株式会社
車両用熱マネジメントシステム
1か月前
サンデン株式会社
車両用熱マネジメントシステム
1か月前
サンデン株式会社
車両用熱マネジメントシステム
1か月前
サンデン株式会社
車両用熱マネジメントシステム
1か月前
サンデン株式会社
充電制御システム及び配車管理システム
3日前
サンデン株式会社
インバータ一体型電動圧縮機及びその製造方法
4か月前
サンデン株式会社
電動圧縮機用モータ及びそれを備えた電動圧縮機
1か月前
個人
単極モータ
19日前
キヤノン電子株式会社
モータ
3日前
株式会社アイシン
ロータ
23日前
株式会社アイシン
ロータ
19日前
西部電機株式会社
充電装置
26日前
続きを見る
他の特許を見る