TOP
|
特許
|
意匠
|
商標
特許ウォッチ
Twitter
他の特許を見る
公開番号
2025166268
公報種別
公開特許公報(A)
公開日
2025-11-05
出願番号
2025142836
出願日
2025-08-13
発明の名称
電動自動車用同期電動機の変速方法と駆動制御装置
出願人
個人
代理人
主分類
H02P
21/00 20160101AFI20251028BHJP(電力の発電,変換,配電)
要約
【課題】低速から高速までの広い速度範囲で同期電動機の電力効率を向上する。
【解決手段】極数切換という方法で、低速では極数を増やして電動機のトルク乗数を上げることにより電機子に供給する交流電流の電流値を下げて銅損を減らし、高速では極数を減らして電機子に供給する交流電流の電圧及び周波数を下げることにより高速回転時の損失(鉄損が主体)を減らす。また、電動機の駆動時は電機子巻線のインバータ電源電流が界磁巻線の電源となるよう接続し、回生制動時に電機子巻線から発生する電流が効率よく電池に回生されるよう接続することにより、更なる電力効率向上効果を提供する。
【選択図】図2
特許請求の範囲
【請求項1】
回転速度の大きさにより極数切換指令を発する極数切換指令工程と、極数切換指令工程からの極数切換指令を受けて同期電動機の電機子電流の相数を切り換えることにより電機子の極数を切り換える電機子極数切換工程と、極数切換指令工程からの極数切換指令を受けて同期電動機の界磁巻線の電流の向きと大きさを制御することにより界磁の極数を切り換える界磁極数切換工程と、電機子極数切換工程からの電機子電流及び界磁極数切換工程からの界磁電流を電機子巻線及び界磁巻線に導く同期電動機の電機子巻線及び界磁巻線接続工程、以上の全ての工程を有することを特徴とする、電動自動車用同期電動機の変速方法。
続きを表示(約 720 文字)
【請求項2】
請求項1の電動自動車用同期電動機の変速方法において、多相の電機子巻線が各々の相毎に集線され電機子極数切換工程に接続された電機子巻線接続手段、及び各々の界磁巻線が界磁巻線の数プラス1個の数の摺動子を通して界磁極数切換工程に接続された界磁巻線接続手段と、従来の3相交流波形を発出する座標変換演算手段に代えて多相の電機子電流の相数と極数の切り換え機能を持った座標変換演算手段と、巻線界磁型同期電動機の界磁巻線により生成される界磁が前述電機子電流による磁界の空間ベクトルと位相が相似になるよう一つ一つの界磁巻線の直流電流の向きと大きさを制御する界磁電流制御手段と、マイクロプロセッサを用いて電動機の回転速度から判断し前述回転座標変換演算手段、界磁電流制御手段、その他の制御手段に極数切り換え指令を発出することにより全体を統括制御する極数切換指令手段、以上の全ての手段を有することを特徴とする、電動自動車用同期電動機の駆動制御装置
【請求項3】
請求項2の同期電動機の駆動制御装置において、電池と電機子巻線及びインバータ・ブリッジ回路を負荷電流の等しい2つのグループに分け、電池から電機子巻線のインバータ・ブリッジ回路に供給される直流電流が界磁電流制御回路に流れるよう接続し、電機子巻線の回生電流を整流するダイオードブリッジ回路の整流後の電流が界磁電流制御回路を通らずに充電回路に直接流れるように接続し、電流指令値生成器からのブレーキ電流指令が界磁電流制御回路へ直流電流を供給する2つの可変定電流回路に接続されて回生制動時に界磁電流制御回路へ供給される電流値が制御されるように構成された、同期電動機の駆動制御装置
発明の詳細な説明
【技術分野】
【0001】
ベクトル制御技術と電力制御技術を適用した、電気を動力源とする自動車に用いられる同期電動機の電力効率向上に関する。
続きを表示(約 3,400 文字)
【背景技術】
【0002】
旧来、鉄道車両では電機子巻線と界磁巻線が直列に接続された直巻き直流電動機、及びその制御手段として可変抵抗電流制御装置、後にはサイリスタチョッパ電流制御装置が用いられてきた。近年は電力半導体素子の発達と現代制御理論による多変数ベクトル制御の適用により、VVVFインバータ(英語ではVFDと略される)と組み合わせて誘導電動機が用いられ、高い電力効率と保全性・可用性が両立して実現できるようになった。しかし自動車用途では供給できる電力量の制約があることから、車両の軽量化の要件が非常に厳しい。更に車両の大きさに対し広い車室空間が求められるため、電動機の小型軽量化が強く求められる。誘導電動機は同期電動機に比べ電力密度が低いことにより、同等の動力に対する大きさ・重量が大きく、小型軽量化の点で自動車用途に不向きである。また発進時のすべり制御による加減速が緩やかな誘導電動機は、信号待ちの発進停止や短い間隔の任意位置に合わせて停止するなどの運行パターンの多い自動車には制御性の点で不向きである。以上の運用条件から、自動車用には主に小型・軽量で制御性・応答性の良い同期電動機が使われている。しかし電気自動車は高速運転時の航続距離の低下が指摘されており、同期電動機の高速回転時の電力効率の向上が喫緊の課題となっている。
【先行技術文献】
【特許文献】
【0003】
特許公報 特開平11-18382 極数切換回転電機システム
特許公報 特開2007-259575 界磁巻線型同期電動機及び電動駆動装置
特許公報 特開2015-226425 極数切換型誘導電動機の駆動方法及び極数切換型誘導機
特許公報 特開2014-39446 極数変換モータ装置
特許公報 特開2020-141493 巻線界磁型同期電動機
【非特許文献】
【0004】
Motor Fan Tech 2025年3月12日刊「日産アリアの永久磁石を使わない巻線界磁式モータ」
明電時報通巻367号2020No.2 電動車駆動用巻線界磁型同期電動機
電気学会論文集D 120巻11号 平成12年 EV用六相極数切換誘導電動機の円滑な極数切換方法の考察
鹿児島大学工学部研究報告第60号(2018年)「永久磁石可変界磁モータの研究」
令和6年1月11日電気学会東海支部学術講演会「広範囲な運転領域を実現する可変界磁永久磁石同期モータに関する最新の研究動向」
【発明の概要】
【発明が解決しようとする課題】
【0005】
自動車用途で主に使われている同期電動機は、電機子電流の周波数で回転速度が決まる。回転速度が低い発進加速時は過大な電機子電流による銅損の増大と下限回転数の制約が、回転速度が高い高速運転時は周波数が高くなることによる鉄損の増大と電機子反作用による効率低下と上限回転数の制約がある。自動車の運用形態から、発進加速時や低速運転時の運動性能に重点を置いたギア比設定となるため、高速運転時の電力効率の低下による航続距離の低下、燃費・電費の低下という問題が顕在化して来た。
【課題を解決するための手段】
【0006】
同期電動機は、極数によってトルク乗数等の特性が変わる。具体的には、○トルク乗数Krは極数pの1/2乗に比例して変化する。○電機子電圧係数Kvは極数pの1/2乗に比例して変化する。○回転数R[rpm]と電源周波数f[Hz]の関係は極数pに反比例して変化する。(R[rpm]=60×f[Hz]×2/p)。電動機のトルクτはトルク乗数krと電機子電流Iaの積で与えられるので、低速時に極数pを増やしてトルク乗数を大きくすれば銅損の問題が解決できそうである。高速時に極数pを減らして周波数fを下げれば鉄損の問題が解決できそうである。図1の表に巻線界磁型同期電動機の極数と運転モード(低速・中速・高速)における電機子電流・電圧・周波数・トルクの関係をまとめ、各々の運転モードにおける極数の得失比較を行った。図1の表の総合判定結果から8極電動機の場合、低速・中速では電力効率に問題ないものの高速では弱め磁束制御を行って電機子反作用の問題を解消しても電力効率の問題が残ることが判る。そこで極数切換という方法で、低速では極数を増やして電動機のトルク乗数を上げることにより電機子に供給する交流電流の電流値が下げて銅損を減らし、高速では極数を減らして電機子に供給する交流電流の電圧及び周波数を下げることにより、高速回転時の損失(鉄損が主体)を減らす、という解決策が考えられる。極数切換えで低速から高速までの広い速度範囲で同期電動機の電力効率の向上が期待できる。
【0007】
同期電動機の極数切り換えを行うには、電機子と界磁、両方の極数を同時に切り換えなければならない。自動車の運転性能に照らして考えると、自動車の運転中に、可能な限り短い時間で、大きな衝撃、振動を発することなく、極数切り換えを行なわなければならない。電機子については多相の電機子巻線を持った同期電動機の極数を電子制御的に切り換える方法で、界磁については多極の界磁磁極を持った同期電動機の極数を電子制御的に切り換える方法で、同期電動機の極数切り換えを具現化する。
【0008】
0007項で述べた方法による同期電動機の変速は、1)回転速度の大きさにより極数切換指令を発する極数切換指令工程と、2)極数切換指令工程からの極数切換指令を受けて同期電動機の電機子電流の相数を切り換えることにより電機子の極数を切り換える電機子極数切換工程と、3)極数切換指令工程からの極数切換指令を受けて同期電動機の界磁巻線の電流の向きと大きさを制御することにより界磁の極数を切り換える界磁極数切換工程と、4)電機子極数切換工程からの電機子電流及び界磁極数切換工程からの界磁電流を電機子巻線及び界磁巻線に導く同期電動機の電機子巻線及び界磁巻線接続工程、以上4つの工程により具現化できる。
【0009】
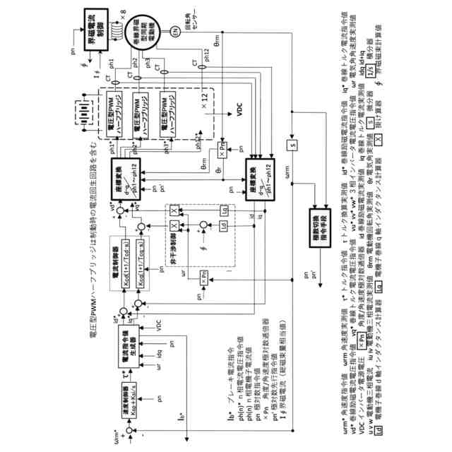
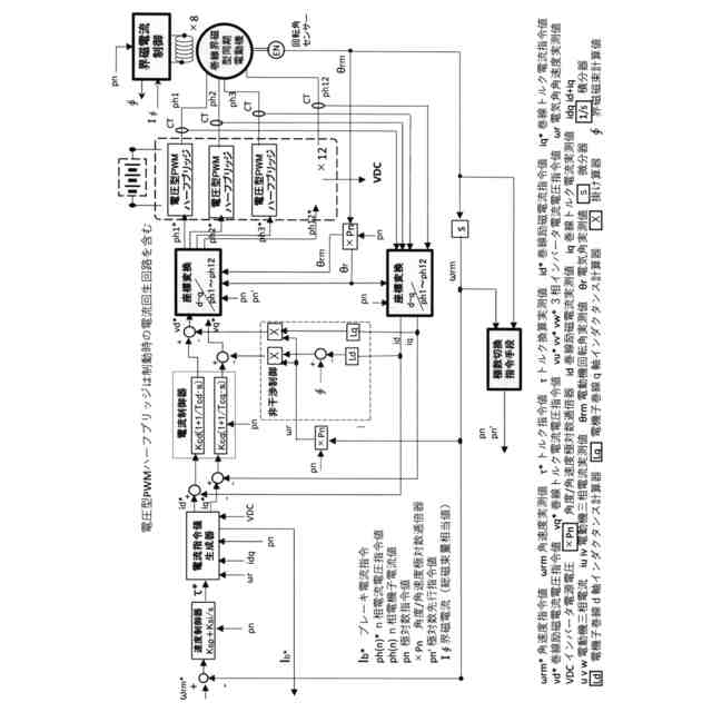
0008項で述べた方法で同期電動機の変速を具現化するため、図2に従前の同期電動機及び駆動制御装置に追加又は変更する手段を示した。その手段は、電機子巻線及び界磁巻線接続工程として1)多相の電機子巻線が各々の相毎に集線され電機子極数切換工程に接続された電機子巻線接続手段、及び各々の界磁巻線が界磁巻線の数プラス1個の数の摺動子を通して界磁極数切換工程に接続された界磁巻線接続手段と、電機子極数切換工程として2)従来の3相交流波形を発出する座標変換演算手段に代えて多相の電機子電流の相数と極数の切り換え機能を持った座標変換演算手段と、界磁極数切換工程として3)巻線界磁型同期電動機の界磁巻線により生成される界磁が前述電機子電流による磁界の空間ベクトルと位相が相似になるよう一つ一つの界磁巻線の直流電流の向きと大きさを制御する界磁電流制御手段と、極数切換指令工程として4)マイクロプロセッサを用いて電動機の回転速度から判断し前述回転座標変換演算手段、界磁電流制御手段、その他の制御手段に極数切り換え指令を発出することにより全体を統括制御する極数切換指令手段、である。
【0010】
電機子電流の相数と電機子の極数の関係について述べる。例えばモータ軸1回転で30度間隔に12相の電機子巻線がある場合、相数phと極数pの関係は次の通り。相数ph×極数p/2=12、つまり12相の電機子巻線を持った同期電動機を用いると、相数切り換えにより3相8極、6相4極、12相2極 の3段階の速度切換えが可能となる。機械角(モータ軸の回転角)θrmに対する電気角(交流波形の位相角)θrの比は、θr=θrm×p/2 機械角速度(モータ軸の回転角速度)ωrmに対する電気角速度(交流波形の位相角速度)ωrの比は、ωr=ωrm×p/2 更に24相の電機子巻線を持った同期電動機(モータ軸1回転で15度間隔に24相の電機子巻線がある)では、相数ph×極数p/2=24、つまり3相16極、6相8極、12相4極、24相2極 の4段階の速度切換えが可能となる。
(【0011】以降は省略されています)
この特許をJ-PlatPat(特許庁公式サイト)で参照する
関連特許
個人
高圧電気機器の開閉器
18日前
個人
電気を重力で発電装置
1か月前
キヤノン電子株式会社
モータ
1か月前
キヤノン電子株式会社
モータ
1か月前
トヨタ自動車株式会社
モータ
1か月前
株式会社アイドゥス企画
減反モータ
18日前
株式会社デンソー
端子台
11日前
株式会社デンソー
回転電機
2日前
株式会社ダイヘン
送配電装置
2日前
ローム株式会社
半導体集積回路
9日前
株式会社不二越
空冷式油圧装置
2日前
富士電機株式会社
電力変換装置
2日前
本田技研工業株式会社
回転電機
4日前
富士電機株式会社
電力変換装置
2日前
株式会社日立製作所
回転電機
9日前
矢崎総業株式会社
電源回路
17日前
矢崎総業株式会社
給電装置
10日前
株式会社TMEIC
制御装置
10日前
大和ハウス工業株式会社
敷設用機器
10日前
株式会社イノコンバンク
無線給電システム
2日前
個人
非対称鏡像力を有する4層PWB電荷搬送体
25日前
日産自動車株式会社
ロータシャフト
25日前
トヨタ自動車株式会社
ステータの製造装置
1か月前
ローム株式会社
モータドライバ回路
25日前
日産自動車株式会社
ロータシャフト
25日前
トヨタ自動車株式会社
可変界磁ロータ
1か月前
株式会社アイシン
電力変換装置
1か月前
京商株式会社
模型用非接触電力供給システム
18日前
サンデン株式会社
モータ
3日前
サンデン株式会社
モータ
3日前
個人
電線盗難防止方法及び電線盗難防止装置
1か月前
株式会社土井製作所
ケーブル保護管路
9日前
株式会社マキタ
電動作業機
1か月前
株式会社TMEIC
電力変換装置
10日前
Astemo株式会社
充電制御装置
9日前
ニデック株式会社
回転電機
1か月前
続きを見る
他の特許を見る