TOP
|
特許
|
意匠
|
商標
特許ウォッチ
Twitter
他の特許を見る
公開番号
2025166416
公報種別
公開特許公報(A)
公開日
2025-11-06
出願番号
2024070437
出願日
2024-04-24
発明の名称
ステータの製造装置
出願人
トヨタ自動車株式会社
代理人
個人
主分類
H02K
15/085 20060101AFI20251029BHJP(電力の発電,変換,配電)
要約
【課題】本開示により、モータの高効率化を実現可能なステータの製造装置を提供できる。
【解決手段】本開示に係るステータの製造装置は、一対の治具を有するステータの製造装置であって、一対の治具のそれぞれに、U字型のセグメントコイルを係合する係合部を備え、セグメントコイルのコイルエンド部に対して、一対の治具を挿入し、一方の治具の係合部を、コイルエンド部の外周側から内周側に向かってスライドさせ、他方の治具の係合部をコイルエンド部の内周側から外周側に向かってスライドさせて、異なるセグメントコイルのコイルエンド部を近づけながら、接合する、ステータの製造装置。
【選択図】図1
特許請求の範囲
【請求項1】
一対の治具を有するステータの製造装置であって、
一対の治具のそれぞれに、U字型のセグメントコイルを係合する係合部を備え、
前記セグメントコイルのコイルエンド部に対して、一対の治具を挿入し、
一方の治具の係合部を、前記コイルエンド部の外周側から内周側に向かってスライドさせ、他方の治具の係合部を前記コイルエンド部の内周側から外周側に向かってスライドさせて、異なるセグメントコイルのコイルエンド部を近づけながら、接合する、
ステータの製造装置。
発明の詳細な説明
【技術分野】
【0001】
本開示は、ステータの製造装置に関する。
続きを表示(約 1,200 文字)
【背景技術】
【0002】
特許文献1には、ステータに挿入されたセグメントコイルの端部を溶接する前にクランプスするクランプ治具が開示されている。
【先行技術文献】
【特許文献】
【0003】
国際公開第2017/159865号
【発明の概要】
【発明が解決しようとする課題】
【0004】
ここで、モータの高効率化のために、ステータの端面からコイルエンド部までの距離を短くする必要がある。上述した特許文献1に開示されたクランプ治具では、捻り成形によって形成されたセグメントコイルの湾曲部からコイルエンド部までの距離が短いと、溶接する際に、クランプ治具とセグメントコイルが溶着する虞がある。そのため、ステータの端面からコイルエンド部までの距離を短くできず、モータの高効率化に劣る。
【0005】
本開示は、このような事情に鑑みなされたものであって、モータの高効率化が可能なステータの製造装置を提供する。
【課題を解決するための手段】
【0006】
本開示に係るステータの製造装置は、
一対の治具を有するステータの製造装置であって、
一対の治具のそれぞれに、U字型のセグメントコイルを係合する係合部を備え、
前記セグメントコイルのコイルエンド部に対して、一対の治具を挿入し、
一方の治具の係合部を、前記コイルエンド部の外周側から内周側に向かってスライドさせ、他方の治具の係合部を前記コイルエンド部の内周側から外周側に向かってスライドさせて、異なるセグメントコイルのコイルエンド部を近づけながら、接合する。
【発明の効果】
【0007】
本開示により、モータの高効率化を実現可能なステータの製造装置を提供できる。
【図面の簡単な説明】
【0008】
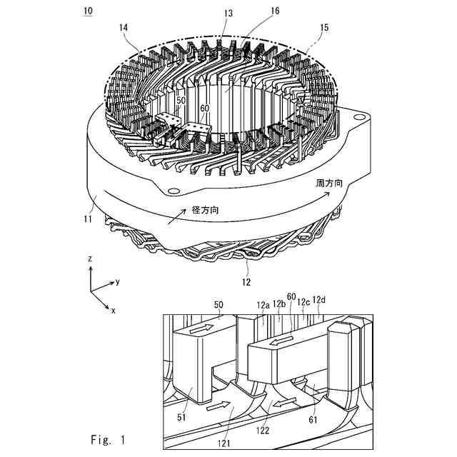
ステータの斜視図及び拡大図である。
実施形態1に係るステータの製造装置の斜視図である。
実施形態1に係るステータの製造方法のフローチャートを示した図である。
【発明を実施するための形態】
【0009】
以下、図面を参照して本開示の実施の形態について説明する。各図面において、同一又は対応する要素には同一の符号が付されており、説明の明確化のため、必要に応じて重複説明は省略される。また、図面が煩雑にならないように、いくつかの符号は省略されている。
なお、当然のことながら、図面に示した右手系xyz直交座標は、構成要素の位置関係を説明するための便宜的なものである。通常、z軸正向きが鉛直上向き、xy平面が水平面である。
【0010】
(実施形態1)
<ステータ>
まず、図1を参照しながら、ステータについて説明する。図1は、ステータの斜視図及び拡大図である。図1の上段がステータの斜視図である。図1の下段がステータの拡大図である。
(【0011】以降は省略されています)
この特許をJ-PlatPat(特許庁公式サイト)で参照する
関連特許
トヨタ自動車株式会社
車両
24日前
トヨタ自動車株式会社
車両
10日前
トヨタ自動車株式会社
車体
1か月前
トヨタ自動車株式会社
方法
1か月前
トヨタ自動車株式会社
電池
1か月前
トヨタ自動車株式会社
電池
1日前
トヨタ自動車株式会社
方法
1か月前
トヨタ自動車株式会社
電池
1日前
トヨタ自動車株式会社
方法
1か月前
トヨタ自動車株式会社
治具
1か月前
トヨタ自動車株式会社
車両
1か月前
トヨタ自動車株式会社
車両
1か月前
トヨタ自動車株式会社
電池
9日前
トヨタ自動車株式会社
配管
10日前
トヨタ自動車株式会社
車両
1か月前
トヨタ自動車株式会社
電池
1か月前
トヨタ自動車株式会社
車両
1か月前
トヨタ自動車株式会社
電池
15日前
トヨタ自動車株式会社
車両
1か月前
トヨタ自動車株式会社
方法
1か月前
トヨタ自動車株式会社
車両
9日前
トヨタ自動車株式会社
車両
1か月前
トヨタ自動車株式会社
電池
24日前
トヨタ自動車株式会社
車両
23日前
トヨタ自動車株式会社
方法
23日前
トヨタ自動車株式会社
車両
23日前
トヨタ自動車株式会社
車体
23日前
トヨタ自動車株式会社
モータ
1か月前
トヨタ自動車株式会社
電動機
1か月前
トヨタ自動車株式会社
自動車
1か月前
トヨタ自動車株式会社
電動車
10日前
トヨタ自動車株式会社
電動車
9日前
トヨタ自動車株式会社
蓄電池
23日前
トヨタ自動車株式会社
ロータ
10日前
トヨタ自動車株式会社
モータ
1か月前
トヨタ自動車株式会社
正極層
1か月前
続きを見る
他の特許を見る