TOP
|
特許
|
意匠
|
商標
特許ウォッチ
Twitter
他の特許を見る
公開番号
2025159361
公報種別
公開特許公報(A)
公開日
2025-10-21
出願番号
2024061822
出願日
2024-04-08
発明の名称
車体
出願人
トヨタ自動車株式会社
,
太平洋工業株式会社
代理人
弁理士法人YKI国際特許事務所
主分類
B62D
27/00 20060101AFI20251014BHJP(鉄道以外の路面車両)
要約
【課題】樹脂製の外板の熱伸びによる見栄えの低下や他の部品との干渉を抑制する。
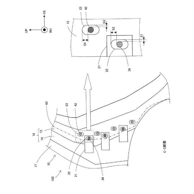
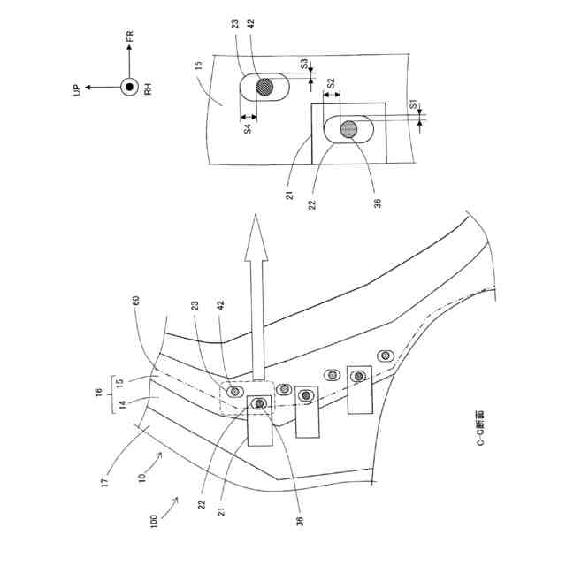
【解決手段】ボデー10と、樹脂製のクォータパネルと、ドアと、を備える車体100であって、クォータパネルに設けられた位置決めピン36と、ボデー10に設けられて位置決めピン36が挿通される挿通孔22と、を備え、挿通孔22と位置決めピン36の横隙間S1は、クォータパネルとドアとの境界線60の幅よりも小さく、挿通孔22と位置決めピン36の縦隙間S2は、横隙間S1よりも大きい。
【選択図】図5
特許請求の範囲
【請求項1】
金属製のボデーと、
前記ボデーに取付けられる樹脂製の外板と、
前記外板に隣接するように前記ボデーに取付けられる隣接部材と、を備える車体であって、
前記ボデーと前記外板の一方に設けられた位置決めピンと、
前記ボデーと前記外板の他方に設けられて前記位置決めピンが挿通される挿通孔と、を備え、
前記位置決めピンは、前記外板と前記隣接部材との境界線に沿って配置され、
前記挿通孔と前記位置決めピンの前記境界線の延びる方向と交差する方向の横隙間は、前記外板と前記隣接部材との前記境界線の幅よりも小さく、
前記挿通孔と前記位置決めピンの前記境界線の延びる方向の縦隙間は、前記横隙間よりも大きいこと、
を特徴とする車体。
続きを表示(約 750 文字)
【請求項2】
請求項1に記載の車体であって、
前記位置決めピンは前記外板に設けられており、
前記挿通孔は前記ボデー、又は前記ボデーに取付けられたブラケットに設けられていること、
を特徴とする車体。
【請求項3】
請求項2に記載の車体であって、
前記外板に取り付けられたクリップと、
前記ボデーに設けられて前記クリップが挿通されるクリップ挿通孔と、を備え、
前記クリップは、前記外板と前記隣接部材との前記境界線に沿って配置され、
前記クリップ挿通孔と前記クリップの前記境界線の延びる方向と交差する方向の横クリップ隙間は、前記外板と前記隣接部材との前記境界線の幅よりも小さく、
前記クリップ挿通孔と前記クリップの前記境界線の延びる方向の縦クリップ隙間は、前記横クリップ隙間よりも大きいこと、
を特徴とする車体。
【請求項4】
請求項3に記載の車体であって、
前記位置決めピンと前記クリップとは、前記境界線に沿って交互に配置されていること、
を特徴とする車体。
【請求項5】
請求項3又は4に記載の車体であって、
前記外板は前記ボデーの側部に設けられる意匠パネルであり、
前記隣接部材は前記ボデーに取付けられたドアであり、
前記意匠パネルと前記ドアとは車両前後方向に並べて配置され、
前記横隙間と前記横クリップ隙間とは、車両前後方向の隙間であり、
前記縦隙間と前記縦クリップ隙間とは、車両上下方向の隙間であり、
前記挿通孔と前記クリップ挿通孔とは、車両上下方向に延びる長孔であること、
を特徴とする車体。
発明の詳細な説明
【技術分野】
【0001】
本発明は、金属製のボデーと、ボデーに取付けられる樹脂製の外板と、外板に隣接するようにボデーに取付けられる隣接部材と、を備える車体の構造に関する。
続きを表示(約 1,100 文字)
【背景技術】
【0002】
特許文献1には、位置決めピンを配置し、金属製のフロントフェンダーパネルに対する樹脂製のガーニッシュの位置精度を確保する構造が開示されている。
【先行技術文献】
【特許文献】
【0003】
特開2018-144618号公報
【発明の概要】
【発明が解決しようとする課題】
【0004】
樹脂製の部品は金属製のボデーよりも熱伸びが大きい。このため、金属製のボデーに樹脂製の部品を取り付ける際には、特許文献1に記載されたような位置精度を確保する構造が必要となる。
【0005】
一方、近年、金属製のホデーに樹脂製の外板を取り付けた車体が検討されている。樹脂製の外板は、特許文献1に記載の樹脂製のガーニッシュよりもサイズが大きく、熱伸びの絶対量がガーニッシュよりも大きくなる。このため、熱伸びによる見栄えの低下や、外板に隣接する隣接部材との干渉が発生するおそれがある。
【0006】
そこで、本開示は、樹脂製の外板の熱伸びによる見栄えの低下や他の部品との干渉を抑制することを目的とする。
【課題を解決するための手段】
【0007】
本開示の車体は、金属製のボデーと、前記ボデーに取付けられる樹脂製の外板と、前記外板に隣接するように前記ボデーに取付けられる隣接部材と、を備える車体であって、前記ボデーと前記外板の一方に設けられた位置決めピンと、前記ボデーと前記外板の他方に設けられて前記位置決めピンが挿通される挿通孔と、を備え、前記位置決めピンは、前記外板と前記隣接部材との境界線に沿って配置され、前記挿通孔と前記位置決めピンの前記境界線の延びる方向と交差する方向の横隙間は、前記外板と前記隣接部材との前記境界線の幅よりも小さく、前記挿通孔と前記位置決めピンの前記境界線の延びる方向の縦隙間は、前記横隙間よりも大きいこと、を特徴とする。
【0008】
これにより、熱伸びにより、樹脂製の外板が境界線に対して交差する方向に移動することを抑制でき、他の部品との境界線の幅が変化することを抑制できる。このため、境界線の幅が変化して見栄えが低下することや、外板が他の部品に干渉することを抑制できる。また、縦隙間が横隙間よりも長いので、縦隙間により外板の熱伸びを吸収することができる。
【0009】
本開示の車体において、前記位置決めピンは前記外板に設けられており、前記挿通孔は前記ボデー、又は前記ボデーに取付けられたブラケットに設けられてもよい。
【0010】
これにより、位置決めピンを樹脂の一体成型で構成することができ、構造を簡便にすることができる。
(【0011】以降は省略されています)
この特許をJ-PlatPat(特許庁公式サイト)で参照する
関連特許
トヨタ自動車株式会社
治具
14日前
トヨタ自動車株式会社
車両
6日前
トヨタ自動車株式会社
車両
7日前
トヨタ自動車株式会社
車体
6日前
トヨタ自動車株式会社
方法
6日前
トヨタ自動車株式会社
車両
13日前
トヨタ自動車株式会社
車両
13日前
トヨタ自動車株式会社
車両
15日前
トヨタ自動車株式会社
電池
7日前
トヨタ自動車株式会社
車両
6日前
トヨタ自動車株式会社
蓄電池
6日前
トヨタ自動車株式会社
モータ
5日前
トヨタ自動車株式会社
推定装置
5日前
トヨタ自動車株式会社
路側装置
5日前
トヨタ自動車株式会社
路側装置
5日前
トヨタ自動車株式会社
路側装置
5日前
トヨタ自動車株式会社
電池装置
15日前
トヨタ自動車株式会社
電動車両
5日前
トヨタ自動車株式会社
鋳造装置
5日前
トヨタ自動車株式会社
路側装置
5日前
トヨタ自動車株式会社
蓄電装置
14日前
トヨタ自動車株式会社
電動車両
6日前
トヨタ自動車株式会社
樹脂外板
6日前
トヨタ自動車株式会社
電動車両
5日前
トヨタ自動車株式会社
制御装置
5日前
トヨタ自動車株式会社
濾過装置
7日前
トヨタ自動車株式会社
蓄電装置
13日前
トヨタ自動車株式会社
蓄電装置
13日前
トヨタ自動車株式会社
電源装置
14日前
トヨタ自動車株式会社
蓄電装置
5日前
トヨタ自動車株式会社
制御装置
5日前
トヨタ自動車株式会社
蓄電装置
13日前
トヨタ自動車株式会社
全固体電池
13日前
トヨタ自動車株式会社
サーバ装置
13日前
トヨタ自動車株式会社
電池パック
6日前
トヨタ自動車株式会社
電池パック
13日前
続きを見る
他の特許を見る