TOP
|
特許
|
意匠
|
商標
特許ウォッチ
Twitter
他の特許を見る
公開番号
2025173613
公報種別
公開特許公報(A)
公開日
2025-11-28
出願番号
2024079227
出願日
2024-05-15
発明の名称
蓄電装置
出願人
トヨタ自動車株式会社
代理人
弁理士法人深見特許事務所
主分類
H01M
50/317 20210101AFI20251120BHJP(基本的電気素子)
要約
【課題】圧力開放弁を通じたガスの排出後におけるケース内での急速な燃焼を抑制することが可能な蓄電装置を提供すること。
【解決手段】蓄電装置1は、複数の第1蓄電スタック110と、複数の第2蓄電スタック120と、ケースと、第1圧力開放弁610と、第2圧力開放弁620と、第1呼吸膜710と、第2呼吸膜720と、を備える。ケースは、第1収容室S10と、第2収容室S20と、遮断する遮断壁516と、を有する。第1圧力開放弁610及び第1呼吸膜710は、第1収容室S10に設けられている。第2圧力開放弁620及び第2呼吸膜720は、第2収容室S20に設けられている。
【選択図】図3
特許請求の範囲
【請求項1】
第1方向に沿って並ぶように配置された複数の第1蓄電スタックと、
前記第1方向及び上下方向との双方と直交する第2方向に前記複数の第1蓄電スタックと対向し、かつ、前記第1方向に沿って並ぶように配置された複数の第2蓄電スタックと、
前記複数の第1蓄電スタック及び前記複数の第2蓄電スタックを収容するケースと、
前記ケースに設けられた第1圧力開放弁と、
前記ケースに設けられた第2圧力開放弁と、
前記ケースに設けられた第1呼吸膜と、
前記ケースに設けられた第2呼吸膜と、を備え、
前記ケースは、
前記複数の第1蓄電スタックを収容する第1収容室と、
前記複数の第2蓄電スタックを収容する第2収容室と、
前記第1収容室を前記第2収容室から遮断する遮断壁と、を有し、
前記第1圧力開放弁及び前記第1呼吸膜は、前記第1収容室に設けられており、
前記第2圧力開放弁及び前記第2呼吸膜は、前記第2収容室に設けられている、蓄電装置。
続きを表示(約 770 文字)
【請求項2】
前記第1収容室内に配置された第1ジャンクションボックスと、
前記第2収容室内に配置された第2ジャンクションボックスと、をさらに備え、
前記第1収容室は、前記第1方向における前記複数の第1蓄電スタックの一方側に第1空間を規定する第1規定部を有し、
前記第2収容室は、前記第1方向における前記複数の第2蓄電スタックの一方側で、かつ、前記遮断壁を挟んで前記第2方向に前記第1空間と対向する位置に第2空間を規定する第2規定部を有し、
前記第1ジャンクションボックスは、前記第1空間に配置されており、
前記第2ジャンクションボックスは、前記第2空間に配置されており、
前記第1圧力開放弁及び前記第1呼吸膜は、前記第1規定部に設けられており、
前記第2圧力開放弁及び前記第2呼吸膜は、前記第2規定部に設けられている、請求項1に記載の蓄電装置。
【請求項3】
前記第1収容室内のうち前記複数の第1蓄電スタックと前記第1方向に対向する位置に配置された第1ジャンクションボックスと、
前記第2収容室内のうち前記複数の第2蓄電スタックと前記第1方向に対向し、かつ、前記遮断壁を挟んで前記第2方向に前記第1ジャンクションボックスと対向する位置に配置された第2ジャンクションボックスと、をさらに備え、
前記第1圧力開放弁及び前記第1呼吸膜は、前記第1収容室のうち前記第1方向において前記第1ジャンクションボックスが配置された側とは反対側の部位に設けられており、
前記第2圧力開放弁及び前記第2呼吸膜は、前記第2収容室のうち前記第1方向において前記第2ジャンクションボックスが配置された側とは反対側の部位に設けられている、請求項1に記載の蓄電装置。
発明の詳細な説明
【技術分野】
【0001】
本開示は、蓄電装置に関する。
続きを表示(約 1,500 文字)
【背景技術】
【0002】
例えば、特開2023-47012号公報には、複数の電池セルと、複数の電池セルを収容するケースと、ケースに設けられた圧力開放弁と、ケースに設けられた呼吸膜と、を備える電池パックが開示されている。ケースは、ロアケースとアッパーカバーとを有している。圧力開放弁は、アッパーカバーに設けられており、呼吸膜は、ロアケースの側壁部に設けられている。
【先行技術文献】
【特許文献】
【0003】
特開2023-47012号公報
【発明の概要】
【発明が解決しようとする課題】
【0004】
特開2023-47012号公報に記載される電池パックでは、いずれかの電池セルからガスが発生し、ケース内の圧力が基準値に達すると、圧力開放弁を通じてガスが排出される。このとき、ガスはケース内に広がるため、複数の電池セルのうちガスを発生させていない電池セルにもガスが接触する。
【0005】
本開示の目的は、ガスに接触する蓄電セルの数を減らすことが可能な蓄電装置を提供することである。
【課題を解決するための手段】
【0006】
本開示の一局面に従った蓄電装置は、第1方向に沿って並ぶように配置された複数の第1蓄電スタックと、前記第1方向及び上下方向との双方と直交する第2方向に前記複数の第1蓄電スタックと対向し、かつ、前記第1方向に沿って並ぶように配置された複数の第2蓄電スタックと、前記複数の第1蓄電スタック及び前記複数の第2蓄電スタックを収容するケースと、前記ケースに設けられた第1圧力開放弁と、前記ケースに設けられた第2圧力開放弁と、前記ケースに設けられた第1呼吸膜と、前記ケースに設けられた第2呼吸膜と、を備え、前記ケースは、前記複数の第1蓄電スタックを収容する第1収容室と、前記複数の第2蓄電スタックを収容する第2収容室と、前記第1収容室を前記第2収容室から遮断する遮断壁と、を有し、前記第1圧力開放弁及び前記第1呼吸膜は、前記第1収容室に設けられており、前記第2圧力開放弁及び前記第2呼吸膜は、前記第2収容室に設けられている。
【発明の効果】
【0007】
本開示によれば、ガスに接触する蓄電セルの数を減らすことが可能な蓄電装置を提供することができる。
【図面の簡単な説明】
【0008】
本開示の一実施形態における蓄電装置を概略的に示す斜視図である。
図1に示される蓄電装置からアッパーカバーが取り外された状態を概略的に示す斜視図である。
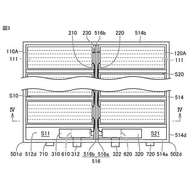
蓄電装置からアッパーカバーが取り外された状態を概略的に示す平面図である。
図3におけるIV-IV線での断面図である。
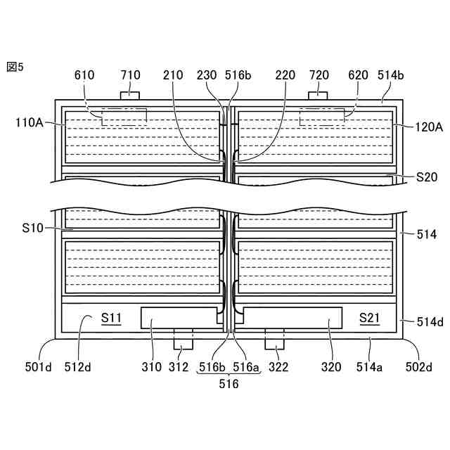
蓄電装置の変形例を概略的に示す図である。
蓄電装置の変形例を概略的に示す図である。
【発明を実施するための形態】
【0009】
本開示の実施形態について、図面を参照して説明する。なお、以下で参照する図面では、同一又はそれに相当する部材には、同じ番号が付されている。
【0010】
図1は、本開示の一実施形態における蓄電装置を概略的に示す斜視図である。図2は、図1に示される蓄電装置からアッパーカバーが取り外された状態を概略的に示す斜視図である。図3は、蓄電装置からアッパーカバーが取り外された状態を概略的に示す平面図である。図4は、図3におけるIV-IV線での断面図である。この蓄電装置1は、例えば、車両の底部に搭載される。
(【0011】以降は省略されています)
この特許をJ-PlatPat(特許庁公式サイト)で参照する
関連特許
大電株式会社
電線又はケーブル
今日
ウシオ電機株式会社
半導体レーザ素子
今日
三菱電機株式会社
半導体装置の製造方法
今日
株式会社半導体エネルギー研究所
二次電池の作製方法
今日
矢崎総業株式会社
充電インレット
今日
キヤノン株式会社
発光装置
今日
京セラ株式会社
積層セラミック電子部品の製造方法
今日
トヨタ自動車株式会社
蓄電装置
今日
トヨタ自動車株式会社
蓄電装置
今日
トヨタ自動車株式会社
電池
今日
トヨタ自動車株式会社
蓄電装置
今日
トヨタ自動車株式会社
蓄電装置
今日
トヨタ自動車株式会社
蓄電装置
今日
トヨタ自動車株式会社
蓄電装置
今日
トヨタ自動車株式会社
電池
今日
トヨタ自動車株式会社
蓄電装置
今日
ダイヤゼブラ電機株式会社
点火コイルおよび点火装置
今日
トヨタ自動車株式会社
蓄電装置
今日
株式会社プロテリアル
ケーブル
今日
日産自動車株式会社
パワー半導体モジュール
今日
株式会社SUBARU
加湿システム
今日
株式会社SCREENホールディングス
基板処理装置
今日
株式会社SCREENホールディングス
基板処理装置
今日
キヤノン株式会社
発光装置及び測距装置
今日
株式会社SCREENホールディングス
基板処理方法
今日
栗田工業株式会社
洗浄水製造装置及び洗浄水製造方法
今日
トヨタ自動車株式会社
アイオノマー
今日
トヨタ自動車株式会社
蓄電装置及び車両
今日
三菱マテリアル株式会社
硫化物固体電解質
今日
矢崎総業株式会社
電池モジュール
今日
株式会社高橋工業
端子台用接続装置
今日
トヨタ自動車株式会社
アイオノマー
今日
旭化成株式会社
非水系二次電池
今日
東京エレクトロン株式会社
基板処理方法及び基板処理装置
今日
愛三工業株式会社
燃料電池システム
今日
ローム株式会社
半導体装置、および半導体装置の製造方法
今日
続きを見る
他の特許を見る