TOP
|
特許
|
意匠
|
商標
特許ウォッチ
Twitter
他の特許を見る
公開番号
2025174019
公報種別
公開特許公報(A)
公開日
2025-11-28
出願番号
2024080005
出願日
2024-05-16
発明の名称
蓄電装置及び車両
出願人
トヨタ自動車株式会社
代理人
弁理士法人深見特許事務所
主分類
H01M
50/271 20210101AFI20251120BHJP(基本的電気素子)
要約
【課題】冷却器からの冷却媒体の漏出に起因する短絡の発生を抑制することが可能な蓄電装置を提供すること。
【解決手段】蓄電装置10は、少なくとも1つの蓄電セルと、少なくとも1つの蓄電セルを冷却する冷却器200と、少なくとも1つの蓄電セルの上方に配置されたアッパーカバー320と、を備える。冷却器200は、アッパーカバーの上面に配置されており、かつ、アッパーカバーの上面を介して少なくとも1つの蓄電セルに熱的に接触している。冷却器200は、車室の床部30の少なくとも一部を構成することが可能に構成されている。
【選択図】図4
特許請求の範囲
【請求項1】
少なくとも1つの蓄電セルと、
前記少なくとも1つの蓄電セルを冷却する冷却器と、
前記少なくとも1つの蓄電セルの上方に配置されたアッパーカバーと、を備え、
前記冷却器は、前記アッパーカバーの上面に配置されており、かつ、前記アッパーカバーの前記上面を介して前記少なくとも1つの蓄電セルに熱的に接触しており、
前記冷却器は、車室の床部の少なくとも一部を構成することが可能に構成されている、蓄電装置。
続きを表示(約 930 文字)
【請求項2】
上方に開口しており、前記アッパーカバーとともに前記少なくとも1つの蓄電セルを収容するロアケースであって、前記少なくとも1つの蓄電セルの下方に位置する底面を含む前記ロアケースと、
前記ロアケースの前記底面と前記少なくとも1つの蓄電セルとの間に設けられており、前記ロアケースの前記底面とともに空間を形成する空間形成部材と、をさらに備え、
前記少なくとも1つの蓄電セルは、
電極体と、
前記電極体を収容するセルケースと、
前記セルケースの下面に設けられた安全弁と、を有し、
前記空間形成部材は、前記安全弁の下方に設けられた貫通孔を有する、請求項1に記載の蓄電装置。
【請求項3】
前記少なくとも1つの蓄電セルは、複数の蓄電セルを含み、
各前記蓄電セルは、前記電極体に電気的に接続された外部端子をさらに有し、
前記外部端子は、前記複数の蓄電セルが並ぶ第1方向と上下方向との双方と直交する第2方向における前記セルケースの側面に設けられている、請求項2に記載の蓄電装置。
【請求項4】
前記セルケースの上面と対向する対向部材をさらに備え、
前記セルケースの前記上面は、
前記アッパーカバーと直接又は間接的に接触する接触面と、
前記第2方向における前記接触面の外側に形成されており、前記アッパーカバーから離間した離間面と、を含み、
前記対向部材は、前記離間面から水分が前記第2方向に向かうのを阻止する堰部を含む、請求項3に記載の蓄電装置。
【請求項5】
前記アッパーカバーの上方に設けられたジャンクションボックスをさらに備え、
前記冷却器は、前記少なくとも1つの蓄電セル及び前記ジャンクションボックスの双方に熱的に接触している、請求項1に記載の蓄電装置。
【請求項6】
請求項1に記載の蓄電装置と、
車両本体と、を備え、
前記蓄電装置は、前記車両本体に取り付けられており、
前記冷却器は、前記車両本体の車室の床部の少なくとも一部を構成している、車両。
発明の詳細な説明
【技術分野】
【0001】
本開示は、蓄電装置及び車両に関する。
続きを表示(約 1,100 文字)
【背景技術】
【0002】
例えば、特表2022-525014号公報には、複数の単電池と、収容装置と、を備える動力電池パックが開示されている。各単電池のケースの側面には、外部端子と防爆弁とが設けられている。複数の単電池の上面に、冷却構造を有するモジュール天板が配置されている。
【先行技術文献】
【特許文献】
【0003】
特表2022-525014号公報
【発明の概要】
【発明が解決しようとする課題】
【0004】
特表2022-525014号公報に記載される動力電池パックでは、冷却器から冷却媒体が漏れた場合、その冷却媒体が単電池の外部端子に接触することによって短絡が生じる懸念がある。
【0005】
本開示の目的は、冷却器からの冷却媒体の漏出に起因する短絡の発生を抑制することが可能な蓄電装置及び車両を提供することである。
【課題を解決するための手段】
【0006】
本開示の一局面に従った蓄電装置は、少なくとも1つの蓄電セルと、前記少なくとも1つの蓄電セルを冷却する冷却器と、前記少なくとも1つの蓄電セルの上方に配置されたアッパーカバーと、を備え、前記冷却器は、前記アッパーカバーを介して前記少なくとも1つの蓄電セルに熱的に接触するように前記アッパーカバーの上面に配置されており、前記冷却器は、車室の床部の少なくとも一部を形成することが可能に構成されている。
【発明の効果】
【0007】
本開示によれば、冷却器からの冷却媒体の漏出に起因する短絡の発生を抑制することが可能な蓄電装置及び車両を提供することができる。
【図面の簡単な説明】
【0008】
本開示の一実施形態における蓄電装置を備える車両を概略的に示す図である。
蓄電装置及びフレーム部材を概略的に示す斜視図である。
図2におけるIII-III線での断面図である。
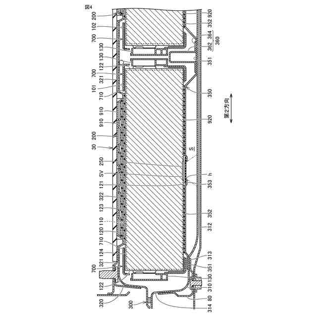
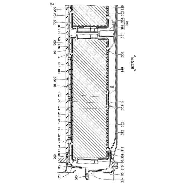
図3におけるIV-IV線での断面図である。
冷却器を概略的に示す平面図である。
図5におけるVI-VI線での断面図である。
【発明を実施するための形態】
【0009】
本開示の実施形態について、図面を参照して説明する。なお、以下で参照する図面では、同一又はそれに相当する部材には、同じ番号が付されている。
【0010】
図1は、本開示の一実施形態における蓄電装置を備える車両を概略的に示す図である。図2は、蓄電装置及びフレーム部材を概略的に示す斜視図である。図3は、図2におけるIII-III線での断面図である。図4は、図3におけるIV-IV線での断面図である。
(【0011】以降は省略されています)
この特許をJ-PlatPat(特許庁公式サイト)で参照する
関連特許
トヨタ自動車株式会社
車両
29日前
トヨタ自動車株式会社
電池
今日
トヨタ自動車株式会社
車両
1か月前
トヨタ自動車株式会社
治具
1か月前
トヨタ自動車株式会社
電池
14日前
トヨタ自動車株式会社
車両
29日前
トヨタ自動車株式会社
方法
22日前
トヨタ自動車株式会社
車両
8日前
トヨタ自動車株式会社
車体
22日前
トヨタ自動車株式会社
配管
9日前
トヨタ自動車株式会社
車両
22日前
トヨタ自動車株式会社
電池
8日前
トヨタ自動車株式会社
車両
23日前
トヨタ自動車株式会社
電池
23日前
トヨタ自動車株式会社
車両
9日前
トヨタ自動車株式会社
車両
22日前
トヨタ自動車株式会社
電池
今日
トヨタ自動車株式会社
電動車
8日前
トヨタ自動車株式会社
ロータ
9日前
トヨタ自動車株式会社
蓄電池
22日前
トヨタ自動車株式会社
モータ
21日前
トヨタ自動車株式会社
電動車
9日前
トヨタ自動車株式会社
モータ
1か月前
トヨタ自動車株式会社
サーバ
1か月前
トヨタ自動車株式会社
エンジン
今日
トヨタ自動車株式会社
制御装置
今日
トヨタ自動車株式会社
蓄電装置
29日前
トヨタ自動車株式会社
蓄電装置
29日前
トヨタ自動車株式会社
蓄電装置
今日
トヨタ自動車株式会社
蓄電装置
今日
トヨタ自動車株式会社
処理装置
今日
トヨタ自動車株式会社
電源装置
1か月前
トヨタ自動車株式会社
監視装置
14日前
トヨタ自動車株式会社
蓄電装置
8日前
トヨタ自動車株式会社
蓄電装置
今日
トヨタ自動車株式会社
蓄電装置
今日
続きを見る
他の特許を見る