TOP
|
特許
|
意匠
|
商標
特許ウォッチ
Twitter
他の特許を見る
公開番号
2025163595
公報種別
公開特許公報(A)
公開日
2025-10-29
出願番号
2024067023
出願日
2024-04-17
発明の名称
電源装置
出願人
トヨタ自動車株式会社
代理人
弁理士法人太陽国際特許事務所
主分類
H01M
50/342 20210101AFI20251022BHJP(基本的電気素子)
要約
【課題】第1蓄電池の内部の圧力が上昇して弁からガスが噴出した場合でも、隣接する蓄電池の内部の圧力が上昇して連鎖的にガスが噴出することが抑制される電源装置の提供。
【解決手段】ニッケルコバルトマンガン系の正極活物質を含むリチウムイオン電池である第1蓄電池と、リン酸鉄系の正極活物質を含むリチウムイオン電池である第2蓄電池と、第1蓄電池及び第2蓄電池を収納する函体と、を備え、函体は、内部に複数のアタッチメントを備え、第1蓄電池及び第2蓄電池はそれぞれアタッチメントに載置され、隣り合う第1蓄電池同士、隣り合う第2蓄電池同士、及び隣り合う第1蓄電池と第2蓄電池は、いずれも互いに離間して配置され、第1蓄電池は、第1蓄電池の内部の圧力が上昇した時に開放され内部のガスを噴出させる弁を有し、ガスは、弁から第2蓄電池の方向または函体の壁の方向に向けて噴出される、電源装置。
【選択図】図1
特許請求の範囲
【請求項1】
ニッケル-コバルト-マンガン系の正極活物質を含むリチウムイオン電池である1つ以上の第1蓄電池と、
リン酸鉄系の正極活物質を含むリチウムイオン電池である1つ以上の第2蓄電池と、
前記第1蓄電池及び前記第2蓄電池を収納する函体と、を備え、
前記函体は、内部に複数のアタッチメントを備え、
前記第1蓄電池及び前記第2蓄電池はそれぞれ前記アタッチメントに載置され、
隣り合う前記第1蓄電池同士、隣り合う前記第2蓄電池同士、及び隣り合う前記第1蓄電池と前記第2蓄電池は、いずれも互いに離間して配置され、
前記第1蓄電池は、前記第1蓄電池の内部の圧力が上昇した時に開放され内部のガスを噴出させる弁を有し、
前記ガスは、前記弁から前記第2蓄電池の方向または前記函体の壁の方向に向けて噴出される、電源装置。
発明の詳細な説明
【技術分野】
【0001】
本開示は、電源装置に関する。
続きを表示(約 1,900 文字)
【背景技術】
【0002】
従来から、1つの函体の内部に、2種以上の異なる蓄電池を収納した電源装置が用いられている。
【0003】
例えば、特許文献1には、電池パックケースと、電池パックケースに収容される電池セルとを含み、電池パックケースの内部空間は、第1の領域と第2の領域で構成され、第1の領域に第1の電池セルが配置され、第2の領域に第2の電池セルが配置され、第2の電池セルは、第1の電池セルの周囲を囲んで配列し、第1の電池セルと第2の電池セルは、それぞれ第1の放電電圧プラットフォームと第2の放電電圧プラットフォームを有し、第1の放電電圧プラットフォームの平均放電電圧は、第2の放電電圧プラットフォームの平均放電電圧よりも高く、第1の電池セルと第2の電池セルのそれぞれにおいて、第1の放電電圧プラットフォームに対応する放電容量と第2の放電電圧プラットフォームに対応する放電容量との和が100%である場合、第2の電池セルの第2の放電電圧プラットフォームに対応する放電容量割合は、第1の電池セルの第2の放電電圧プラットフォームに対応する放電容量割合よりも大きい電池パック、が開示されている。
【先行技術文献】
【特許文献】
【0004】
特開2023-547579号公報
【発明の概要】
【発明が解決しようとする課題】
【0005】
従来から、複数の蓄電池が収納された電源装置において、1つの蓄電池に異常が発生して内部の圧力が上昇すると弁から高温のガスが噴出される。さらにこのガスが隣接する蓄電池に向けて噴出されると、隣接する蓄電池も加熱されて内部の圧力が上昇し、この隣接する蓄電池からも連鎖的に高温のガスが噴出されることがあった。このように、電源装置内で1つの蓄電池に異常が生じた際に、複数の蓄電池から連鎖的に高温のガスが噴出することがあった。
【0006】
本開示は、1つの第1蓄電池の内部の圧力が上昇して弁からガスが噴出した場合でも、隣接する蓄電池の内部の圧力が上昇して連鎖的にガスが噴出することが抑制される電源装置を提供することを目的とする。
【課題を解決するための手段】
【0007】
上記課題を解決するための手段は、以下の態様を含む。
<1> ニッケル-コバルト-マンガン系の正極活物質を含むリチウムイオン電池である1つ以上の第1蓄電池と、
リン酸鉄系の正極活物質を含むリチウムイオン電池である1つ以上の第2蓄電池と、
前記第1蓄電池及び前記第2蓄電池を収納する函体と、を備え、
前記函体は、内部に複数のアタッチメントを備え、
前記第1蓄電池及び前記第2蓄電池はそれぞれ前記アタッチメントに載置され、
隣り合う前記第1蓄電池同士、隣り合う前記第2蓄電池同士、及び隣り合う前記第1蓄電池と前記第2蓄電池は、いずれも互いに離間して配置され、
前記第1蓄電池は、前記第1蓄電池の内部の圧力が上昇した時に開放され内部のガスを噴出させる弁を有し、
前記ガスは、前記弁から前記第2蓄電池の方向または前記函体の壁の方向に向けて噴出される、電源装置。
【発明の効果】
【0008】
本開示によれば、1つの第1蓄電池の内部の圧力が上昇して弁からガスが噴出した場合でも、隣接する蓄電池の内部の圧力が上昇して連鎖的にガスが噴出することが抑制される電源装置が提供される。
【図面の簡単な説明】
【0009】
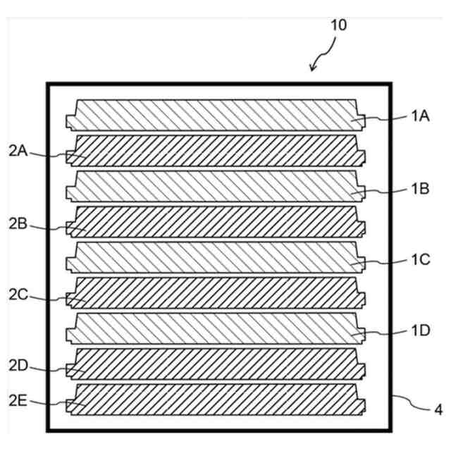
本開示の実施形態に係る電源装置の一例を示す概略断面図である。
【発明を実施するための形態】
【0010】
<電源装置>
本開示の実施形態に係る電源装置は、ニッケル-コバルト-マンガン系の正極活物質を含むリチウムイオン電池である1つ以上の第1蓄電池と、リン酸鉄系の正極活物質を含むリチウムイオン電池である1つ以上の第2蓄電池と、第1蓄電池及び第2蓄電池を収納する函体と、を備える。
函体は、内部に複数のアタッチメントを備え、第1蓄電池及び第2蓄電池はそれぞれアタッチメントに載置される。隣り合う第1蓄電池同士、隣り合う第2蓄電池同士、及び隣り合う第1蓄電池と第2蓄電池は、いずれも互いに離間して配置される。第1蓄電池は、第1蓄電池の内部の圧力が上昇した時に開放され内部のガスを噴出させる弁を有する。
そして、弁から噴出されるガスは、弁から第2蓄電池の方向または函体の壁の方向に向けて噴出される。
(【0011】以降は省略されています)
この特許をJ-PlatPat(特許庁公式サイト)で参照する
関連特許
株式会社GSユアサ
蓄電装置
8日前
三菱電機株式会社
回路遮断器
16日前
富士電機株式会社
電磁接触器
8日前
ホシデン株式会社
複合コネクタ
2日前
住友電装株式会社
コネクタ
8日前
矢崎総業株式会社
コネクタ
8日前
株式会社レゾナック
冷却器
16日前
ヒロセ電機株式会社
電気コネクタ
8日前
ローム株式会社
半導体モジュール
9日前
株式会社デンソー
半導体装置
8日前
日本航空電子工業株式会社
コネクタ
21日前
新電元工業株式会社
半導体装置
8日前
TDK株式会社
電子部品
8日前
矢崎総業株式会社
バスバー電線
1日前
矢崎総業株式会社
バスバー電線
1日前
FDK株式会社
組電池及びその作製方法
18日前
トヨタ自動車株式会社
電池
14日前
日東電工株式会社
パッチアンテナ
1日前
日東電工株式会社
パッチアンテナ
1日前
矢崎総業株式会社
コネクタ
9日前
株式会社村田製作所
インダクタ部品
9日前
株式会社村田製作所
インダクタ部品
9日前
テラル株式会社
磁場発生装置
21日前
トヨタ紡織株式会社
燃料電池システム
2日前
TDK株式会社
コモンモードフィルタ
1日前
アルプスアルパイン株式会社
入力装置
2日前
株式会社アイシン
ヒートシンク
21日前
株式会社AESCジャパン
電池及び電気装置
8日前
ニチコン株式会社
金属化フィルムコンデンサ
16日前
株式会社アルバック
プラズマ処理装置
8日前
矢崎総業株式会社
コネクタ
8日前
株式会社デンソー
ダクトおよび電池装置
2日前
北川工業株式会社
磁性積層体
14日前
ケル株式会社
多極スイッチ
8日前
FDK株式会社
電池
8日前
株式会社ディスコ
加工装置
1日前
続きを見る
他の特許を見る