TOP
|
特許
|
意匠
|
商標
特許ウォッチ
Twitter
他の特許を見る
公開番号
2025172529
公報種別
公開特許公報(A)
公開日
2025-11-26
出願番号
2024078082
出願日
2024-05-13
発明の名称
ダクトおよび電池装置
出願人
株式会社デンソー
代理人
個人
,
個人
主分類
H01M
10/6563 20140101AFI20251118BHJP(基本的電気素子)
要約
【課題】送風方向に延びる送風対象エリアにおける冷却性能のばらつきを抑えることが可能なダクトおよび電池装置を提供する。
【解決手段】電池装置は、電池ユニット2と電池ケース21内に空気を流通させる送風装置とを備える。ダクトは、送風装置によって送風される送風空気を送風対象エリアに流下させる通路を形成する。ダクトは、上流側ダクト部4、衝突ダクト部42および下流側ダクト部を備える。衝突ダクト部42の内面通路壁には、凹部423と、第1方向通路壁部44と、第2方向通路壁部43と、第1傾斜壁部425と、第2傾斜壁部424とが設けられている。第1傾斜壁部425の傾斜面は、第2傾斜壁部424の傾斜面よりも勾配が大きくなるように形成されている。
【選択図】図2
特許請求の範囲
【請求項1】
送風装置(3)によって送風される送風空気を送風対象エリアに流下させる通路を形成するダクトであって、
前記送風装置から吹き出された空気が流入する上流側ダクト部(4)と、
前記上流側ダクト部から流下してくる空気が衝突する内面通路壁を形成するように前記上流側ダクト部に対して交差する姿勢で設けられた衝突ダクト部(42)と、
前記衝突ダクト部の通路よりも下流において、前記送風対象エリアへ順方向に延びる順方向通路を形成する下流側ダクト部(5)と、
を備え、
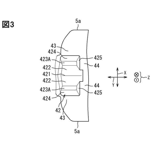
前記衝突ダクト部の内面通路壁は、
凹部(423、423A)と、
前記順方向通路につながる通路壁部であって前記順方向に延びる第1方向通路壁部(44)と、
前記順方向通路につながる通路壁部であって前記順方向に対して交差する交差方向に延びる第2方向通路壁部(43)と、
前記凹部から前記第1方向通路壁部にわたって前記順方向に延びる傾斜面を形成する第1傾斜壁部(425)と、
前記凹部から前記第2方向通路壁部にわたって前記交差方向に延びる傾斜面を形成する第2傾斜壁部(424)と、
を含み、
前記第1傾斜壁部は、前記第2傾斜壁部の傾斜面よりも勾配が大きい傾斜面を有しているダクト。
続きを表示(約 950 文字)
【請求項2】
前記第2傾斜壁部は、前記凹部から前記第2方向通路壁部にわたって、前記順方向に対して直交する直交方向に延びる傾斜面を形成する請求項1に記載のダクト。
【請求項3】
前記衝突ダクト部に対して分岐する一対の前記送風対象エリアと、
前記衝突ダクト部の通路よりも下流に設けられた下流側ダクト部であって、一対の前記送風対象エリアへ順方向に延びる順方向通路を形成する一対の下流側ダクト部(5)と、
を備え、
前記衝突ダクト部の内面通路壁は、
一対の前記下流側ダクト部に対応する一対の前記凹部と、
一対の前記下流側ダクト部に対応する一対の前記第1方向通路壁部と、
一対の前記下流側ダクト部に対応する一対の前記第2方向通路壁部と、
一対の前記下流側ダクト部に対応する一対の前記第1傾斜壁部と、
一対の前記下流側ダクト部に対応する一対の前記第2傾斜壁部と、
を含む請求項1または2に記載のダクト。
【請求項4】
前記凹部は、前記順方向と前記直交方向とに延びる平面を形成する請求項2に記載のダクト。
【請求項5】
請求項1または2に記載のダクトと、
前記送風対象エリアにおいて前記順方向に積層設置された複数の単電池(20)と、
前記下流側ダクト部に接続されており、複数の前記単電池を収容する電池ケース(21)と、
を備える電池装置。
【請求項6】
請求項3に記載のダクトと、
前記衝突ダクト部と一対の前記下流側ダクト部とを連結する分岐部(52)と、
一対の前記送風対象エリアのそれぞれにおいて前記順方向に積層設置された複数の単電池(20)と、
一対の前記下流側ダクト部のそれぞれに接続されており、複数の前記単電池を収容する電池ケース(21)と、
を備え、
一対の前記第2傾斜壁部は、前記順方向に対して直交する直交方向に並んで設けられており、
一方の前記第2傾斜壁部から他方の前記第2傾斜壁部までの前記直交方向に占める長さは、前記分岐部における前記直交方向の長さよりも大きい電池装置。
発明の詳細な説明
【技術分野】
【0001】
この明細書における開示は、ダクトおよび電池装置に関する。
続きを表示(約 2,100 文字)
【背景技術】
【0002】
特許文献1は、積層された複数の電池セルにおいてセルとセルの間に形成された電池間通路に送風空気を流通させて、各電池セルを冷却する電池パックを開示している。送風空気は、複数の電池セルが積層する積層方向に延びる吹出し側通路を流下し、吹出し側通路から複数の電池間通路に分配されることになる。
【先行技術文献】
【特許文献】
【0003】
特許第6024704号公報
【発明の概要】
【発明が解決しようとする課題】
【0004】
特許文献1の装置では、吹出し側通路に沿って並ぶ複数の電池間通路を流通する空気の最大風速と最低風速の差が大きくなり、最低風速が小さくなりやすい。流通する空気の風速が小さい電池間通路においては、隣接する電池セルを冷却することが難しくなる。特許文献1の装置は、送風方向に延びる送風対象エリアにおける冷却性能のばらつきを抑える観点に関して、改良の余地がある。
【0005】
この明細書における開示の目的は、送風方向に延びる送風対象エリアにおける冷却性能のばらつきを抑えることが可能なダクトおよび電池装置を提供することである。
【課題を解決するための手段】
【0006】
この明細書に開示された複数の態様は、それぞれの目的を達成するために、互いに異なる技術的手段を採用する。また、特許請求の範囲およびこの項に記載した括弧内の符号は、一つの態様として後述する実施形態に記載の具体的手段との対応関係を示す一例であって、技術的範囲を限定するものではない。
【0007】
開示されたダクトの一つは、送風装置(3)によって送風される送風空気を送風対象エリアに流下させる通路を形成するダクトであって、
送風装置から吹き出された空気が流入する上流側ダクト部(4)と、
上流側ダクト部から流下してくる空気が衝突する内面通路壁を形成するように上流側ダクト部に対して交差する姿勢で設けられた衝突ダクト部(42)と、
衝突ダクト部の通路よりも下流において、送風対象エリアへ順方向に延びる順方向通路を形成する下流側ダクト部(5)と、
を備え、
衝突ダクト部の内面通路壁は、
凹部(423、423A)と、
順方向通路につながる通路壁部であって順方向に延びる第1方向通路壁部(44)と、
順方向通路につながる通路壁部であって順方向に対して交差する交差方向に延びる第2方向通路壁部(43)と、
凹部から第1方向通路壁部にわたって順方向に延びる傾斜面を形成する第1傾斜壁部(425)と、
凹部から第2方向通路壁部にわたって交差方向に延びる傾斜面を形成する第2傾斜壁部(424)と、
を含み、
第1傾斜壁部は、第2傾斜壁部の傾斜面よりも勾配が大きい傾斜面を有している。
【0008】
このダクトによれば、第1方向通路壁部に沿う順方向の空気流れと第2方向通路壁部に沿う交差方向の空気流れとが合流することにより、送風対象エリアにおいて渦が発生する。このダクトは、第1傾斜壁部が第2傾斜壁部の傾斜面よりも勾配が大きい傾斜面を有する。この構成により、第1傾斜壁部の傾斜面が順方向の通風抵抗になるため、順方向の空気流速を抑えることができる。送風空気は、第1傾斜壁部の傾斜面を沿って流れる成分と第2傾斜壁部の傾斜面を沿って流れる成分とが合流して、送風対象エリアに流入する。第1傾斜壁部の通風抵抗により、衝突ダクト部内から送風対象エリアに流入する空気の順方向の流速が速くなりすぎることを抑えることができる。送風対象エリアにおいて順方向の流速を抑える効果により、順方向に直交する直交方向に分布する順方向の流速ベクトルを均一に近づけることが図れる。これにより、送風対象エリアにおける渦の拡大を抑制することにも寄与する。渦の拡大を抑制する効果により、送風対象エリアにおける流速分布の偏りを抑えることが図れる。したがって、送風方向に延びる送風対象エリアにおける冷却性能のばらつきを抑えることが可能なダクトを提供できる。
【0009】
開示された電池装置の一つは、前述のダクトと、送風対象エリアにおいて順方向に積層設置された複数の単電池(20)と、下流側ダクト部に接続されており、複数の単電池を収容する電池ケース(21)と、を備える。
【0010】
これによれば、前述のように、順方向に積層設置された複数の単電池に対して、順方向に直交する直交方向に分布する順方向の流速ベクトルを均一に近づけることが図れる。これにより、特定個所の単電池へ空気が流れ込みすぎる事態を抑制できる。このため、複数の単電池に接触する空気の最低流速を上昇させることができるため、単電池を冷却する能力が向上し、複数の単電池全体の冷却性能を向上できる。したがって、送風方向に延びる送風対象エリアにおける冷却性能のばらつきを抑えることが可能な電池装置を提供できる。
【図面の簡単な説明】
(【0011】以降は省略されています)
この特許をJ-PlatPat(特許庁公式サイト)で参照する
関連特許
株式会社デンソーウェーブ
筐体
1か月前
株式会社デンソー
電動弁
20日前
株式会社デンソー
端子台
今日
株式会社デンソー
回転機
1か月前
株式会社デンソー
分離体
6日前
株式会社デンソー
電気回路
14日前
株式会社デンソー
電子装置
20日前
株式会社デンソー
電解装置
21日前
株式会社デンソー
制御装置
22日前
株式会社デンソー
電子装置
1か月前
株式会社デンソー
熱交換器
19日前
株式会社デンソー
電子装置
1か月前
株式会社デンソー
光学部材
6日前
株式会社デンソー
摺動機構
19日前
株式会社デンソー
摺動機構
19日前
株式会社デンソー
反力装置
1か月前
株式会社デンソー
検出装置
1か月前
株式会社デンソー
撮像装置
19日前
株式会社デンソー
撮像装置
19日前
株式会社デンソー
電子装置
1か月前
株式会社デンソー
光学部材
6日前
株式会社デンソー
農業用装置
1か月前
株式会社デンソー
半導体装置
1か月前
株式会社デンソー
半導体装置
19日前
株式会社デンソー
熱交換装置
1か月前
株式会社デンソーテン
インバータ
1か月前
株式会社デンソー
熱交換部材
21日前
株式会社デンソー
センサ装置
27日前
株式会社デンソー
半導体装置
29日前
株式会社デンソートリム
鞍乗り車両
28日前
株式会社デンソー
ヒータ装置
28日前
株式会社デンソー
半導体装置
6日前
株式会社デンソー
レーダ装置
1か月前
株式会社デンソー
電流センサ
1か月前
株式会社デンソー
センサ装置
27日前
株式会社デンソー
半導体装置
21日前
続きを見る
他の特許を見る