TOP
|
特許
|
意匠
|
商標
特許ウォッチ
Twitter
他の特許を見る
公開番号
2025159698
公報種別
公開特許公報(A)
公開日
2025-10-21
出願番号
2025017028
出願日
2025-02-04
発明の名称
半導体装置
出願人
株式会社デンソー
,
トヨタ自動車株式会社
,
株式会社ミライズテクノロジーズ
代理人
弁理士法人ゆうあい特許事務所
主分類
H01L
21/60 20060101AFI20251014BHJP(基本的電気素子)
要約
【課題】接合材による部材間の接合強度の確保と接合材におけるクラック発生の抑制とを両立でき、信頼性が向上した半導体装置を提供する。
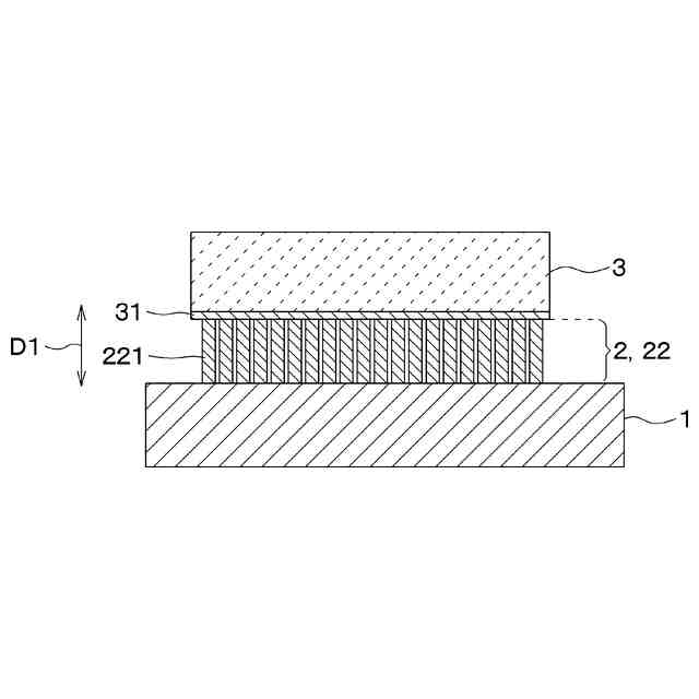
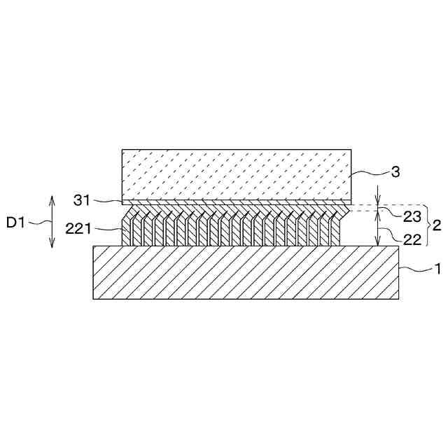
【解決手段】半導体装置は、第一部材としての半導体素子3とこれに隣接する第二部材とを接合材2により接合した構造を備える。接合材2は、複数の金属ワイヤ221により構成された応力緩和層22と、半導体素子3と第二部材とを接合する焼結接合層23とを有する。応力緩和層22は、半導体装置の厚み方向D1における長さが所定以上となっている。
【選択図】図3
特許請求の範囲
【請求項1】
半導体装置であって、
半導体素子(3)と、
前記半導体素子を第一部材として、前記半導体素子に接続される第二部材(1、4)と、
前記半導体素子と前記第二部材とを接合する接合材(2)と、を備え、
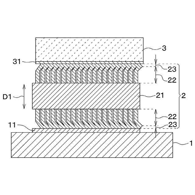
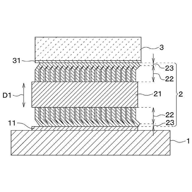
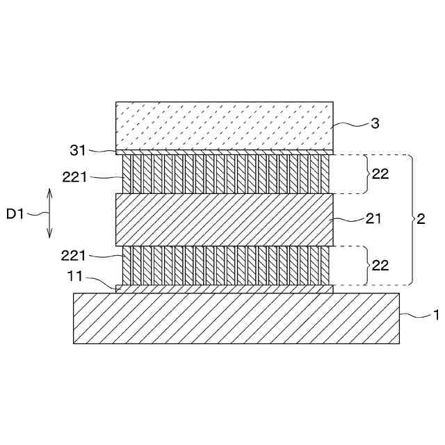
前記接合材は、複数の金属ワイヤ(221)で構成される応力緩和層(22)と、前記半導体素子または前記第二部材に接合される焼結接合層(23)とを有し、
前記金属ワイヤは、前記半導体素子と前記第二部材とを繋ぐ方向を厚み方向(D1)として、前記厚み方向における長さが所定以上となっている、半導体装置。
続きを表示(約 650 文字)
【請求項2】
前記接合材は、前記金属ワイヤの一部が前記厚み方向に沿って配向されるとともに、前記金属ワイヤの他の一部が前記厚み方向に対して所定以上の角度で傾斜して配向されている、請求項1に記載の半導体装置。
【請求項3】
前記接合材は、前記厚み方向における前記応力緩和層の長さが2μm以上である、請求項1に記載の半導体装置。
【請求項4】
前記接合材は、前記厚み方向における前記応力緩和層の長さが8μm以下である、請求項3に記載の半導体装置。
【請求項5】
前記接合材は、前記厚み方向における前記焼結接合層の厚みが10μm以下である、請求項4に記載の半導体装置。
【請求項6】
前記接合材は、金属バルク層(21)をさらに有し、
前記金属バルク層は、前記接合材における体積分率が68%以下である、請求項1に記載の半導体装置。
【請求項7】
前記金属ワイヤは、銅で構成されたナノワイヤである、請求項1ないし6のいずれか1つに記載の半導体装置。
【請求項8】
前記金属バルク層は、銅、アルミニウムおよび銅合金のうちのいずれかで構成されている、請求項6に記載の半導体装置。
【請求項9】
前記半導体素子および前記第二部材は、前記接合材に接合される被覆層(11、31、41)を有し、
前記被覆層は、銅、銀および銅合金のうちのいずれかで構成されている、請求項8に記載の半導体装置。
発明の詳細な説明
【技術分野】
【0001】
本開示は、半導体素子が金属ワイヤを有する接合材により他の部材に接合された構造を備える半導体装置に関する。
続きを表示(約 1,600 文字)
【背景技術】
【0002】
従来、パワーMOSFETなどのパワー半導体素子とヒートスプレッダなどの他の部材とが接合材を介して接合された構造を備える半導体装置が知られている。MOSFETは、Metal Oxide Semiconductor Field Effect Transistorの略称である。この種の半導体装置に用いられる接合材としては、例えば、特許文献1に記載のものが挙げられる。特許文献1に記載の接合材は、二層の焼結銀ナノ粒子の間に固体銀箔が配置された複層複合膜であり、加圧加熱されることで焼結銀ナノ粒子が焼結され、異なる部材同士を接合する。
【先行技術文献】
【特許文献】
【0003】
特許第6639394号公報
【発明の概要】
【発明が解決しようとする課題】
【0004】
特許文献1に記載の接合材は、銀ナノ粒子が焼結されることで2つの部材を接合する焼結接合層が形成される。この接合材は、熱伝導率が高いため、放熱性向上の観点からパワー半導体素子を用いたパワーモジュールに好適であると思われる。
【0005】
しかしながら、接合材のうち焼結接合層は、高弾性率であるため、接合部材間の線膨張係数の差が所定以上である場合、内部応力が高くなり、クラックが発生してしまう。
【0006】
他の先行技術としては、例えば、独国特許出願公開第102020107515号明細書に記載の接合材のように、銅ナノワイヤにより構成されたものが挙げられる。銅ナノワイヤで構成された接合材は、上記の接合材と同様に、加圧加熱により異なる部材同士を接合する。しかしながら、本発明者らによる検討の結果、銅ナノワイヤで構成された接合材を用いて二部材を接合しても、接合材の銅ナノワイヤが焼結体と同様の状態となり、半導体装置の製造工程においてもクラックが生じてしまうことが判明した。これは、銅が銀よりもさらに弾性率が高いことに起因していると考えられる。
【0007】
本開示は、上記の点に鑑み、半導体素子と他の部材とが接合材で接合された構造を備え、接合材による部材間の接合確保と接合材におけるクラック発生の抑制とを両立でき、信頼性が向上した半導体装置を提供することを目的とする。
【課題を解決するための手段】
【0008】
本開示の1つの観点によれば、半導体装置は、
半導体素子(3)と、
半導体素子を第一部材として、半導体素子に接続される第二部材(1、4)と、
半導体素子と第二部材とを接合する接合材(2)と、を備え、
接合材は、複数の金属ワイヤ(221)で構成される応力緩和層(22)と、半導体素子または第二部材に接合される焼結接合層(23)とを有し、
金属ワイヤは、半導体素子と第二部材とを繋ぐ方向を厚み方向(D1)として、厚み方向における長さが所定以上となっている。
【0009】
この半導体装置は、第一部材の半導体素子と第二部材とが接合材で接合された構造を備え、接合材が複数の金属ワイヤで構成された応力緩和層と、半導体素子または第二部材に接合される焼結接合層とを有してなる。接合材は、焼結接合層を有することで半導体素子と第二部材との接合が確保されるとともに、厚み方向における長さが所定以上の複数の金属ワイヤによりなる応力緩和層を有することで、2つの部材間の線膨張係数差に起因する応力を緩和する。このため、半導体装置は、半導体素子と第二部材との接合確保、およびこれらの部材の線膨張係数差に起因するクラック発生抑制を両立し、信頼性が向上した構造となる。
【0010】
なお、各構成要素等に付された括弧付きの参照符号は、その構成要素等と後述する実施形態に記載の具体的な構成要素等との対応関係の一例を示すものである。
【図面の簡単な説明】
(【0011】以降は省略されています)
この特許をJ-PlatPat(特許庁公式サイト)で参照する
関連特許
株式会社デンソー
電動機
3日前
株式会社デンソー
電子装置
3日前
株式会社デンソー
光学部材
3日前
株式会社デンソー
トランス
3日前
株式会社デンソー
電磁継電器
3日前
株式会社デンソー
電気化学セル
4日前
株式会社デンソー
表面加工方法
4日前
株式会社デンソー
燃料噴射装置
4日前
株式会社デンソー
電力変換装置
3日前
株式会社デンソー
電子制御装置
3日前
株式会社デンソー
電磁弁駆動装置
3日前
株式会社デンソー
電気化学反応装置
5日前
株式会社デンソー
運転評価支援装置
3日前
株式会社デンソー
電圧検出回路の異常検出装置
3日前
株式会社デンソー
MOSトランジスタの製造方法
5日前
株式会社デンソー
スイッチトキャパシタ電源回路
3日前
株式会社デンソー
車両制御方法、車両制御システム
3日前
株式会社デンソーテン
貼り合わせ装置および貼り合わせ方法
3日前
株式会社SOKEN
生体情報検出装置
3日前
株式会社SOKEN
車両用通信システム
3日前
株式会社デンソーテン
車両制御装置、車両、および、異常検知方法
3日前
株式会社デンソー
レーダ取付角度推定装置および物標検出装置
3日前
株式会社デンソーウェーブ
給電システム、電力変換装置、電力変換回路
4日前
株式会社デンソーテン
検知装置、検知方法、プログラム及び検知システム
3日前
株式会社デンソー
電気化学反応装置の製造方法及び電気化学反応装置
5日前
株式会社デンソーテン
車両検知装置、車両検知方法、及び車両検知プログラム
3日前
株式会社デンソー
炭化珪素単結晶製造方法および炭化珪素単結晶製造装置
4日前
株式会社デンソーテン
学習方法、学習装置、学習プログラム、および、学習データ生成方法
3日前
株式会社デンソーテン
感情推定装置、感情推定方法、感情推定プログラムおよび感情推定システム
3日前
株式会社デンソー
ログ管理装置、ログ管理方法、ログ管理プログラム、及びログ管理システム
3日前
株式会社デンソー
情報処理装置、情報処理方法、プログラム、及び、コンピュータ読み取り可能な記録媒体
3日前
株式会社デンソーテン
情報処理装置、情報処理方法、情報処理プログラム、感情推定装置、及び運転支援システム
3日前
株式会社デンソー
画像処理装置、画像処理方法、コンピュータプログラム、及び、コンピュータ読み取り可能な記録媒体
3日前
APB株式会社
蓄電セル
1か月前
東ソー株式会社
絶縁電線
1か月前
ローム株式会社
半導体装置
1か月前
続きを見る
他の特許を見る