TOP
|
特許
|
意匠
|
商標
特許ウォッチ
Twitter
他の特許を見る
公開番号
2025173869
公報種別
公開特許公報(A)
公開日
2025-11-28
出願番号
2024079697
出願日
2024-05-15
発明の名称
車両制御装置、車両、および、異常検知方法
出願人
株式会社デンソーテン
代理人
弁理士法人酒井国際特許事務所
主分類
B60L
3/00 20190101AFI20251120BHJP(車両一般)
要約
【課題】2つの車輪のうち、一方の車輪に機械式ブレーキによる制動力が発生した場合であっても、機械式ブレーキの異常を検出する車両制御装置、車両、および、異常検知方法を提供すること。
【解決手段】実施形態に係る車両制御装置は、2つの車輪にそれぞれ設けられたモータによって駆動され、運転者のブレーキ操作によって一方の車輪に設けられた機械式ブレーキが作動する車両に搭載される。車両制御装置は、機械式ブレーキの異常を検出するコントローラを備える。コントローラは、車両が直進走行しており、かつ、機械式ブレーキが操作されていない状態での各モータの電流値の差が第1閾値以上である場合、機械式ブレーキが異常に作動した状態である第1異常を検出する。
【選択図】図3
特許請求の範囲
【請求項1】
2つの車輪にそれぞれ設けられたモータによって駆動され、運転者のブレーキ操作によって一方の車輪に設けられた機械式ブレーキが作動する車両に搭載された車両制御装置であって、
前記機械式ブレーキの異常を検出するコントローラを備え、
前記コントローラは、前記車両が直進走行しており、かつ、前記機械式ブレーキが操作されていない状態での各モータの電流値の差が第1閾値以上である場合、前記機械式ブレーキが異常に作動した状態である第1異常を検出する、車両制御装置。
続きを表示(約 1,100 文字)
【請求項2】
2つの車輪にそれぞれ設けられたモータによって駆動され、運転者のブレーキ操作によって一方の車輪に設けられた機械式ブレーキが作動する車両に搭載された車両制御装置であって、
前記機械式ブレーキの異常を検出するコントローラを備え、
前記コントローラは、前記車両が直進走行しており、かつ、前記機械式ブレーキが操作されている状態での各モータの電流値の差が、第2閾値未満である場合、前記機械式ブレーキが作動しない状態である第2異常を検出する、車両制御装置。
【請求項3】
前記機械式ブレーキは、前記2つの車輪のうち、他方の車輪には設けられない、請求項1または2に記載の車両制御装置。
【請求項4】
前記コントローラは、前記車両が直進走行しており、前記機械式ブレーキが操作されている状態での前記電流値の差が、前記第2閾値以上、かつ、第3閾値以下である場合、前記機械式ブレーキの調整不良、または、前記機械式ブレーキの劣化である第3異常を検出し、
前記第3閾値は、前記第2閾値よりも大きい、請求項2に記載の車両制御装置。
【請求項5】
前記コントローラは、前記機械式ブレーキの調整が行われ、前記車両が直進走行しており、かつ、前記機械式ブレーキが操作されている状態での前記電流値の差が、第4閾値以下である場合、前記機械式ブレーキの劣化を検出し、
前記第4閾値は、前記第3閾値以上である、請求項4に記載の車両制御装置。
【請求項6】
請求項1または2に記載の車両制御装置を備える車両。
【請求項7】
2つの車輪にそれぞれ設けられたモータによって駆動され、運転者のブレーキ操作によって一方の車輪に設けられた機械式ブレーキが作動する車両の異常を検知する異常検知方法であって、
前記車両が直進走行しており、かつ、前記機械式ブレーキが操作されていない状態での各モータの電流値の差が第1閾値以上である場合、前記機械式ブレーキが異常に作動した状態である第1異常を検出する、異常検知方法。
【請求項8】
2つの車輪にそれぞれ設けられたモータによって駆動され、運転者のブレーキ操作によって一方の車輪に設けられた機械式ブレーキが作動する車両の異常を検知する異常検知方法であって、
前記車両が直進走行しており、かつ、前記機械式ブレーキが操作されている状態での各モータの電流値の差が、第2閾値未満である場合、前記機械式ブレーキが作動しない状態である第2異常を検出する、異常検知方法。
発明の詳細な説明
【技術分野】
【0001】
本発明は、車両制御装置、車両、および、異常検知方法に関する。
続きを表示(約 1,900 文字)
【背景技術】
【0002】
シニアカーや、電動車いすなどの車両の制動は、一般的に、アクセルペダルの踏み込み量が小さくなった場合に発生する回生ブレーキによって行われる。しかしながら、回生ブレーキのみでは、制動力が不足する場合がある。そのため、車輪に機械式ブレーキを設けることが考えられる。機械式ブレーキが設けられた車両は、機械式ブレーキに異常が発生した場合に、機械式ブレーキの異常を検出することが望ましい。これにより、機械式ブレーキの消耗部品を目視せずに、機械式ブレーキの故障、および、劣化などの異常を検出することができる。
【0003】
機械式ブレーキの異常を検出する技術としては、たとえば、車両の左右の車輪にそれぞれ設けられ、機械式ブレーキを作動させる電動アクチュエータのモータ電流値を比較する技術が知られている(たとえば、特許文献1参照)。
【先行技術文献】
【特許文献】
【0004】
国際公開第2016/104682号
【発明の概要】
【発明が解決しようとする課題】
【0005】
しかしながら、上記技術では、左右の車輪に制動力が発生する場合のモータ電流値を比較するため、左右の車輪の一方に機械式ブレーキによる制動力が発生する場合には、機械式ブレーキの異常を検出することができない。
【0006】
本発明は、上記に鑑みてなされたものであって、2つの車輪のうち、一方の車輪に機械式ブレーキによる制動力が発生する場合であっても、機械式ブレーキの異常を検出することを目的とする。
【課題を解決するための手段】
【0007】
実施形態の一態様に係る車両制御装置は、2つの車輪にそれぞれ設けられたモータによって駆動され、運転者のブレーキ操作によって一方の車輪に設けられた機械式ブレーキが作動する車両に搭載される。車両制御装置は、機械式ブレーキの異常を検出するコントローラを備える。コントローラは、車両が直進走行しており、かつ、機械式ブレーキが操作されていない状態での各モータの電流値の差が第1閾値以上である場合、機械式ブレーキが異常に作動した状態である第1異常を検出する。
【0008】
実施形態の別の態様に係る車両制御装置は、2つの車輪にそれぞれ設けられたモータによって駆動され、運転者のブレーキ操作によって一方の車輪に設けられた機械式ブレーキが作動する車両に搭載される。車両制御装置は、機械式ブレーキの異常を検出するコントローラを備える。コントローラは、車両が直進走行しており、かつ、機械式ブレーキが操作されている状態での各モータの電流値の差が、第2閾値未満である場合、機械式ブレーキが作動しない状態である第2異常を検出する。
【発明の効果】
【0009】
実施形態に係る車両制御装置が搭載された車両では、機械式ブレーキが作動した場合、機械式ブレーキが作動した車輪に設けられたモータの電流値が、他の車輪に設けられたモータの電流値よりも大きくなる。そこで、実施形態に係る車両制御装置は、機械式ブレーキの作動状態と、各モータの電流値の差とに基づいて、機械式ブレーキの異常を検出する。従って、車両制御装置は、一方の車輪に設けられた機械式ブレーキによって制動力を発生させる場合であっても、機械式ブレーキの異常を検出することができる。
【図面の簡単な説明】
【0010】
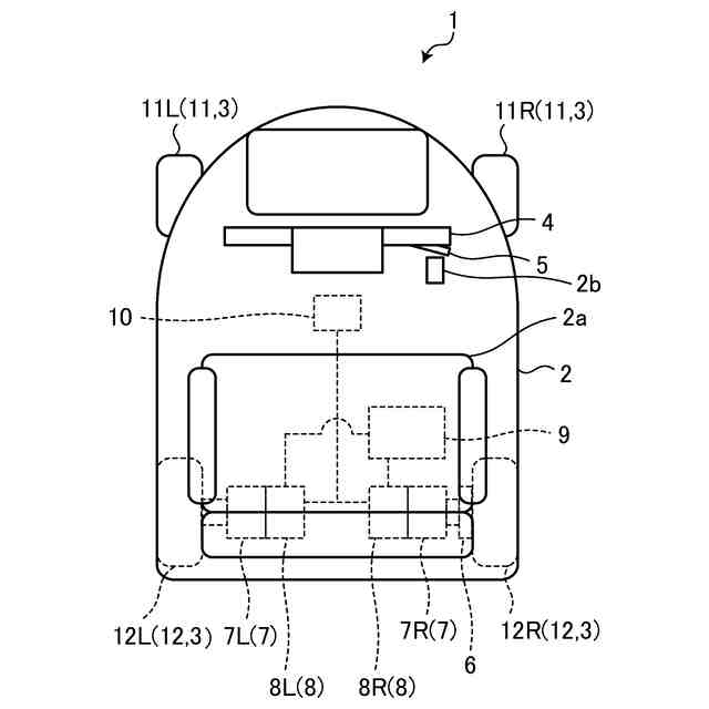
図1は、実施形態に係る車両の概略を示す図である。
図2は、実施形態に係る制御装置を説明するブロック図である。
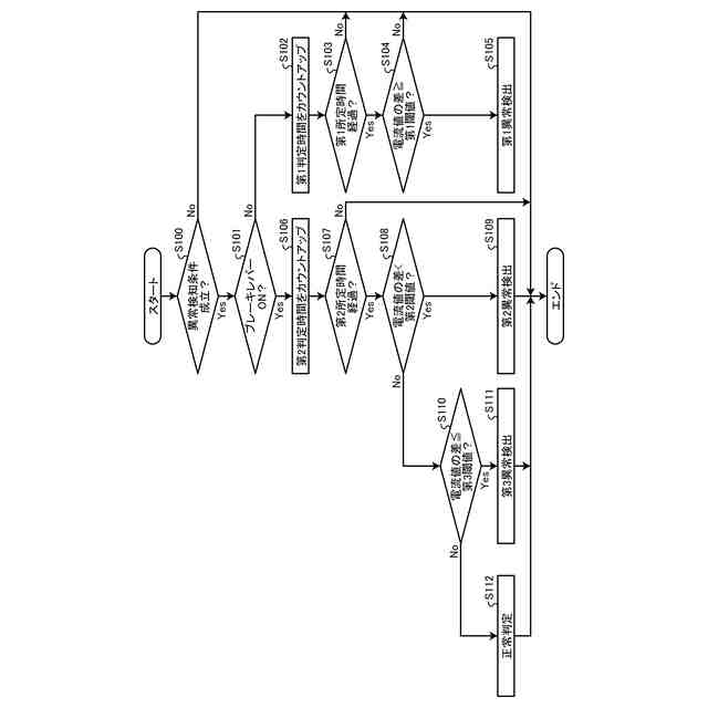
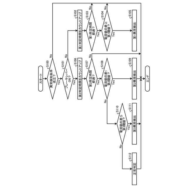
図3は、実施形態に係る第1異常検出処理を説明するフローチャートである。
図4は、実施形態に係る第2異常検出処理を説明するフローチャートである。
図5は、第1異常が生じている場合の異常検知条件の成立状態、ブレーキレバーの操作状態、電流値の差、および、第1異常判定フラグの状態を示すタイムチャートである。
図6は、第2異常が生じている場合の異常検知条件の成立状態、ブレーキレバーの操作状態、電流値の差、および、第2異常判定フラグの状態を示すタイムチャートである。
図7は、第3異常が生じている場合の異常検知条件の成立状態、ブレーキレバーの操作状態、電流値の差、および、第3異常判定フラグの状態を示すタイムチャートである。
図8は、第3異常が検出され、ブレーキが調整された場合の異常検知条件の成立状態、ブレーキレバーの操作状態、および、電流値の差を示すタイムチャートである。
【発明を実施するための形態】
(【0011】以降は省略されています)
この特許をJ-PlatPat(特許庁公式サイト)で参照する
関連特許
株式会社デンソーテン
車載表示装置
22日前
株式会社デンソーテン
アンテナアンプ及びアンテナ装置
17日前
株式会社デンソーテン
貼り合わせ装置および貼り合わせ方法
1日前
株式会社デンソーテン
車両制御装置、車両制御方法および車両
1か月前
株式会社デンソーテン
電源制御装置および電源制御プログラム
15日前
株式会社デンソーテン
電源制御装置および電源制御プログラム
9日前
株式会社デンソーテン
通信装置、通信方法、及び通信プログラム
15日前
株式会社デンソーテン
車両制御装置、車両、および、異常検知方法
1日前
株式会社デンソーテン
受信機、受信システム、受信方法およびプログラム
15日前
株式会社デンソーテン
検知装置、検知方法、プログラム及び検知システム
1日前
株式会社デンソーテン
電池監視システム、電池監視装置および電圧計測装置
9日前
株式会社デンソーテン
車両検知装置、車両検知方法、及び車両検知プログラム
1日前
株式会社ABAL
画像投影システム及び画像投影方法
9日前
株式会社デンソーテン
情報処理装置、情報処理方法、および情報処理プログラム
1か月前
株式会社デンソーテン
監視装置、監視システム、監視方法、及び監視プログラム
1か月前
株式会社デンソーテン
車両用警報装置、車両用警報システム及びメータユニット
1か月前
株式会社デンソーテン
情報通知装置、車両システム、情報通知方法およびプログラム
1か月前
株式会社デンソーテン
車載器、車載器の取り付け機構、および車載器の取り付け方法
1か月前
株式会社デンソーテン
通知制御装置、方法及びプログラム並びに車載用通知システム
1か月前
株式会社デンソーテン
学習方法、学習装置、学習プログラム、および、学習データ生成方法
1日前
株式会社デンソーテン
通話処理装置、通話処理プログラム、通話処理方法及び通話処理システム
1か月前
株式会社デンソーテン
感情推定装置、感情推定方法、感情推定プログラムおよび感情推定システム
1日前
株式会社デンソーテン
情報通知装置、情報通知プログラム、情報通知方法、および情報通知システム
15日前
株式会社デンソーテン
通知制御装置、方法及びプログラム、通知制御システム並びに車載用通知システム
1か月前
株式会社デンソーテン
感情推定装置、キャリブレーション方法、感情推定プログラムおよび感情推定システム
1か月前
株式会社デンソーテン
車両運転支援装置、車両運転支援方法、車両運転支援プログラム及び車両運転支援システム
9日前
株式会社デンソーテン
情報処理装置、情報処理方法、情報処理プログラム、感情推定装置、及び運転支援システム
1日前
個人
カーテント
5か月前
個人
タイヤレバー
4か月前
個人
前輪キャスター
3か月前
個人
車窓用防虫網戸
6か月前
個人
上部一体型自動車
1か月前
個人
タイヤ脱落防止構造
3か月前
個人
空間形成装置
1か月前
個人
ホイルのボルト締結
5か月前
個人
ルーフ付きトライク
3か月前
続きを見る
他の特許を見る