TOP
|
特許
|
意匠
|
商標
特許ウォッチ
Twitter
他の特許を見る
10個以上の画像は省略されています。
公開番号
2025164061
公報種別
公開特許公報(A)
公開日
2025-10-30
出願番号
2024067793
出願日
2024-04-18
発明の名称
車載器、車載器の取り付け機構、および車載器の取り付け方法
出願人
株式会社デンソーテン
代理人
弁理士法人酒井国際特許事務所
主分類
B60R
11/02 20060101AFI20251023BHJP(車両一般)
要約
【課題】車載器を運転者の視界に入りにくくすることができる車載器、車載器の取り付け機構、および車載器の取り付け方法を提供すること。
【解決手段】実施形態に係る車載器は、取り付け部品と、車載器本体と、固定部品とを含む。取り付け部品は、車両の窓ガラスに貼り付けられる貼り付け部と、貼り付け部における貼り付け面の裏面に沿って延伸し、車載器本体が吊り下げられる棒状の吊り下げ部とを有する。車載器本体は、吊り下げ部における外周面の少なくとも一部に当接する半円筒形状の第1当接部を有する。固定部品は、吊り下げ部における外周面の少なくとも一部に当接する半円筒形状の第2当接部を有し、第1当接部と第2当接部とによって吊り下げ部を挟持した状態で車載器本体に爪嵌合されて車載器本体を取り付け部品に固定する。
【選択図】図1
特許請求の範囲
【請求項1】
車両の窓ガラスに貼り付けられる貼り付け部と、前記貼り付け部における貼り付け面の裏面に沿って延伸し、車載器本体が吊り下げられる棒状の吊り下げ部とを有する取り付け部品と、
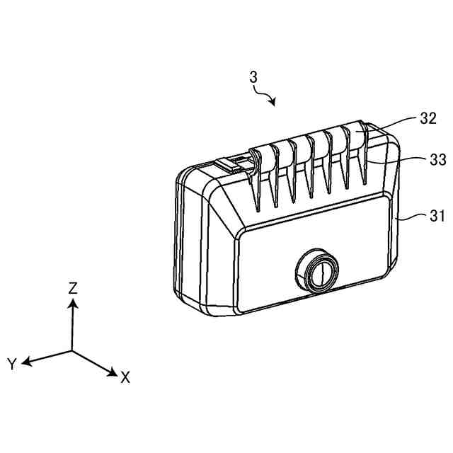
前記吊り下げ部における外周面の少なくとも一部に当接する半円筒形状の第1当接部を有する車載器本体と、
前記吊り下げ部における外周面の少なくとも一部に当接する半円筒形状の第2当接部を有し、前記第1当接部と前記第2当接部とによって前記吊り下げ部を挟持した状態で前記車載器本体に爪嵌合されて前記車載器本体を前記取り付け部品に固定する固定部品と
を含む車載器。
続きを表示(約 1,200 文字)
【請求項2】
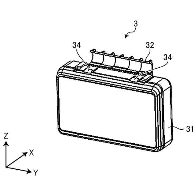
前記車載器本体は、嵌合爪を有し、
前記固定部品は、前記嵌合爪が嵌合される嵌合孔を有する
請求項1に記載の車載器。
【請求項3】
前記固定部品は、嵌合爪を有し、
前記車載器本体は、前記嵌合爪が嵌合される嵌合孔を有する
請求項1に記載の車載器。
【請求項4】
前記吊り下げ部は、外周面の少なくとも一部に外歯歯車形状の外歯部を有し、
前記第1当接部および前記第2当接部は、内周面の少なくとも一部に前記外歯部と噛み合う内歯歯車形状の内歯部を有する
請求項1に記載の車載器。
【請求項5】
前記外歯部は、前記内歯部よりも柔らかく、前記固定部品が前記車載器本体に爪嵌合されることによって変形して前記内歯部と前記外歯部との隙間を埋める
請求項4に記載の車載器。
【請求項6】
前記内歯部は、前記外歯部よりも柔らかく、前記固定部品が前記車載器本体に爪嵌合されることによって変形して前記内歯部と前記外歯部との隙間を埋める
請求項4に記載の車載器。
【請求項7】
前記第1当接部および前記第2当接部と、前記吊り下げ部との間に弾性部材が設けられる
請求項1に記載の車載器。
【請求項8】
車両の窓ガラスに貼り付けられる貼り付け部と、前記貼り付け部における貼り付け面の裏面に沿って延伸し、車載器本体が吊り下げられる棒状の吊り下げ部とを有する取り付け部品と、
前記車載器本体に設けられ、前記吊り下げ部における外周面の少なくとも一部に当接する半円筒形状の第1当接部と、
前記吊り下げ部における外周面の少なくとも一部に当接する半円筒形状の第2当接部を有し、前記第1当接部と前記第2当接部とによって前記吊り下げ部を挟持した状態で前記車載器本体に爪嵌合されて前記車載器本体を前記取り付け部品に固定する固定部品と
を含む車載器の取り付け機構。
【請求項9】
車両の窓ガラスに貼り付けられる貼り付け部と、前記貼り付け部における貼り付け面の裏面に沿って延伸し、車載器本体が吊り下げられる棒状の吊り下げ部とを有する取り付け部品の前記貼り付け部を前記窓ガラスに貼り付け、
前記吊り下げ部における外周面の少なくとも一部に当接する半円筒形状の第1当接部を有する車載器本体の前記第1当接部を前記吊り下げ部の外周面に当接させた状態で前記車載器本体を保持し、
前記吊り下げ部における外周面の少なくとも一部に当接する半円筒形状の第2当接部を有する固定部品の前記第2当接部を前記吊り下げ部の外周面に当接させ、
前記第1当接部と前記第2当接部とによって前記吊り下げ部を挟持した状態で前記固定部品と前記車載器本体とを爪嵌合して前記車載器本体を前記取り付け部品に固定する
車載器の取り付け方法。
発明の詳細な説明
【技術分野】
【0001】
開示の実施形態は、車載器、車載器の取り付け機構、および車載器の取り付け方法に関する。
続きを表示(約 1,800 文字)
【背景技術】
【0002】
車両の窓ガラスに貼り付けられる取り付け部品と、車両の周囲を撮影するカメラとがボールジョイントによって連結されるドライブレコーダがある(例えば、特許文献1参照)。また、ボールジョイントは、車載レーダなどドライブレコーダ以外の車載器にも採用されている。
【0003】
ボールジョイントが採用される車載機の角度調整をする場合には、車載器側に設けられるジョイントボールと、取り付け部品側に設けられるボール受け部との連結部分を固定する固定ネジを緩め、車載器の角度を調整した後、固定ネジを締めて角度調整が完了する。
【先行技術文献】
【特許文献】
【0004】
特開2017-107474号公報
【発明の概要】
【発明が解決しようとする課題】
【0005】
しかしながら、ボールジョイントが採用される車載器は、窓ガラスと車載器との間に手をいれて固定ネジを操作できるだけのスペースが必要なため、取り付け部品が車載器を斜め上方向から支持する場合、車載器が運転者の視界に入りやすくなる。
【0006】
実施形態の一態様は、上記に鑑みてなされたものであって、窓ガラスに貼り付けられる取り付け部品を運転者の視界に入りにくくすることができる車載器、車載器の取り付け機構、および車載器の取り付け方法を提供することを目的とする。
【課題を解決するための手段】
【0007】
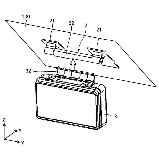
実施形態の一態様に係る車載器は、取り付け部品と、車載器本体と、固定部品とを含む。前記取り付け部品は、車両の窓ガラスに貼り付けられる貼り付け部と、前記貼り付け部における貼り付け面の裏面に沿って延伸し、車載器本体が吊り下げられる棒状の吊り下げ部とを有する。前記車載器本体は、前記吊り下げ部における外周面の少なくとも一部に当接する半円筒形状の第1当接部を有する。前記固定部品は、前記吊り下げ部における外周面の少なくとも一部に当接する半円筒形状の第2当接部を有し、前記第1当接部と前記第2当接部とによって前記吊り下げ部を挟持した状態で前記車載器本体に爪嵌合されて前記車載器本体を前記取り付け部品に固定する。
【発明の効果】
【0008】
実施形態の一態様に係る車載器、車載器の取り付け機構、および車載器の取り付け方法は、車載器本体と固定部品との爪嵌合によって車載器本体が取り付け部品に固定されるので、窓ガラスと車載器との間に手をいれて操作するためのスペースが不要である。
【0009】
このため、実施形態の一態様に係る車載器、車載器の取り付け機構、および車載器の取り付け方法は、窓ガラスから車載器までの距離を短くできるようになるので、車載器を運転者の視界に入りにくくすることができる。
【図面の簡単な説明】
【0010】
図1は、実施形態に係る車載器の取り付け状態を示す斜視図である。
図2は、実施形態に係る取り付け部品を示す斜視図である。
図3は、実施形態に係る車載器本体を示す斜視図である。
図4は、実施形態に係る車載器本体を示す斜視図である。
図5は、実施形態に係る固定部品を示す斜視図である。
図6は、実施形態に係る固定部品を示す斜視図である。
図7は、実施形態に係る車載器の取り付け工程を示す説明図である。
図8は、実施形態に係る車載器の取り付け工程を示す説明図である。
図9は、実施形態に係る車載器の取り付け工程を示す説明図である。
図10は、実施形態に係る車載器の取り付け工程を示す説明図である。
図11は、実施形態に係る車載器の取り付け工程を示す説明図である。
図12は、実施形態に係る車載器の取り付け工程を示す説明図である。
図13は、実施形態に係る車載器の取り付け工程を示す説明図である。
図14は、実施形態に係る吊り下げ部、第1当接部、および第2当接部の形状例を示す説明図である。
図15は、図14に示す破線枠内の拡大図である。
図16は、実施形態に係る車載器の取り付け状態を示す側面図である。
【発明を実施するための形態】
(【0011】以降は省略されています)
この特許をJ-PlatPat(特許庁公式サイト)で参照する
関連特許
株式会社デンソーテン
車載表示装置
22日前
株式会社デンソーテン
アンテナアンプ及びアンテナ装置
17日前
株式会社デンソーテン
貼り合わせ装置および貼り合わせ方法
1日前
株式会社デンソーテン
電源制御装置および電源制御プログラム
9日前
株式会社デンソーテン
電源制御装置および電源制御プログラム
15日前
株式会社デンソーテン
通信装置、通信方法、及び通信プログラム
15日前
株式会社デンソーテン
車両制御装置、車両、および、異常検知方法
1日前
株式会社デンソーテン
受信機、受信システム、受信方法およびプログラム
15日前
株式会社デンソーテン
検知装置、検知方法、プログラム及び検知システム
1日前
株式会社デンソーテン
電池監視システム、電池監視装置および電圧計測装置
9日前
株式会社デンソーテン
車両検知装置、車両検知方法、及び車両検知プログラム
1日前
株式会社ABAL
画像投影システム及び画像投影方法
9日前
株式会社デンソーテン
学習方法、学習装置、学習プログラム、および、学習データ生成方法
1日前
株式会社デンソーテン
感情推定装置、感情推定方法、感情推定プログラムおよび感情推定システム
1日前
株式会社デンソーテン
情報通知装置、情報通知プログラム、情報通知方法、および情報通知システム
15日前
株式会社デンソーテン
情報処理装置、情報処理方法、情報処理プログラム、感情推定装置、及び運転支援システム
1日前
株式会社デンソーテン
車両運転支援装置、車両運転支援方法、車両運転支援プログラム及び車両運転支援システム
9日前
個人
タイヤレバー
4か月前
個人
前輪キャスター
3か月前
個人
上部一体型自動車
1か月前
個人
ルーフ付きトライク
3か月前
個人
空間形成装置
1か月前
個人
ホイルのボルト締結
5か月前
個人
タイヤ脱落防止構造
3か月前
日本精機株式会社
表示装置
4か月前
個人
車両通過構造物
4か月前
個人
キャンピングトライク
5か月前
個人
マスタシリンダ
2か月前
日本精機株式会社
照明装置
25日前
日本精機株式会社
表示装置
4か月前
日本精機株式会社
表示装置
4か月前
井関農機株式会社
作業車両
5か月前
日本精機株式会社
表示装置
3か月前
個人
乗合路線バスの客室装置
4か月前
個人
車両用スリップ防止装置
5か月前
個人
キャンピングトレーラー
5か月前
続きを見る
他の特許を見る