TOP
|
特許
|
意匠
|
商標
特許ウォッチ
Twitter
他の特許を見る
10個以上の画像は省略されています。
公開番号
2025174714
公報種別
公開特許公報(A)
公開日
2025-11-28
出願番号
2024081243
出願日
2024-05-17
発明の名称
貼り合わせ装置および貼り合わせ方法
出願人
株式会社デンソーテン
代理人
弁理士法人酒井国際特許事務所
主分類
G02F
1/13 20060101AFI20251120BHJP(光学)
要約
【課題】パッドの粘着面からワークが剥がれて落下することを抑制でき、よって貼り合わせ工程における生産ロスを低減させることができる貼り合わせ装置および貼り合わせ方法を提供する。
【解決手段】実施形態の一態様に係る貼り合わせ装置は、ワークを対象物に貼り合わせる。貼り合わせ装置は、下方に配置されたワークを粘着面で保持するパッドが設けられる治具を備える。パッドは、粘着面が、平面視において長方形状であり、複数の開口部が設けられる梯子状に形成された第1パッドと、第1パッドとは異なる位置に設けられる第2パッドとを含む。
【選択図】図8
特許請求の範囲
【請求項1】
ワークを対象物に貼り合わせる貼り合わせ装置であって、
下方に配置された前記ワークを粘着面で保持するパッドが設けられる治具を備え、
前記パッドは、
前記粘着面が、平面視において長方形状であり、複数の開口部が設けられる梯子状に形成された第1パッドと、
前記第1パッドとは異なる位置に設けられる第2パッドと
を含む、貼り合わせ装置。
続きを表示(約 650 文字)
【請求項2】
前記第1パッドは、
前記開口部を介して前記ワークを吸引して吸着保持する、
請求項1に記載の貼り合わせ装置。
【請求項3】
前記第1パッドは、
前記開口部が平面視において円形状となるように形成される、
請求項1に記載の貼り合わせ装置。
【請求項4】
前記第1パッドは、
前記開口部が平面視において楕円形状となるように形成される、
請求項1に記載の貼り合わせ装置。
【請求項5】
前記第1パッドは、
前記粘着面に形成される切欠き部
を備える、請求項1に記載の貼り合わせ装置。
【請求項6】
前記第2パッドは、
前記第1パッドが保持する前記ワークの部位より、前記ワークの端部側の部位を保持するように設けられる、
請求項1に記載の貼り合わせ装置。
【請求項7】
前記ワークは、
ディスプレイ関連部品である、
請求項1に記載の貼り合わせ装置。
【請求項8】
粘着面が、平面視において長方形状であり、複数の開口部が設けられる梯子状に形成された第1パッドと、前記第1パッドとは異なる位置に設けられる第2パッドとを含むパッドが設けられる治具で、下方に配置されたワークを前記粘着面で保持する工程と、
前記治具によって保持された前記ワークを対象物に貼り合わせる工程と
を含む、貼り合わせ方法。
発明の詳細な説明
【技術分野】
【0001】
開示の実施形態は、貼り合わせ装置および貼り合わせ方法に関する。
続きを表示(約 2,200 文字)
【背景技術】
【0002】
従来、粘着面でワークを保持する治具を備え、保持されたワークを対象物に貼り合わせる技術が種々提案されている(例えば、特許文献1参照)。また、例えばワークが液晶ディスプレイであり、対象物がガラスパネルである場合、粘着面を有する円筒状のパッドが治具に複数設けられる。そして、治具の下方に配置された液晶ディスプレイを複数のパッドの粘着面で保持しつつ、ガラスパネルに貼り合わせるように構成される。
【先行技術文献】
【特許文献】
【0003】
特開2011-151124号公報
【発明の概要】
【発明が解決しようとする課題】
【0004】
しかしながら、従来技術にあっては、パッドの粘着面から、ワークである液晶ディスプレイが剥がれて落下し、貼り合わせ工程における生産ロスが生じるおそれがあった。具体的には、液晶ディスプレイにおいて、パッドと接触する接触面には、各種の回路基板が設けられる。複数のパッドは、かかる回路基板を避けるように配置されるため、パッドの配置に偏りが生じることがある。また、液晶ディスプレイの接触面には、製造バラつきなどによって反りが発生することがある。このようなパッドの配置の偏り、液晶ディスプレイの反りなどに起因して、パッドの粘着面から液晶ディスプレイが剥がれて落下し、貼り合わせ工程における生産ロスが生じるおそれがあった。
【0005】
実施形態の一態様は、上記に鑑みてなされたものであって、パッドの粘着面からワークが剥がれて落下することを抑制でき、よって貼り合わせ工程における生産ロスを低減させることができる貼り合わせ装置および貼り合わせ方法を提供することを目的とする。
【課題を解決するための手段】
【0006】
上記課題を解決し、目的を達成するために、実施形態の一態様に係る貼り合わせ装置は、ワークを対象物に貼り合わせる。貼り合わせ装置は、下方に配置された前記ワークを粘着面で保持するパッドが設けられる治具を備える。前記パッドは、前記粘着面が、平面視において長方形状であり、複数の開口部が設けられる梯子状に形成された第1パッドと、前記第1パッドとは異なる位置に設けられる第2パッドとを含む。
【発明の効果】
【0007】
実施形態の一態様において、治具のパッドは、粘着面が、平面視において長方形状であり、複数の開口部が設けられる梯子状に形成された第1パッドを含むようにした。例えば、パッドの粘着面が環状である場合、パッドの配置の偏り、ワークの反りなどに起因して、ワークが粘着面から剥離する方向に作用する応力が集中する箇所が発生し易く、かかる箇所からワークが剥がれて落下し易かった。これに対し、パッドの粘着面が梯子状に形成されることで、ワークが粘着面から剥離する方向に作用する応力を分散させることができる。これにより、パッドの粘着面からワークが剥がれにくくなるため、ワークが剥がれて落下することを抑制でき、よって貼り合わせ工程における生産ロスを低減させることができる。
【図面の簡単な説明】
【0008】
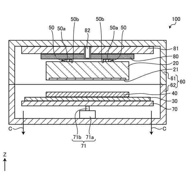
図1は、ディスプレイ装置の搭載例を示す図である。
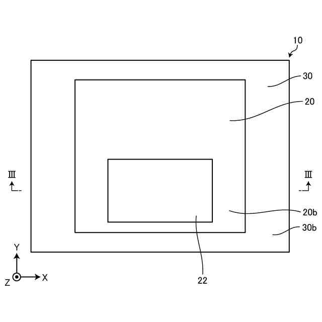
図2は、ディスプレイ装置の平面図である。
図3は、図2のIII-III線断面図である。
図4は、貼り合わせ装置が行う貼り合わせの処理手順を示すフローチャートである。
図5Aは、貼り合わせ装置が行う貼り合わせの処理手順を説明するための図である。
図5Bは、貼り合わせ装置が行う貼り合わせの処理手順を説明するための図である。
図5Cは、貼り合わせ装置が行う貼り合わせの処理手順を説明するための図である。
図5Dは、貼り合わせ装置が行う貼り合わせの処理手順を説明するための図である。
図5Eは、貼り合わせ装置が行う貼り合わせの処理手順を説明するための図である。
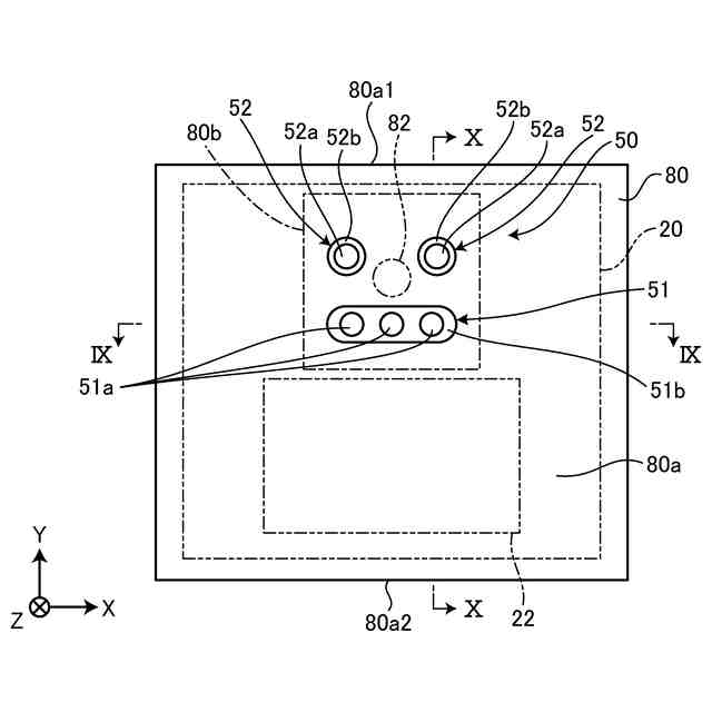
図6は、第1実施形態に係る治具に設けられたパッド部分の拡大平面図である。
図7は、図6のVII-VII線断面図である。
図8は、第1実施形態に係るパッドの形状を説明するための図である。
図9は、図8のIX-IX線断面図である。
図10は、図8のX-X線断面図である。
図11は、第2実施形態に係るパッドの形状を説明するための図である。
図12は、第3実施形態に係るパッドの形状を説明するための図である。
図13は、第4実施形態に係るパッドの形状を説明するための図である。
【発明を実施するための形態】
【0009】
以下、添付図面を参照して、本願の開示する貼り合わせ装置および貼り合わせ方法の実施形態を詳細に説明する。なお、以下に示す実施形態によりこの発明が限定されるものではない。
【0010】
(第1実施形態)
以下では先ず、第1実施形態に係る貼り合わせ装置によって製作される製品について説明する。第1実施形態では、貼り合わせ装置によってディスプレイ装置(表示装置)が製作される。
(【0011】以降は省略されています)
この特許をJ-PlatPat(特許庁公式サイト)で参照する
関連特許
個人
立体像表示装置
1か月前
住友化学株式会社
偏光板
1か月前
カンタツ株式会社
光学系
1か月前
株式会社シグマ
結像光学系
1か月前
株式会社シグマ
結像光学系
22日前
住友化学株式会社
垂直偏光板
1か月前
東レ株式会社
貼合体の製造方法
1か月前
東レ株式会社
赤外線遮蔽構成体
1か月前
日本精機株式会社
ミラーユニット
1か月前
古河電気工業株式会社
融着機
1か月前
日本電気株式会社
光モジュール
1か月前
個人
多方向視差効果のための微細穴加工
1か月前
豊田合成株式会社
調光装置
9日前
日東電工株式会社
導光部材
22日前
株式会社コシナ
投射ズームレンズ
15日前
三菱電機株式会社
レンズモジュール
1か月前
京セラ株式会社
光学系
1か月前
個人
眼鏡装着位置変更具および眼鏡
1か月前
日東電工株式会社
光学積層体
24日前
AGC株式会社
インフィニティミラー
1か月前
日本精機株式会社
ヘッドアップディスプレイ
22日前
住友化学株式会社
偏光板
1か月前
日本精機株式会社
ヘッドアップディスプレイ
25日前
住友化学株式会社
偏光板
1か月前
キヤノン株式会社
表示装置
1日前
新光電気工業株式会社
光導波路部品
1か月前
日本精機株式会社
ヘッドアップディスプレイ装置
23日前
住友化学株式会社
光学積層体
1か月前
住友化学株式会社
偏光積層体
1か月前
京セラ株式会社
アイソレータ
1日前
マクセル株式会社
映像表示装置
15日前
新光電気工業株式会社
光導波路部品
1か月前
日本精機株式会社
ヘッドアップディスプレイ装置
22日前
株式会社タムロン
ズームレンズ及び撮像装置
1か月前
株式会社リコー
光走査装置及び画像形成装置
22日前
スタンレー電気株式会社
透光性樹脂部材
1か月前
続きを見る
他の特許を見る