TOP
|
特許
|
意匠
|
商標
特許ウォッチ
Twitter
他の特許を見る
公開番号
2025159423
公報種別
公開特許公報(A)
公開日
2025-10-21
出願番号
2024061951
出願日
2024-04-08
発明の名称
インフィニティミラー
出願人
AGC株式会社
代理人
個人
主分類
G02B
5/30 20060101AFI20251014BHJP(光学)
要約
【課題】インフィニティミラーであって、静止画及び動画を含む画像により表示されるパターンが奥行方向に繰り返し存在しているように観察者に対して見せるものを提供する。
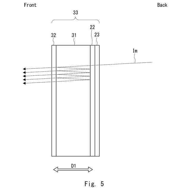
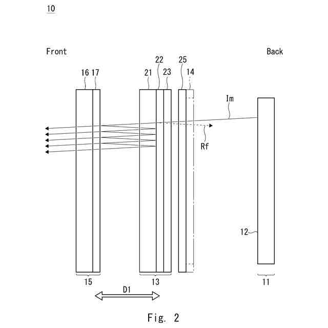
【解決手段】インフィニティミラー10は、表示パネル11と、表示パネル11の表示面12上にこれと平行に重ねられた内部ハーフミラー13のハーフミラー面と、内部ハーフミラー13のハーフミラー面上にこれと平行に重ねられた外部ハーフミラー15のハーフミラー面と、を備える。インフィニティミラー10は、表示面12から出射する画像光Imを内部ハーフミラー13のハーフミラー面と外部ハーフミラー15のハーフミラー面との間で繰り返し反射させることで、画像光Imによって形作られるパターンが内部ハーフミラー13のハーフミラー面を超えてさらに奥行方向に繰り返し存在するように見せる。
【選択図】図2
特許請求の範囲
【請求項1】
表示パネルと、
前記表示パネルの表示面上にこれと平行に重ねられた内部ハーフミラー面と、
前記内部ハーフミラー面上にこれと平行に重ねられた外部ハーフミラー面と、
を備え、
前記表示面から出射する画像光を前記内部ハーフミラー面と前記外部ハーフミラー面との間で繰り返し反射させることで、前記画像光によって形作られるパターンが前記内部ハーフミラー面を超えてさらに奥行方向に繰り返し存在するように見せる、
インフィニティミラー。
続きを表示(約 1,600 文字)
【請求項2】
前記内部ハーフミラー面を有する内部ハーフミラーを備え、
前記内部ハーフミラーは、前記表示面側にハーフミラーコートが施された透明板と、前記ハーフミラーコートと対向する選択反射フィルムとを有し、
前記表示面から前記選択反射フィルムに入射する画像光は円偏光であり、
前記選択反射フィルムは前記画像光と同一の回転方向を有する円偏光、以下F偏光という、を前記画像光と反対の回転方向を有する円偏光、以下R偏光という、よりもよく透過し、
前記選択反射フィルムのR偏光に対する反射率は、可視光帯域全体において、前記ハーフミラーコートのF偏光に対する反射率よりも高く、
前記選択反射フィルムと前記ハーフミラーコートとの間の間隔は、前記外部ハーフミラー面と前記内部ハーフミラー面との間の間隔よりも狭い、
請求項1に記載のインフィニティミラー。
【請求項3】
前記外部ハーフミラー面を有する外部ハーフミラーを備え、
前記外部ハーフミラーは、前記内部ハーフミラー側にハーフミラーコートが施された透明板を有する、
請求項2に記載のインフィニティミラー。
【請求項4】
前記内部ハーフミラー面及び外部ハーフミラー面を構成する両面ハーフミラーは、両面にハーフミラーコートが施された透明板と、前記表示面側の前記ハーフミラーコートと対向する選択反射フィルムとを備え、
前記表示面から前記選択反射フィルムに入射する画像光は円偏光であり、
前記選択反射フィルムは前記画像光と同一の回転方向を有する円偏光、以下F偏光という、を前記画像光と反対の回転方向を有する円偏光、以下R偏光という、よりもよく透過し、
前記選択反射フィルムのR偏光に対する反射率は、可視光帯域全体において、前記表示面側の前記ハーフミラーコートのF偏光に対する反射率よりも高く、
前記選択反射フィルムと前記表示面側の前記ハーフミラーコートとの間の間隔は、前記外部ハーフミラー面と前記内部ハーフミラー面との間の間隔よりも狭い、
請求項1に記載のインフィニティミラー。
【請求項5】
前記表示面から出射する前記画像光は直線偏光からなり、
前記選択反射フィルムと前記表示面との間にさらに1/4波長板をさらに備え、
前記1/4波長板の速軸又は遅軸は前記直線偏光の方位角に対して45度傾いており、
前記1/4波長板は前記画像光を直線偏光からF偏光に変換する、
請求項2~4のいずれかに記載のインフィニティミラー。
【請求項6】
前記表示面から前記内部ハーフミラー面に入射するF偏光に対する透過率と、前記外部ハーフミラー面で反射して前記内部ハーフミラー面に戻るR偏光に対する反射率との合計が100%を超える、
請求項2~4のいずれかに記載のインフィニティミラー。
【請求項7】
前記選択反射フィルムは、ネマチック液晶及びスメクチック液晶のいずれかの液晶からなり、
前記液晶はカイラリティを有する相からなり、
前記相は、液晶分子にカイラルドーパントを添加したものからなる、又はカイラリティを有する液晶分子からなる、
請求項2~4のいずれかに記載のインフィニティミラー。
【請求項8】
前記選択反射フィルムは、コレステリック液晶からなる、
請求項2~4のいずれかに記載のインフィニティミラー。
【請求項9】
前記表示面を取り囲む黒色のベゼルをさらに備え、
前記パターンは画像中で黒色の背景に重ね合わされており、
前記パターンは前記表示面の端に掛かっておらず、前記黒色の背景が前記表示面の前記端まで広がっている、
請求項1~4のいずれかに記載のインフィニティミラー。
発明の詳細な説明
【技術分野】
【0001】
本発明はインフィニティミラーに関する。
続きを表示(約 1,900 文字)
【背景技術】
【0002】
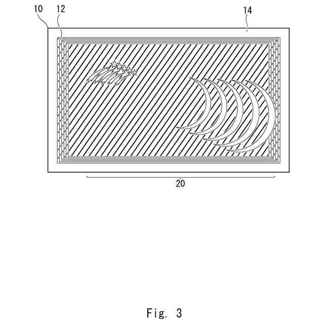
特許文献1はインフィニティミラーを開示している。インフィニティミラーは枠体と、枠体の裏面側に設けられた反射板と、枠体の内側面に貼り付けられたLED発光素子と、枠体の表面側に設けられたマジックミラーと、を備える。マジックミラーを通してインフィニティミラーの中をのぞき込むと、LED発光素子がインフィニティミラーの奥行方向に無限に繰り返し存在している様子が観察できる。
【0003】
特許文献2はハーフミラーコートを備える第1の支持体からなるハーフミラーと、選択反射フィルムの積層された第2の支持体からなる光学的構造を開示している。選択反射フィルムはハーフミラーコートに対向する。第2の支持体の背面にさらに表示パネルを対向させる。
【先行技術文献】
【特許文献】
【0004】
実用新案登録第3219537号公報
国際公開第2022/009784号
【発明の概要】
【発明が解決しようとする課題】
【0005】
本発明は、インフィニティミラーであって、静止画及び動画を含む画像により表示されるパターンが奥行方向に繰り返し存在しているように観察者に対して見せるものを提供する。
【課題を解決するための手段】
【0006】
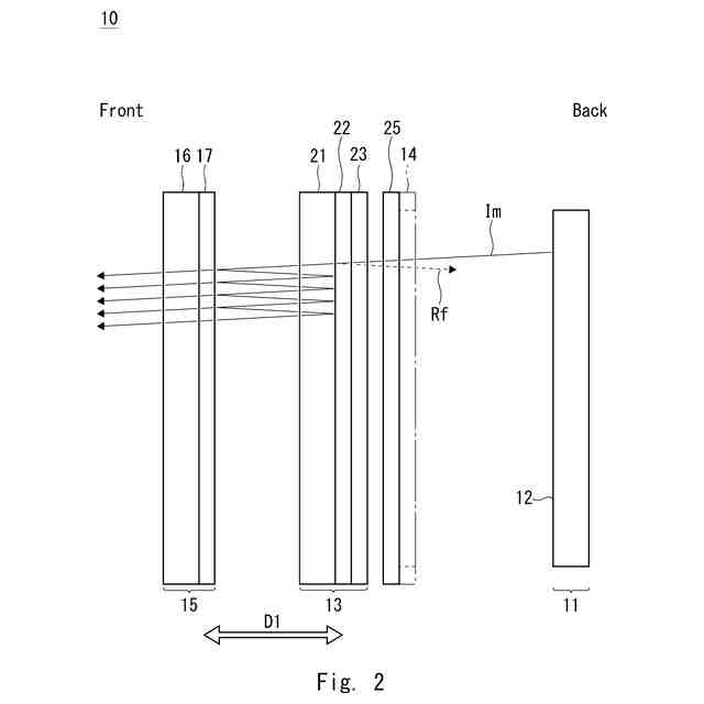
<1> 表示パネルと、
前記表示パネルの表示面上にこれと平行に重ねられた内部ハーフミラー面と、
前記内部ハーフミラー面上にこれと平行に重ねられた外部ハーフミラー面と、
を備え、
前記表示面から出射する画像光を前記内部ハーフミラー面と前記外部ハーフミラー面との間で繰り返し反射させることで、前記画像光によって形作られるパターンが前記内部ハーフミラー面を超えてさらに奥行方向に繰り返し存在するように見せる、
インフィニティミラー。
【0007】
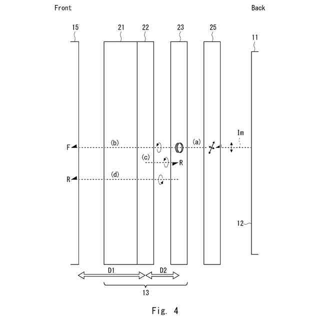
前記内部ハーフミラー面を有する内部ハーフミラーを備え、
前記内部ハーフミラーは、前記表示面側にハーフミラーコートが施された透明板と、前記ハーフミラーコートと対向する選択反射フィルムとを有し、
前記表示面から前記選択反射フィルムに入射する画像光は円偏光であり、
前記選択反射フィルムは前記画像光と同一の回転方向を有する円偏光、以下F偏光という、を前記画像光と反対の回転方向を有する円偏光、以下R偏光という、よりもよく透過し、
前記選択反射フィルムのR偏光に対する反射率は、可視光帯域全体において、前記ハーフミラーコートのF偏光に対する反射率よりも高く、
前記選択反射フィルムと前記ハーフミラーコートとの間の間隔は、前記外部ハーフミラー面と前記内部ハーフミラー面との間の間隔よりも狭い、
上記インフィニティミラー。
【0008】
前記外部ハーフミラー面を有する外部ハーフミラーを備え、
前記外部ハーフミラーは、前記内部ハーフミラー側にハーフミラーコートが施された透明板を有する、
上記インフィニティミラー。
【0009】
前記内部ハーフミラー面及び外部ハーフミラー面を構成する両面ハーフミラーは、両面にハーフミラーコートが施された透明板と、前記表示面側の前記ハーフミラーコートと対向する選択反射フィルムとを備え、
前記表示面から前記選択反射フィルムに入射する画像光は円偏光であり、
前記選択反射フィルムは前記画像光と同一の回転方向を有する円偏光、以下F偏光という、を前記画像光と反対の回転方向を有する円偏光、以下R偏光という、よりもよく透過し、
前記選択反射フィルムのR偏光に対する反射率は、可視光帯域全体において、前記表示面側の前記ハーフミラーコートのF偏光に対する反射率よりも高く、
前記選択反射フィルムと前記表示面側の前記ハーフミラーコートとの間の間隔は、前記外部ハーフミラー面と前記内部ハーフミラー面との間の間隔よりも狭い、
上記インフィニティミラー。
【0010】
前記表示面から出射する前記画像光は直線偏光からなり、
前記選択反射フィルムと前記表示面との間にさらに1/4波長板をさらに備え、
前記1/4波長板の速軸又は遅軸は前記直線偏光の方位角に対して45度傾いており、
前記1/4波長板は前記画像光を直線偏光からF偏光に変換する、
請求項2~4のいずれかに記載のインフィニティミラー。
(【0011】以降は省略されています)
この特許をJ-PlatPat(特許庁公式サイト)で参照する
関連特許
AGC株式会社
フッ素樹脂組成物
28日前
AGC株式会社
調光デバイスおよび調光方法
1か月前
AGC株式会社
反射型マスクブランクの製造方法
1か月前
AGC株式会社
フラットハーネス付き車両用窓ガラス
1か月前
AGC株式会社
位相差素子、円偏光板、及び光学部品
1か月前
AGC株式会社
搬送治具、搬送システム及び搬送方法
15日前
AGC株式会社
フッ素樹脂接合部材およびその製造方法
1日前
AGC株式会社
フラットハーネス付き車両用窓ガラスシステム
1か月前
AGC株式会社
ホルダー付き車両用窓ガラス及びサッシュレスドア
16日前
AGC株式会社
水性分散液
28日前
AGC株式会社
光学フィルタ
今日
AGC株式会社
光学フィルタ
7日前
AGC株式会社
含フッ素化合物
17日前
AGC株式会社
ガラス基板の製造方法
21日前
AGC株式会社
樹脂組成物、硬化物、積層体、積層体の製造方法、及び光学部品の製造方法
2日前
AGC株式会社
プリフォームの製造方法、光学素子の製造方法、及び光学素子用プリフォーム
1か月前
林テレンプ株式会社
コリメート用プリズムおよび車両の窓ガラス用照明構造
1か月前
AGC株式会社
反射型マスクブランク、反射型マスク、反射型マスクブランクの製造方法、及び反射型マスクの製造方法
15日前
AGC株式会社
ガラス溶解炉、ガラス製品の製造設備、およびガラス製品の製造方法
28日前
AGC株式会社
窒化珪素質焼結体、ベアリング用転動体、窒化珪素質素球、及びベアリング
15日前
AGC株式会社
結晶化ガラス、高周波用基板、液晶用アンテナおよび結晶化ガラスの製造方法
1か月前
AGC株式会社
多孔質ガラス材料、多孔質ガラス材料前駆体の製造方法、多孔質ガラス材料の製造方法、多孔質構造体、物質捕捉フィルター、及び物質捕捉方法
1日前
AGC株式会社
反射型マスクブランク、反射型マスク、反射型マスクブランクの製造方法、及び反射型マスクの製造方法
21日前
AGC株式会社
樹脂層付きガラス板の製造方法、樹脂層付きガラス板、ガラス板、太陽光発電モジュール、太陽光発電モジュールの製造方法
7日前
AGC株式会社
樹脂層付きガラス板の製造方法、樹脂層付きガラス板、ガラス板、太陽光発電モジュール、太陽光発電モジュールの製造方法
7日前
住友化学株式会社
偏光板
1か月前
カンタツ株式会社
光学系
1か月前
株式会社シグマ
結像光学系
1か月前
株式会社シグマ
結像光学系
28日前
住友化学株式会社
垂直偏光板
1か月前
日本精機株式会社
ミラーユニット
1か月前
古河電気工業株式会社
融着機
1か月前
アイカ工業株式会社
反射防止フィルム
2日前
日本電気株式会社
光モジュール
1か月前
個人
多方向視差効果のための微細穴加工
1か月前
日東電工株式会社
導光部材
28日前
続きを見る
他の特許を見る