TOP
|
特許
|
意匠
|
商標
特許ウォッチ
Twitter
他の特許を見る
10個以上の画像は省略されています。
公開番号
2025170554
公報種別
公開特許公報(A)
公開日
2025-11-19
出願番号
2024075219
出願日
2024-05-07
発明の名称
ホルダー付き車両用窓ガラス及びサッシュレスドア
出願人
AGC株式会社
代理人
個人
主分類
B60J
1/17 20060101AFI20251112BHJP(車両一般)
要約
【課題】合わせガラスを構成しているガラス板がずれることを抑制可能なホルダー付き車両用窓ガラスを提供すること。
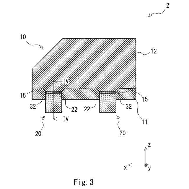
【解決手段】本開示の一態様に係るホルダー付き車両用窓ガラス1は、第1ガラス板11と、第2ガラス板12と、第1ガラス板11及び第2ガラス板12に挟持される中間膜13と、を備える合わせガラス10と、合わせガラス10を保持するホルダー20と、備える。第1ガラス板11は、第2ガラス板12よりも厚くなるように構成されており、第2ガラス板12は、第1ガラス板11よりもホルダー20で固定される側が短くなるように構成されている。ホルダー20は、溝24を有する。合わせガラス10は、第1ガラス板11がホルダー20の溝24に挿入されて接着されることでホルダー20に固定される。第2ガラス板12は接着部材32を用いてホルダー20の第2側壁部22に固定されている。
【選択図】図2
特許請求の範囲
【請求項1】
第1ガラス板と、第2ガラス板と、前記第1ガラス板及び前記第2ガラス板に挟持される中間膜と、を備える合わせガラスと、
前記合わせガラスを保持するホルダーと、備え、
前記第1ガラス板は、前記第2ガラス板よりも厚くなるように構成されており、
前記第2ガラス板は、前記第1ガラス板よりも前記ホルダーで固定される側が短くなるように構成されており、
前記ホルダーは、底部と、前記底部の一方側から上部方向に伸びる第1側壁部と、前記底部の他方側から上部方向に伸びる第2側壁部と、を備える溝を有し、
前記合わせガラスは、前記第1ガラス板が前記ホルダーの溝に挿入されて接着されることで、前記ホルダーに固定されており、
前記第2ガラス板は、接着部材を用いて前記ホルダーの前記第2側壁部に固定されている、
ホルダー付き車両用窓ガラス。
続きを表示(約 960 文字)
【請求項2】
前記第2ガラス板は、前記ホルダーが配置されている位置に対応する位置において、前記ホルダー側に突出している突出部を備え、
前記第2ガラス板の前記突出部が、前記接着部材を用いて前記ホルダーの前記第2側壁部に固定されている、
請求項1に記載のホルダー付き車両用窓ガラス。
【請求項3】
前記合わせガラスの厚さ方向において、前記第2ガラス板の前記突出部と前記第1ガラス板との間に前記接着部材が更に設けられている、請求項2に記載のホルダー付き車両用窓ガラス。
【請求項4】
前記ホルダーの前記第2側壁部の上部方向の長さが、前記第1側壁部の上部方向の長さよりも長くなるように構成されている、請求項1又は2に記載のホルダー付き車両用窓ガラス。
【請求項5】
前記接着部材は、前記接着部材の硬度を示すパラメータが40以上である、請求項1又は2に記載のホルダー付き車両用窓ガラス。
【請求項6】
前記接着部材が、エポキシ系の接着部材又はウレタン系の接着部材である、請求項1又は2に記載のホルダー付き車両用窓ガラス。
【請求項7】
前記中間膜が、エチレン-酢酸ビニル共重合体を含む樹脂材料で構成されている、請求項1又は2に記載のホルダー付き車両用窓ガラス。
【請求項8】
前記ホルダーの前記第2側壁部の頂面に凹凸形状が形成されており、
前記接着部材は、前記第2側壁部の前記凹凸形状に入り込むように配置されている、
請求項1又は2に記載のホルダー付き車両用窓ガラス。
【請求項9】
前記第2ガラス板の前記ホルダーが配置されている位置に対応する位置と前記第2側壁部の頂面には嵌合構造が形成されており、
前記第2ガラス板と前記第2側壁部は、前記嵌合構造によって嵌合するとともに、前記接着部材を用いて互いに固定されている、
請求項1又は2に記載のホルダー付き車両用窓ガラス。
【請求項10】
請求項1又は2に記載のホルダー付き車両用窓ガラスと、
前記ホルダー付き車両用窓ガラスが取り付けられるドアパネルと、を備える、
サッシュレスドア。
発明の詳細な説明
【技術分野】
【0001】
本開示は、ホルダー付き車両用窓ガラス及びサッシュレスドアに関する。
続きを表示(約 1,600 文字)
【背景技術】
【0002】
車両のドア(典型的には、サイドドア)として、サッシュレスドアが広く使用されている。特許文献1には、車両用サッシュレスドアに関する技術が開示されている。
【先行技術文献】
【特許文献】
【0003】
特開2016-88430号公報
【発明の概要】
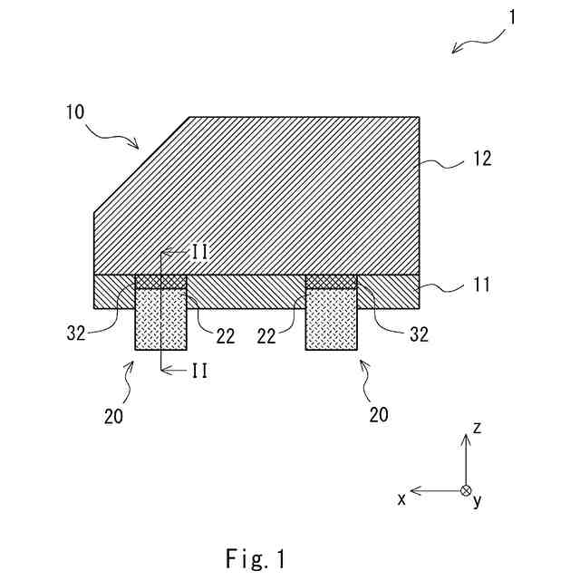
【発明が解決しようとする課題】
【0004】
図10は、関連技術に係るホルダー付き車両用窓ガラスを説明するための平面図である。図11は、関連技術に係るホルダー付き車両用窓ガラスを説明するための断面図であり、図10の切断線XI-XIにおける断面図である。図10に示すように、ホルダー付き車両用窓ガラス101(以下「車両用窓ガラス」とも記載する。)は、合わせガラス110と、合わせガラス110を保持するホルダー120と、備える。図10、図11に示す車両用窓ガラス101は、典型的にはサッシュレスドアに用いられる。
【0005】
図11に示すように、合わせガラス110は、第1ガラス板111と、第2ガラス板112と、第1ガラス板111及び第2ガラス板112に挟持される中間膜113と、を備える。ホルダー120は、yz平面で切断した断面形状が略U字状の溝124を有する。合わせガラス110は、第1ガラス板111がホルダー120の略U字状の溝124に挿入され、接着部材131を用いて接着されることで、ホルダー120に固定されている。第2ガラス板112は、中間膜113を用いて第1ガラス板111に接着されている。
【0006】
ここで、サッシュレスドアに用いられる車両用窓ガラスは、合わせガラス110を支持するサッシュ(窓枠)を備えない。このため、図10、図11に示すように、合わせガラス110の第1ガラス板111のみをホルダー120に固定した場合は、第1ガラス板111に対して第2ガラス板112が面内方向(xz平面内)においてずれることがあった。特に、中間膜113の材質が軟らかい場合は、第1ガラス板111に対して第2ガラス板112がずれやすいという問題があった。
【0007】
本開示は、上記の点に鑑みてなされたものであり、合わせガラスを構成しているガラス板がずれることを抑制可能なホルダー付き車両用窓ガラス及びサッシュレスドアを提供することを目的とする。
【課題を解決するための手段】
【0008】
本開示の一態様に係るホルダー付き車両用窓ガラスは、第1ガラス板と、第2ガラス板と、前記第1ガラス板及び前記第2ガラス板に挟持される中間膜と、を備える合わせガラスと、前記合わせガラスを保持するホルダーと、備える。前記第1ガラス板は、前記第2ガラス板よりも厚くなるように構成されており、前記第2ガラス板は、前記第1ガラス板よりも前記ホルダーで固定される側が短くなるように構成されており、前記ホルダーは、底部と、前記底部の一方側から上部方向に伸びる第1側壁部と、前記底部の他方側から上部方向に伸びる第2側壁部と、を備える溝を有し、前記合わせガラスは、前記第1ガラス板が前記ホルダーの溝に挿入されて接着されることで、前記ホルダーに固定されており、前記第2ガラス板は、接着部材を用いて前記ホルダーの前記第2側壁部に固定されている。
【0009】
本開示の一態様に係るサッシュレスドアは、上述のホルダー付き車両用窓ガラスと、前記ホルダー付き車両用窓ガラスが取り付けられるドアパネルと、を備える。
【発明の効果】
【0010】
本開示により、合わせガラスを構成しているガラス板がずれることを抑制可能なホルダー付き車両用窓ガラス及びサッシュレスドアを提供できる。
【図面の簡単な説明】
(【0011】以降は省略されています)
この特許をJ-PlatPat(特許庁公式サイト)で参照する
関連特許
AGC株式会社
ガラススピーカ
1日前
AGC株式会社
ガラス板検査方法
1日前
AGC株式会社
太陽電池モジュール
1日前
AGC株式会社
搬送治具、搬送システム及び搬送方法
22日前
AGC株式会社
フッ素樹脂接合部材およびその製造方法
8日前
AGC株式会社
ホルダー付き車両用窓ガラス及びサッシュレスドア
23日前
AGC株式会社
水性分散液、及び水性分散液を用いた積層体の製造方法
2日前
AGC株式会社
水性分散液
1か月前
AGC株式会社
光学フィルタ
7日前
AGC株式会社
光学フィルタ
14日前
AGC株式会社
含フッ素化合物
24日前
AGC株式会社
結晶化ガラス、化学強化結晶化ガラス及び結晶化ガラスの試験方法
3日前
AGC株式会社
ガラス基板の製造方法
28日前
AGC株式会社
樹脂組成物、硬化物、積層体、積層体の製造方法、及び光学部品の製造方法
9日前
AGC株式会社
反射型マスクブランク、反射型マスク、反射型マスクブランクの製造方法、及び反射型マスクの製造方法
22日前
AGC株式会社
ガラス溶解炉、ガラス製品の製造設備、およびガラス製品の製造方法
1か月前
AGC株式会社
窒化珪素質焼結体、ベアリング用転動体、窒化珪素質素球、及びベアリング
22日前
AGC株式会社
多孔質ガラス材料、多孔質ガラス材料前駆体の製造方法、多孔質ガラス材料の製造方法、多孔質構造体、物質捕捉フィルター、及び物質捕捉方法
8日前
AGC株式会社
反射型マスクブランク、反射型マスク、反射型マスクブランクの製造方法、及び反射型マスクの製造方法
28日前
AGC株式会社
樹脂層付きガラス板の製造方法、樹脂層付きガラス板、ガラス板、太陽光発電モジュール、太陽光発電モジュールの製造方法
14日前
AGC株式会社
樹脂層付きガラス板の製造方法、樹脂層付きガラス板、ガラス板、太陽光発電モジュール、太陽光発電モジュールの製造方法
14日前
個人
タイヤレバー
4か月前
個人
前輪キャスター
3か月前
個人
上部一体型自動車
2か月前
個人
ルーフ付きトライク
4か月前
個人
タイヤ脱落防止構造
3か月前
個人
空間形成装置
1か月前
日本精機株式会社
表示装置
4か月前
日本精機株式会社
表示装置
3か月前
日本精機株式会社
表示装置
4か月前
日本精機株式会社
表示装置
4か月前
日本精機株式会社
照明装置
1か月前
個人
車両通過構造物
4か月前
個人
マスタシリンダ
2か月前
個人
常設収納型サンバイザー
1か月前
個人
乗合路線バスの客室装置
4か月前
続きを見る
他の特許を見る