TOP
|
特許
|
意匠
|
商標
特許ウォッチ
Twitter
他の特許を見る
10個以上の画像は省略されています。
公開番号
2025170142
公報種別
公開特許公報(A)
公開日
2025-11-14
出願番号
2025153206,2025522224
出願日
2025-09-16,2024-11-12
発明の名称
反射型マスクブランク、反射型マスク、反射型マスクブランクの製造方法、及び反射型マスクの製造方法
出願人
AGC株式会社
代理人
弁理士法人志賀国際特許事務所
主分類
G03F
1/24 20120101AFI20251107BHJP(写真;映画;光波以外の波を使用する類似技術;電子写真;ホログラフイ)
要約
【課題】反射型マスクを静電吸着する静電チャックの摩耗を抑制する、技術の提供。
【解決手段】反射型マスクブランクは、基板と、EUV光を反射する多層反射膜と、EUV光を吸収する吸収膜と、をこの順番で有し、且つ前記基板を基準として前記多層反射膜とは反対側に導電膜を有する。前記導電膜は、ナノインデンターで測定したヤング率が250GPa以下である。
【選択図】なし
特許請求の範囲
【請求項1】
基板と、EUV光を反射する多層反射膜と、EUV光を吸収する吸収膜と、をこの順番で有し、且つ前記基板を基準として前記多層反射膜とは反対側に導電膜を有する、反射型マスクブランクであって、
前記導電膜は、ナノインデンターで測定したヤング率が250GPa以下である、反射型マスクブランク。
続きを表示(約 930 文字)
【請求項2】
前記導電膜は導電性の下層と上層を有し、前記下層と前記上層はこの順番で前記基板の上に形成され、
前記下層は、Cr及びTaから選択される少なくとも1つの金属元素を含み、
前記上層は、O、B、Si及びCから選択される少なくとも1つの非金属元素を合計で5at%以上含む、請求項1に記載の反射型マスクブランク。
【請求項3】
前記上層は、厚みが4nm以上である、請求項2に記載の反射型マスクブランク。
【請求項4】
前記下層は、N、B、Si及びCから選択される少なくとも1つの非金属元素を含む、請求項2又は3に記載の反射型マスクブランク。
【請求項5】
前記上層は、Cr及びTaから選択される少なくとも1つの金属元素を含む、請求項2に記載の反射型マスクブランク。
【請求項6】
前記導電膜の接触抵抗は、1000×10
-3
Ωcm
2
以下である、請求項1~3のいずれか1項に記載の反射型マスクブランク。
【請求項7】
前記導電膜の膜厚は、50nm~400nmである、請求項1~3のいずれか1項に記載の反射型マスクブランク。
【請求項8】
請求項1~3のいずれか1項に記載の反射型マスクブランクを備え、
前記吸収膜に開口パターンを含む、反射型マスク。
【請求項9】
第1主面と前記第1主面とは反対向きの第2主面とを有する基板を準備することと、
前記基板の前記第1主面に、EUV光を反射する多層反射膜と、EUV光を吸収する吸収膜と、をこの順番で成膜することと、
前記基板の前記第2主面に、導電膜を成膜することと、
を有し、
前記導電膜は、ナノインデンターで測定したヤング率が250GPa以下である、反射型マスクブランクの製造方法。
【請求項10】
請求項1~3のいずれか1項に記載の反射型マスクブランクを準備することと、
前記吸収膜に開口パターンを形成することと、
をこの順番で有する、反射型マスクの製造方法。
発明の詳細な説明
【技術分野】
【0001】
本開示は、反射型マスクブランク、反射型マスク、反射型マスクブランクの製造方法、及び反射型マスクの製造方法に関する。
続きを表示(約 1,600 文字)
【背景技術】
【0002】
近年、半導体デバイスの微細化に伴い、極端紫外線(EUV:Extreme Ultra-Violet)を用いた露光技術であるEUVリソグラフィー(EUVL)が開発されている。EUVとは、軟X線及び真空紫外線を含み、具体的には波長が0.2nm~100nm程度の光のことである。現時点では、13.5nm程度の波長のEUVが主に検討されている。
【0003】
EUVLでは、反射型マスクが用いられる。反射型マスクは、例えば基板と多層反射膜と吸収膜とをこの順番で有する。多層反射膜は、EUV光を反射する。吸収膜は、EUV光を吸収する。吸収膜は、EUV光を吸収するだけではなく、EUV光の位相をシフトしてもよい。つまり、吸収膜は、位相シフト膜であってもよい。EUVLでは、吸収膜の開口パターンを半導体基板などの対象基板に転写する。転写することは、縮小して転写することを含む。
【0004】
反射型マスクは、基板を基準として多層反射膜とは反対側に導電膜を有する。導電膜は、例えば反射型マスクを露光装置の静電チャックに吸着するのに用いられる。特許文献1に記載の反射型マスクの導電膜は、大気雰囲気中で測定した静摩擦係数が0.25以上である。静摩擦係数が0.25以上であれば、静電チャックが高速で移動しても、反射型マスクの位置ずれを抑制することができる旨、記載されている。
【先行技術文献】
【特許文献】
【0005】
国際公開第2016/204051号
【発明の概要】
【発明が解決しようとする課題】
【0006】
露光装置の静電チャックは、反射型マスクのメンテナンス又は交換などを目的として、反射型マスクの吸着と、吸着の解除とを繰り返す。このとき、静電チャックが摩耗してしまう。その結果、パーティクルが発生することがあった。パーティクルは、静電チャックと反射型マスクの間に噛み込み、反射型マスクを変形させてしまう。その結果、EUVLの転写精度が悪化することがあった。
【0007】
本開示の一態様は、反射型マスクを静電吸着する静電チャックの摩耗を抑制する、技術を提供する。
【課題を解決するための手段】
【0008】
本開示の一態様に係る反射型マスクブランクは、基板と、EUV光を反射する多層反射膜と、EUV光を吸収する吸収膜と、をこの順番で有し、且つ前記基板を基準として前記多層反射膜とは反対側に導電膜を有する。前記導電膜は、ナノインデンターで測定したヤング率が250GPa以下である。
【発明の効果】
【0009】
本開示の一態様によれば、反射型マスクを静電吸着する静電チャックの摩耗を抑制することができる。
【図面の簡単な説明】
【0010】
図1は、一実施形態に係る反射型マスクブランクを示す断面図である。
図2は、一実施形態に係る反射型マスクブランクの製造方法を示すフローチャートである。
図3は、一実施形態に係る反射型マスクを示す断面図である。
図4は、一実施形態に係る反射型マスクの製造方法を示すフローチャートである。
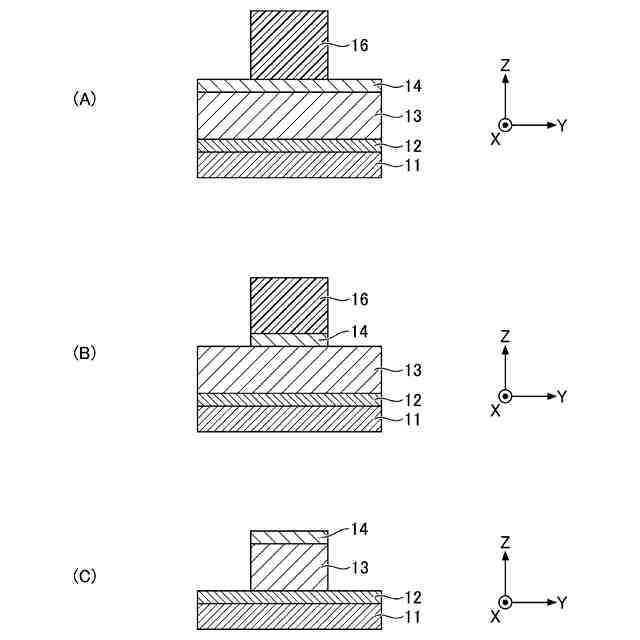
図5(A)はS201の一例を示す断面図であり、図5(B)はS202の一例を示す断面図であり、図5(C)はS203の一例を示す断面図である。
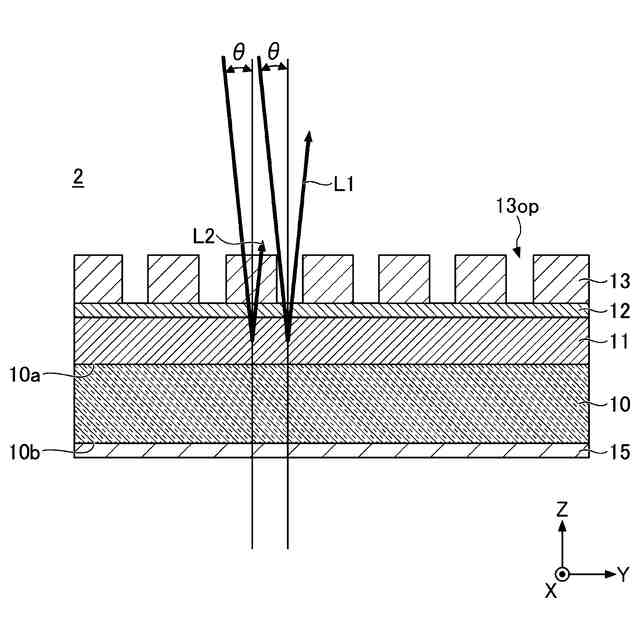
図6は、図3の反射型マスクで反射されるEUV光の一例を示す断面図である。
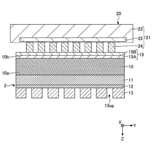
図7は、反射型マスクと静電チャックの一例を示す断面図である。
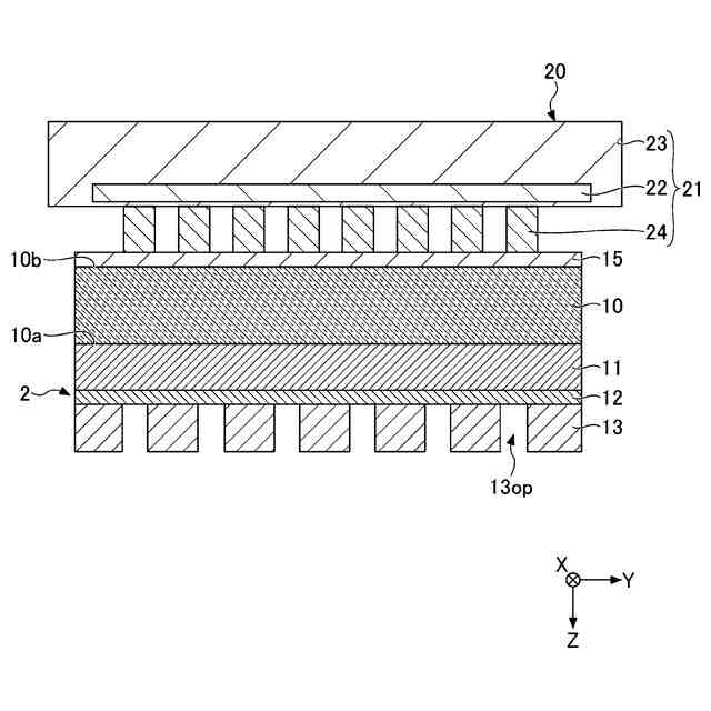
図8は、反射型マスクと静電チャックの別の一例を示す断面図である。
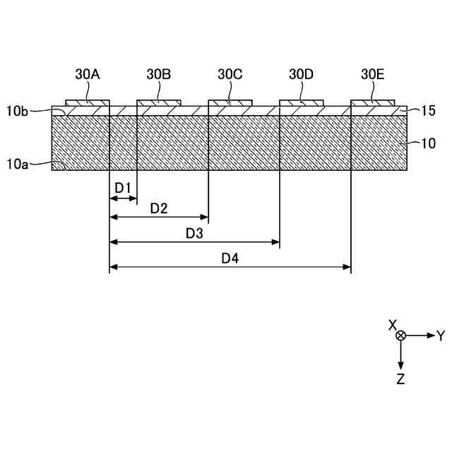
図9は、接触抵抗の測定に用いる電極の配置の一例を示す断面図である。
図10は、抵抗と電極間距離と接触抵抗の関係の一例を示す図である。
【発明を実施するための形態】
(【0011】以降は省略されています)
この特許をJ-PlatPat(特許庁公式サイト)で参照する
関連特許
AGC株式会社
フッ素樹脂組成物
29日前
AGC株式会社
インフィニティミラー
1か月前
AGC株式会社
ガラス材料、結晶化ガラス
1か月前
AGC株式会社
調光デバイスおよび調光方法
1か月前
AGC株式会社
反射型マスクブランクの製造方法
1か月前
AGC株式会社
位相差素子、円偏光板、及び光学部品
1か月前
AGC株式会社
フラットハーネス付き車両用窓ガラス
1か月前
AGC株式会社
搬送治具、搬送システム及び搬送方法
16日前
AGC株式会社
フッ素樹脂接合部材およびその製造方法
2日前
AGC株式会社
フラットハーネス付き車両用窓ガラスシステム
1か月前
AGC株式会社
車両用ガラス板、及び車両用ガラス板の製造方法
1か月前
AGC株式会社
ホルダー付き車両用窓ガラス及びサッシュレスドア
17日前
AGC株式会社
水性分散液
29日前
AGC株式会社
合わせガラス
1か月前
AGC株式会社
光学フィルタ
8日前
AGC株式会社
光学フィルタ
1日前
AGC株式会社
含フッ素化合物
18日前
AGC株式会社
化学強化ガラス、画像表示装置用カバーガラス、防汚層付きガラス材
1か月前
AGC株式会社
ガラス、ガラス粉末、混合粉、ガラスペースト、及びグリーンシート
1か月前
AGC株式会社
ガラス基板の製造方法
22日前
AGC株式会社
樹脂組成物、硬化物、積層体、積層体の製造方法、及び光学部品の製造方法
3日前
林テレンプ株式会社
コリメート用プリズムおよび車両の窓ガラス用照明構造
1か月前
AGC株式会社
プリフォームの製造方法、光学素子の製造方法、及び光学素子用プリフォーム
1か月前
AGC株式会社
ガラスおよび化学強化ガラス
1か月前
AGC株式会社
化学強化ガラス物品およびその製造方法
1か月前
AGC株式会社
反射型マスクブランク、反射型マスク、反射型マスクブランクの製造方法、及び反射型マスクの製造方法
16日前
AGC株式会社
反射型マスクブランク、反射型マスク、反射型マスクブランクの製造方法、及び反射型マスクの製造方法
1か月前
AGC株式会社
高周波デバイス用ガラス基板、液晶アンテナ及び高周波デバイス
1か月前
AGC株式会社
ガラス溶解炉、ガラス製品の製造設備、およびガラス製品の製造方法
29日前
AGC株式会社
窒化珪素質焼結体、ベアリング用転動体、窒化珪素質素球、及びベアリング
16日前
AGC株式会社
結晶化ガラス、高周波用基板、液晶用アンテナおよび結晶化ガラスの製造方法
1か月前
AGC株式会社
多孔質ガラス材料、多孔質ガラス材料前駆体の製造方法、多孔質ガラス材料の製造方法、多孔質構造体、物質捕捉フィルター、及び物質捕捉方法
2日前
AGC株式会社
反射型マスクブランク、反射型マスク、反射型マスクブランクの製造方法、及び反射型マスクの製造方法
22日前
AGC株式会社
樹脂層付きガラス板の製造方法、樹脂層付きガラス板、ガラス板、太陽光発電モジュール、太陽光発電モジュールの製造方法
8日前
AGC株式会社
樹脂層付きガラス板の製造方法、樹脂層付きガラス板、ガラス板、太陽光発電モジュール、太陽光発電モジュールの製造方法
8日前
AGC株式会社
含フッ素エーテル化合物及びその製造方法、化合物及びその製造方法、含フッ素エーテル組成物、コーティング液、並びに物品及びその製造方法
1か月前
続きを見る
他の特許を見る