TOP
|
特許
|
意匠
|
商標
特許ウォッチ
Twitter
他の特許を見る
10個以上の画像は省略されています。
公開番号
2025162862
公報種別
公開特許公報(A)
公開日
2025-10-28
出願番号
2024066330
出願日
2024-04-16
発明の名称
位相差素子、円偏光板、及び光学部品
出願人
AGC株式会社
代理人
個人
主分類
G02B
5/30 20060101AFI20251021BHJP(光学)
要約
【課題】広い入射角及び入射方位角で位相差素子に入射する光の偏光状態を、高い楕円率で変換可能な位相差素子を提供する。
【解決手段】本位相差素子は、第1の位相差層と、前記第1の位相差層の上に配置される第2の位相差層と、を有し、前記第1の位相差層では、上面視において、面内の位置によらず、光学軸方向及びリタデーションの双方が揃っており、前記第2の位相差層では、上面視において、面内の位置によらずリタデーションが揃っており、面内の位置によって光学軸方向が異なっている。
【選択図】図1A
特許請求の範囲
【請求項1】
第1の位相差層と、
前記第1の位相差層の上に配置される第2の位相差層と、を有し、
前記第1の位相差層では、上面視において、面内の位置によらずリタデーション及び光学軸方向の双方が揃っており、
前記第2の位相差層では、上面視において、面内の位置によらずリタデーションが揃っており、面内の位置によって光学軸方向が異なっている、位相差素子。
続きを表示(約 2,000 文字)
【請求項2】
三次元曲面形状を含み、
前記三次元曲面形状の面の傾斜方向と傾斜角度に応じて、面垂直視した光学軸方向が異なっている、請求項1に記載の位相差素子。
【請求項3】
前記第1の位相差層及び前記第2の位相差層のそれぞれは、高分子化された液晶を含み、
前記第1の位相差層では、上面視において、面内の位置によらずリタデーション及び配向軸方向の双方が揃っており、
前記第2の位相差層では、上面視において、面内の位置によらずリタデーションが揃っており、面内の位置によって配向軸方向が異なっている、請求項1に記載の位相差素子。
【請求項4】
前記第1の位相差層及び前記第2の位相差層の少なくとも一方に含まれる前記液晶の配向は、前記位相差素子の法線方向にねじれている、請求項3に記載の位相差素子。
【請求項5】
前記第2の位相差層は、上面視において、配向軸方向が互いに異なる複数の領域を含み、
前記複数の領域は、上面視において、モザイク状に配置され、
上面視における前記複数の領域それぞれの内側では、面内の位置によらず配向軸方向が揃っており、
前記複数の領域それぞれの配向軸方向は、上面視において、面内における前記複数の領域それぞれの位置に応じて異なっている、請求項4に記載の位相差素子。
【請求項6】
波長が550nmの光が下方から前記位相差素子に垂直に入射したとき、
前記第1の位相差層において、前記光に対するリタデーションが70.5nm以上で107.7nm以下、前記液晶の総ねじれ量が6.0°以上27.0°以下であり、
前記第2の位相差層において、前記光に対するリタデーションが193.7nm以上で265.5nm以下、前記液晶の総ねじれ量が-112.5°以上で-95.0°以下である場合に、
前記第1の位相差層の配向軸方向と、前記第2の位相差層の配向軸方向との差は、-60.9°以上-38.9°以下である、請求項4に記載の位相差素子。
【請求項7】
上面視における前記第1の位相差層において、前記第1の位相差層の配向軸方向を反時計回りに49.4°回転させた方向を基準方向とし、
上面視における前記第2の位相差層において、前記第2の位相差層の配向軸方向が前記基準方向から-11.5°以上10.5°以下の点を第1の点とし、振幅をAmとしたときに、前記第1の点を回転中心に、反時計回りに回転角度θ回転させた方向に位置する第2の点の配向軸方向pT2は、次式で表される、
pT2=Am×sin(2×π×(θ+77.5)/180)
請求項6に記載の位相差素子。
【請求項8】
波長が550nmの光が下方から前記位相差素子に垂直に入射したとき、
前記第1の位相差層において、前記光に対するリタデーションが70.5nm以上で107.7nm以下、前記液晶の総ねじれ量が-27.0°以上で-6.0°以下であり、
前記第2の位相差層において、前記光に対するリタデーションが193.7nm以上で265.5nm以下、前記液晶の総ねじれ量が95.0°以上で112.5°以下である場合に、
前記第1の位相差層の配向軸方向と、前記第2の位相差層の配向軸方向との差は、38.9°以上60.9°以下である、請求項4に記載の位相差素子。
【請求項9】
上面視における前記第1の位相差層において、前記第1の位相差層の配向軸方向を反時計回りに-49.4°回転させた方向を基準方向とし、
上面視における前記第2の位相差層において、前記第2の位相差層の配向軸方向が前記基準方向から-10.5°以上11.5°以下の点を第1の点とし、振幅をAmとしたときに、前記第1の点を回転中心に、反時計回りに回転角度θ回転させた方向に位置する第2の点の配向軸方向pT2は、次式で表される、
pT2=Am×sin(2×π×(θ-77.5)/180)
請求項8に記載の位相差素子。
【請求項10】
波長が550nmの光が下方から前記位相差素子に垂直に入射したときに、
前記第1の位相差層において、前記光に対するリタデーションが94.9nm以上で112.9nm以下、前記液晶の総ねじれ量が0°であり、
前記第2の位相差層において、前記光に対するリタデーションが220.6nm以上で255.2nm以下、前記液晶の総ねじれ量が-109.0°以上で-101.0°以下である場合に、
前記第1の位相差層の配向軸方向と、前記第2の位相差層の配向軸方向との差は、-4.5°以上4.5°以下である、請求項4に記載の位相差素子。
(【請求項11】以降は省略されています)
発明の詳細な説明
【技術分野】
【0001】
本開示は、位相差素子、円偏光板、及び光学部品に関する。
続きを表示(約 3,200 文字)
【背景技術】
【0002】
入射する直線偏光を楕円偏光に変換するか、又は入射する楕円偏光を直線偏光に変換する位相差素子が知られている。
【0003】
位相差素子として、複数の光学異方性層を積層した光学フィルムが開示されている(例えば、特許文献1参照)。
【先行技術文献】
【特許文献】
【0004】
特開2011-207765号公報
【発明の概要】
【発明が解決しようとする課題】
【0005】
本開示の一態様は、広い入射角及び入射方位角で位相差素子に入射する光の偏光状態を、高い楕円率で変換可能な位相差素子を提供することを目的とする。
【課題を解決するための手段】
【0006】
本開示の一態様に係る位相差素子は、第1の位相差層と、前記第1の位相差層の上に配置される第2の位相差層と、を有し、前記第1の位相差層では、上面視において、面内の位置によらず、光学軸方向及びリタデーションの双方が揃っており、前記第2の位相差層では、上面視において、面内の位置によらずリタデーションが揃っており、面内の位置によって光学軸方向が異なっている。
【発明の効果】
【0007】
本開示の一態様によれば、広い入射角及び入射方位角で位相差素子に入射する光の偏光状態を、高い楕円率で変換可能な位相差素子を提供できる。
【図面の簡単な説明】
【0008】
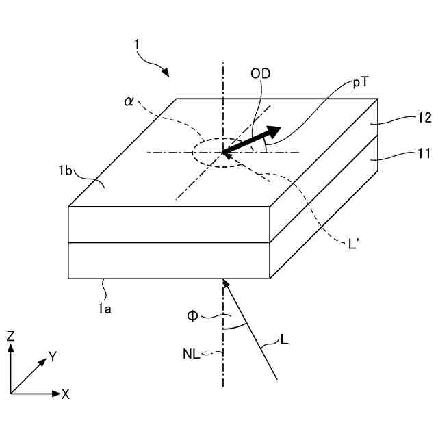
第1実施形態に係る位相差素子の構成の一例を示す模式的斜視図である。
第1実施形態に係る位相差素子が備える第1の位相差層の配向軸の一例を示す模式的上面図である。
第1実施形態に係る位相差素子が備える第2の位相差層の配向軸の一例を示す模式的上面図である。
第1実施形態に係る位相差素子から出射する楕円偏光の一例を示す図である。
第1実施形態に係る位相差素子における第1の位相差層の構成の一例を示す模式的側面図である。
第1変形例に係る位相差素子を示す模式的側面図である。
第2変形例に係る位相差素子を示す模式的側面図である。
第3変形例に係る位相差素子を示す模式的側面図である。
第4変形例に係る位相差素子を示す模式的側面図である。
図1の位相差素子における液晶の配向の一例を示す模式的斜視図である。
配向層の構成の一例を説明する模式的斜視図である。
配向層の形成方法の一例を示す模式的斜視図である。
基準方向と第1の点と第2の点との関係の一例を示す図である。
第2の位相差層における配向軸方向の第一例を示す図である。
第2の位相差層における配向軸方向の第二例を示す図である。
第2の位相差層における配向軸方向の第三例を示す図である。
第2の位相差層における配向軸方向の第四例を示す図である。
第2の位相差層における配向軸方向の第五例を示す図である。
第1実施形態に係る位相差素子のモデルM1を示す模式的斜視図である。
例1に係る位相差素子の第2の位相差層の配向軸方向を示す図である。
例1に係る位相差素子の波長550nmに対する楕円率を示す図である。
例2に係る位相差素子の波長550nmに対する楕円率を示す図である。
第1実施形態に係る位相差素子のモデルM2-1を示す模式的上面図である。
第1実施形態に係る位相差素子のモデルM2-1を示す模式的側面図である。
第1実施形態に係る位相差素子のモデルM2-2を示す模式的側面図である。
例3に係る位相差素子の第2の位相差層の配向軸方向を示す第1図である。
例3に係る位相差素子の第2の位相差層の配向軸方向を示す第2図である。
例3に係る位相差素子の第2の位相差層の配向軸方向を示す第3図である。
例3に係る位相差素子の第2の位相差層の配向軸方向を示す第4図である。
例3に係る位相差素子の波長550nmに対する楕円率を示す図である。
例3'に係る位相差素子の波長550nmに対する楕円率を示す図である。
例4に係る位相差素子の波長550nmに対する楕円率を示す図である。
例5及び例6に係る位相差素子のモデルM3を示す模式的斜視図である。
例5に係る位相差素子の第2の位相差層の配向軸方向を示す図である。
例5に係る位相差素子の波長550nmに対する楕円率を示す図である。
例6に係る位相差素子の波長550nmに対する楕円率を示す図である。
第1実施形態に係る位相差素子のモデルM4の第1例を示す模式的上面図である。
第1実施形態に係る位相差素子1のモデルM4を示す模式的側面図である。
第1実施形態に係る位相差素子のモデルM4の第2例を示す模式的上面図である。
例7に係る位相差素子の第2の位相差層の配向軸方向を示す図である。
例7'に係る位相差素子の第2の位相差層の配向軸方向を示す図である。
例9に係る位相差素子の第2の位相差層の配向軸方向を示す図である。
例9'に係る位相差素子の第2の位相差層の配向軸方向を示す図である。
第2実施形態に係る光学部品200の構成を示す模式図である。
図29におけるXXX-XXX線の模式的断面図である。
図30Aにおける位相差素子の配向軸方向を平面に置き換えて示した模式図である。
第2の位相差層の配向軸方向の決定方法を示す図である。
第2実施形態に係る位相差素子のモデルM6を示す断面図である。
第2実施形態に係る位相差素子のモデルM6の第1例を示す上面図である。
第2実施形態に係る位相差素子のモデルM6の第2例を示す上面図である。
【発明を実施するための形態】
【0009】
以下、図面を参照して発明を実施するための形態について詳細に説明する。但し、以下に示す形態は、本実施形態の技術思想を具現化するための位相差素子を例示するものであって、以下に限定するものではない。なお、各図面が示す部材の大きさ、位置関係等は、説明を明確にするため誇張していることがある。各図面において、同一構成部分には同一符号を付し、重複した説明を適宜省略する。
【0010】
以下に示す図面において、方向を表すために、X軸、Y軸及びZ軸を備える直交座標を用いる。X軸に沿うX方向は、実施形態に係る位相差素子における光の入射面に沿う面内における所定方向を示す。Y軸に沿うY方向は、上記面内においてX方向と直交する方向を示す。Z軸に沿うZ方向は上記面に直交する方向を示す。X方向で矢印が向いている方向を+X方向、+X方向の反対方向を-X方向と表記する。Y方向で矢印が向いている方向を+Y方向、+Y方向の反対方向を-Y方向と表記する。Z方向で矢印が向いている方向を+Z方向、+Z方向の反対方向を-Z方向と表記する。実施形態では、+Z方向に進む光が位相差素子に入射し、位相差素子を透過した後、位相差素子から出射するものとする。本明細書では、光は+Z方向に進むものとする。また、本明細書において、+Z方向を「上」又は「上方」といい、-Z方向を「下」又は「下方」という。上面視とは、+Z方向から対象物を視ることをいう。但し、これらの方向表現は、本開示の実施形態の方向を限定するものではない。
(【0011】以降は省略されています)
この特許をJ-PlatPat(特許庁公式サイト)で参照する
関連特許
AGC株式会社
フッ素樹脂組成物
1か月前
AGC株式会社
調光デバイスおよび調光方法
1か月前
AGC株式会社
反射型マスクブランクの製造方法
1か月前
AGC株式会社
フラットハーネス付き車両用窓ガラス
1か月前
AGC株式会社
位相差素子、円偏光板、及び光学部品
1か月前
AGC株式会社
搬送治具、搬送システム及び搬送方法
19日前
AGC株式会社
フッ素樹脂接合部材およびその製造方法
5日前
AGC株式会社
フラットハーネス付き車両用窓ガラスシステム
1か月前
AGC株式会社
ホルダー付き車両用窓ガラス及びサッシュレスドア
20日前
AGC株式会社
水性分散液
1か月前
AGC株式会社
光学フィルタ
11日前
AGC株式会社
光学フィルタ
4日前
AGC株式会社
含フッ素化合物
21日前
AGC株式会社
結晶化ガラス、化学強化結晶化ガラス及び結晶化ガラスの試験方法
今日
AGC株式会社
ガラス基板の製造方法
25日前
AGC株式会社
樹脂組成物、硬化物、積層体、積層体の製造方法、及び光学部品の製造方法
6日前
AGC株式会社
プリフォームの製造方法、光学素子の製造方法、及び光学素子用プリフォーム
1か月前
林テレンプ株式会社
コリメート用プリズムおよび車両の窓ガラス用照明構造
1か月前
AGC株式会社
反射型マスクブランク、反射型マスク、反射型マスクブランクの製造方法、及び反射型マスクの製造方法
19日前
AGC株式会社
高周波デバイス用ガラス基板、液晶アンテナ及び高周波デバイス
1か月前
AGC株式会社
ガラス溶解炉、ガラス製品の製造設備、およびガラス製品の製造方法
1か月前
AGC株式会社
窒化珪素質焼結体、ベアリング用転動体、窒化珪素質素球、及びベアリング
19日前
AGC株式会社
結晶化ガラス、高周波用基板、液晶用アンテナおよび結晶化ガラスの製造方法
1か月前
AGC株式会社
多孔質ガラス材料、多孔質ガラス材料前駆体の製造方法、多孔質ガラス材料の製造方法、多孔質構造体、物質捕捉フィルター、及び物質捕捉方法
5日前
AGC株式会社
反射型マスクブランク、反射型マスク、反射型マスクブランクの製造方法、及び反射型マスクの製造方法
25日前
AGC株式会社
樹脂層付きガラス板の製造方法、樹脂層付きガラス板、ガラス板、太陽光発電モジュール、太陽光発電モジュールの製造方法
11日前
AGC株式会社
樹脂層付きガラス板の製造方法、樹脂層付きガラス板、ガラス板、太陽光発電モジュール、太陽光発電モジュールの製造方法
11日前
株式会社シグマ
結像光学系
1か月前
アイカ工業株式会社
反射防止フィルム
6日前
株式会社コシナ
投射ズームレンズ
25日前
豊田合成株式会社
調光装置
19日前
日東電工株式会社
導光部材
1か月前
日東電工株式会社
光学積層体
1か月前
日本精機株式会社
ヘッドアップディスプレイ
1か月前
日本精機株式会社
ヘッドアップディスプレイ
1か月前
キヤノン株式会社
表示装置
11日前
続きを見る
他の特許を見る