TOP
|
特許
|
意匠
|
商標
特許ウォッチ
Twitter
他の特許を見る
公開番号
2025146001
公報種別
公開特許公報(A)
公開日
2025-10-03
出願番号
2024046556
出願日
2024-03-22
発明の名称
合紙積層装置
出願人
AGC株式会社
代理人
弁理士法人栄光事務所
主分類
B65H
23/34 20060101AFI20250926BHJP(運搬;包装;貯蔵;薄板状または線条材料の取扱い)
要約
【課題】ロール紙から引き出した長尺状の合紙を切断してガラス基板へ良好に積層させることが可能な合紙積層装置を提供する。
【解決手段】搬送される複数のガラス基板Gの表面に合紙1を順に重ね合わせる合紙積層装置100であって、長尺状合紙1Lをロール状に巻回したロール紙1Rから長尺状合紙1Lを繰り出す繰り出し機構25と、繰り出し機構25によって繰り出した長尺状合紙1Lを切断してガラス基板Gの表面に重ね合わせる大きさの合紙1とする切断機構26と、切断機構26によって切断された合紙1をガラス基板Gの表面へ搬送するガイド機構27と、切断機構26よりも長尺状合紙1Lの繰り出し方向Yの上流側に配置されて長尺状合紙1Lの少なくとも一方の面に霧状の水Wを吹き付ける噴霧機構13と、を備える。
【選択図】図1
特許請求の範囲
【請求項1】
搬送される複数のガラス基板の表面に合紙を順に重ね合わせる合紙積層装置であって、
長尺状合紙をロール状に巻回したロール紙から前記長尺状合紙を繰り出す繰り出し機構と、
前記繰り出し機構によって繰り出した前記長尺状合紙を切断して前記ガラス基板の表面に重ね合わせる大きさの合紙とする切断機構と、
前記切断機構によって切断された合紙を前記ガラス基板の表面へ搬送するガイド機構と、
前記切断機構よりも前記長尺状合紙の繰り出し方向の上流側に配置されて前記長尺状合紙の少なくとも一方の面に霧状の水を吹き付ける噴霧機構と、
を備える、
合紙積層装置。
続きを表示(約 620 文字)
【請求項2】
前記繰り出し機構は、外周面に前記長尺状合紙が接触される複数のローラを備え、
前記噴霧機構は、前記繰り出し機構における最下流のローラとの接触箇所よりも上流側に配置されている、
請求項1に記載の合紙積層装置。
【請求項3】
前記噴霧機構は、前記長尺状合紙へ向かって霧状の水を噴霧する複数の噴霧器を備え、
前記複数の噴霧器は、前記長尺状合紙の繰り出し方向と直交する幅方向に間隔をあけて配置されている、
請求項1に記載の合紙積層装置。
【請求項4】
前記噴霧機構は、前記長尺状合紙の繰り出し方向の複数箇所に配置されている、
請求項1に記載の合紙積層装置。
【請求項5】
前記噴霧機構は、前記長尺状合紙の表裏の両面側に配置されている、
請求項1に記載の合紙積層装置。
【請求項6】
前記噴霧機構における前記霧状の水を噴出する噴出口と前記長尺状合紙との距離が100mm以上1000mm以下である、
請求項1に記載の合紙積層装置。
【請求項7】
前記ロール紙の外径を検知するセンサと、
前記センサからの外径の検知結果に基づいて、前記ロール紙の外径が閾値以下となった際に、前記噴霧機構を作動させる制御部と、
を備える、
請求項1~6のいずれか一項に記載の合紙積層装置。
発明の詳細な説明
【技術分野】
【0001】
本発明は、合紙積層装置に関する。
続きを表示(約 1,300 文字)
【背景技術】
【0002】
例えば、液晶ディスプレイやプラズマディスプレイなどに用いられるFPD(Flat panel Display)用のガラス基板などでは、表面への微細な異物や傷の付着を抑えることが要求される。このため、保管中や搬送中において、ガラス基板の表面に合紙を重ね合わせている(例えば、特許文献1)。
【0003】
この合紙は、長尺状の合紙をロール状に巻回したロール紙から引き出され、切断機によってガラス基板の表面を覆う大きさに切断されてガラス基板に重ねられる(例えば、特許文献2,3参照)。
【先行技術文献】
【特許文献】
【0004】
特開2013-256315号公報
特許第5807417号公報
特許第6953795号公報
【発明の概要】
【発明が解決しようとする課題】
【0005】
ところで、ロール紙から引き出される長尺状の合紙は、ロール紙の巻回径が小さくなるにつれて巻き癖が強くなる。すると、切断後の搬送途中において、合紙が装置に引っ掛かったり、位置ずれなどを生じ、その結果、ガラス基板の表面に重ね合わせた際にガラス基板から浮き上がる積層不良が生じるおそれがある。
【0006】
そこで本発明は、ロール紙から引き出した長尺状の合紙を切断してガラス基板へ良好に積層させることが可能な合紙積層装置を提供することを目的とする。
【課題を解決するための手段】
【0007】
本発明は下記構成からなる。
搬送される複数のガラス基板の表面に合紙を順に重ね合わせる合紙積層装置であって、
長尺状合紙をロール状に巻回したロール紙から前記長尺状合紙を繰り出す繰り出し機構と、
前記繰り出し機構によって繰り出した前記長尺状合紙を切断して前記ガラス基板の表面に重ね合わせる大きさの合紙とする切断機構と、
前記切断機構によって切断された合紙を前記ガラス基板の表面へ搬送するガイド機構と、
前記切断機構よりも前記長尺状合紙の繰り出し方向の上流側に配置されて前記長尺状合紙の少なくとも一方の面に霧状の水を吹き付ける噴霧機構と、
を備える、
合紙積層装置。
【発明の効果】
【0008】
本発明によれば、ロール紙から引き出した長尺状の合紙を切断してガラス基板へ良好に積層させることが可能な合紙積層装置を提供できる。
【図面の簡単な説明】
【0009】
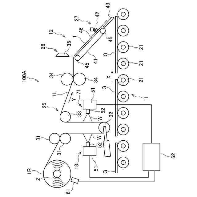
図1は、本実施形態に係る合紙積層装置の構成図である。
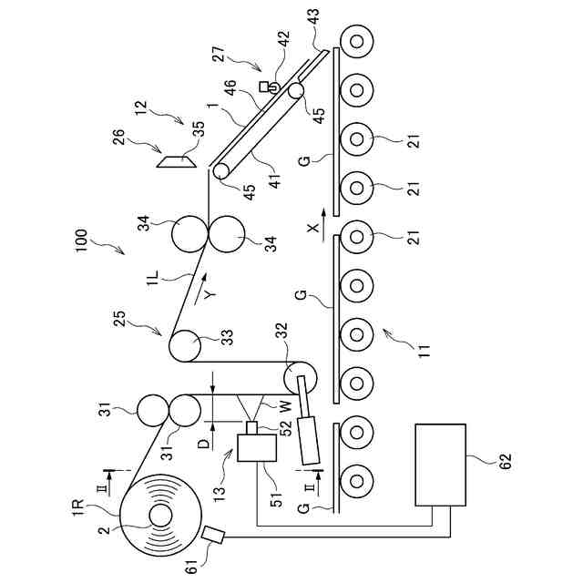
図2は、図1におけるII-II断面図である。
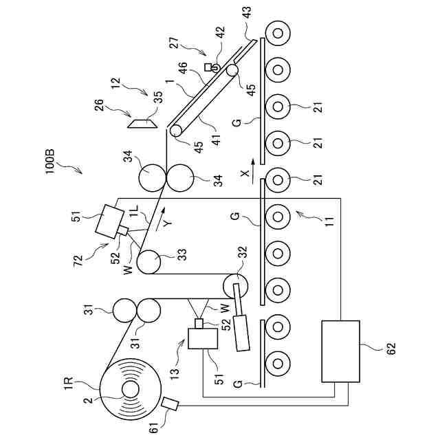
図3は、変形例1に係る合紙積層装置の構成図である。
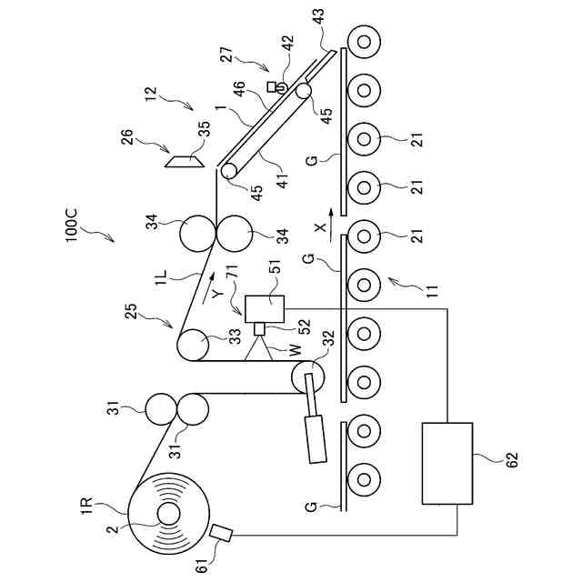
図4は、変形例2に係る合紙積層装置の構成図である。
図5は、変形例3に係る合紙積層装置の構成図である。
図6は、ガイド機構の他の例を示す構成図である。
【発明を実施するための形態】
【0010】
以下、本発明の実施形態について、図面を参照して詳細に説明する。
図1は、本実施形態に係る合紙積層装置100の構成図である。
(【0011】以降は省略されています)
この特許をJ-PlatPat(特許庁公式サイト)で参照する
関連特許
AGC株式会社
車両用窓ガラス
1か月前
AGC株式会社
積層体及び移動体
1か月前
AGC株式会社
フッ素樹脂組成物
19日前
AGC株式会社
インフィニティミラー
1か月前
AGC株式会社
ガラス材料、結晶化ガラス
1か月前
AGC株式会社
調光デバイスおよび調光方法
27日前
AGC株式会社
反射型マスクブランクの製造方法
1か月前
AGC株式会社
車両用窓ガラス及びサッシュレスドア
1か月前
AGC株式会社
搬送治具、搬送システム及び搬送方法
6日前
AGC株式会社
フラットハーネス付き車両用窓ガラス
1か月前
AGC株式会社
位相差素子、円偏光板、及び光学部品
29日前
AGC株式会社
フラットハーネス付き車両用窓ガラスシステム
1か月前
AGC株式会社
車両用ガラス板、及び車両用ガラス板の製造方法
1か月前
AGC株式会社
ホルダー付き車両用窓ガラス及びサッシュレスドア
7日前
AGC株式会社
水性分散液
19日前
AGC株式会社
合わせガラス
1か月前
AGC株式会社
含フッ素化合物
8日前
AGC株式会社
ガラス、ガラス粉末、混合粉、ガラスペースト、及びグリーンシート
1か月前
AGC株式会社
化学強化ガラス、画像表示装置用カバーガラス、防汚層付きガラス材
1か月前
AGC株式会社
ガラス基板の製造方法
12日前
林テレンプ株式会社
コリメート用プリズムおよび車両の窓ガラス用照明構造
27日前
AGC株式会社
プリフォームの製造方法、光学素子の製造方法、及び光学素子用プリフォーム
22日前
AGC株式会社
ガラスおよび化学強化ガラス
1か月前
AGC株式会社
化学強化ガラス物品およびその製造方法
1か月前
AGC株式会社
反射型マスクブランク、反射型マスク、反射型マスクブランクの製造方法、及び反射型マスクの製造方法
6日前
AGC株式会社
反射型マスクブランク、反射型マスク、反射型マスクブランクの製造方法、及び反射型マスクの製造方法
1か月前
AGC株式会社
高周波デバイス用ガラス基板、液晶アンテナ及び高周波デバイス
1か月前
AGC株式会社
ガラス溶解炉、ガラス製品の製造設備、およびガラス製品の製造方法
19日前
AGC株式会社
窒化珪素質焼結体、ベアリング用転動体、窒化珪素質素球、及びベアリング
6日前
AGC株式会社
結晶化ガラス、高周波用基板、液晶用アンテナおよび結晶化ガラスの製造方法
27日前
AGC株式会社
反射型マスクブランク、反射型マスク、反射型マスクブランクの製造方法、及び反射型マスクの製造方法
12日前
AGC株式会社
含フッ素エーテル化合物及びその製造方法、化合物及びその製造方法、含フッ素エーテル組成物、コーティング液、並びに物品及びその製造方法
1か月前
個人
束ね具
15日前
個人
収容箱
4か月前
個人
コンベア
6か月前
個人
段ボール箱
8か月前
続きを見る
他の特許を見る