TOP
|
特許
|
意匠
|
商標
特許ウォッチ
Twitter
他の特許を見る
公開番号
2025163749
公報種別
公開特許公報(A)
公開日
2025-10-30
出願番号
2024067240
出願日
2024-04-18
発明の名称
調光デバイスおよび調光方法
出願人
AGC株式会社
,
国立大学法人東京科学大学
代理人
個人
主分類
G02F
1/19 20190101AFI20251023BHJP(光学)
要約
【課題】プラズモン共鳴粒子を用いた新規な調光デバイスおよび調光方法を提供する。
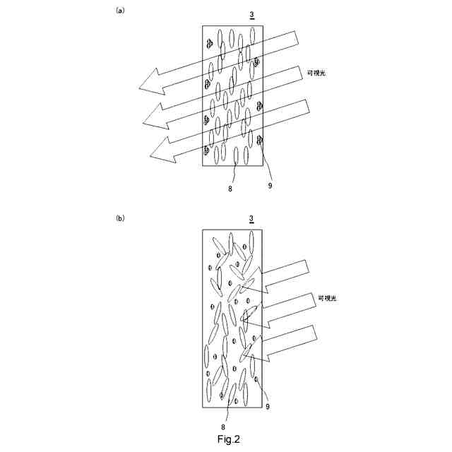
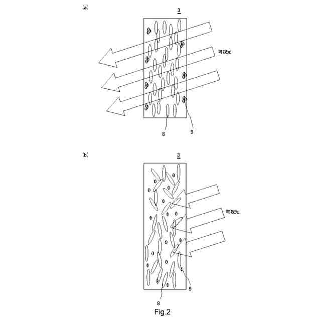
【解決手段】第一基板1と、第二基板2と、第一基板1と第二基板2の間に挟持された液晶層3を有する。液晶層3は、外部刺激に応じて液晶分子8の配向方向が可逆的に変化する液晶成分と、液晶分子8の配向方向に応じて、表面プラズモン共鳴吸収特性が可逆的に変化するプラズモン共鳴粒子9とを有する調光デバイスにより解決される。
【選択図】図2
特許請求の範囲
【請求項1】
第一基板と、第二基板と、前記第一基板と前記第二基板の間に挟持された液晶層とを備え、
前記液晶層は、外部刺激に応じて液晶分子の配向方向が可逆的に変化する液晶成分と、前記液晶分子の配向方向に応じて、表面プラズモン共鳴吸収特性が可逆的に変化するプラズモン共鳴粒子とを有する、調光デバイス。
続きを表示(約 550 文字)
【請求項2】
前記プラズモン共鳴粒子が、金属ナノ粒子、および前記金属ナノ粒子を含むナノ複合体粒子の少なくとも一方を含む、請求項1に記載の調光デバイス。
【請求項3】
前記ナノ複合体粒子は、前記金属ナノ粒子の表面に液晶性化合物が被覆した粒子である、請求項2に記載の調光デバイス。
【請求項4】
前記液晶層は、温度に応じて、等方相と液晶相が可逆的に変化し、
前記表面プラズモン共鳴吸収が等方相>液晶相である、但し、前記液晶相において、前記表面プラズモン共鳴吸収がゼロである場合を含む、請求項1に記載の調光デバイス。
【請求項5】
前記表面プラズモン共鳴吸収が近赤外光帯域にあり、
前記液晶分子の配向方向に関わらず可視光透過率の変化が10%以下である、請求項1に記載の調光デバイス。
【請求項6】
更に、ヒーター機構を有する、請求項1に記載の調光デバイス。
【請求項7】
外部刺激に応じて液晶分子の配向方向が可逆的に変化する液晶層に、前記液晶分子の配向方向に応じて表面プラズモン共鳴吸収特性が可逆的に変化するプラズモン共鳴粒子を含有させ、前記表面プラズモン共鳴吸収特性により光学特性を変調する調光方法。
発明の詳細な説明
【技術分野】
【0001】
本開示は、調光デバイスおよび調光方法に関する。
続きを表示(約 2,700 文字)
【背景技術】
【0002】
表面プラズモン共鳴(SPR:Surface Plasmon Resonance)を用いた表示装置が提案されている。例えば、特許文献1には、高解像度であり、フルカラー表示が可能な表示素子の提供を課題として、分散状態で発色性を呈する移動性微粒子と、移動性微粒子とは異なる特性を有する異性粒子とを備えた調光層を有する表示素子が開示されている。前記移動性微粒子としてプラズモン発色機能を有する金属コロイド粒子が用いられている。
【0003】
特許文献2には、プラズモン発色機能を有する貴金属粒子がシリコーンオイルに分散された貴金属粒子分散液およびこの分散液を用いた表示方法が提案されている。また、特許文献3には、凝集状態に応じた色を呈する表面プラズモン吸収に基づく発色を示す金属ナノ粒子と、この金属ナノ粒子を含有し外部刺激により、金属ナノ粒子の凝集状態を可逆的に変化させる可逆変化材料とを含む調光組成物が開示されている。可逆変化材料として、液体と、外部刺激により可逆的に液体を吸脱することにより、膨潤または収縮する刺激応答性高分子ゲルを含む材料が用いられている。また、特許文献4には、大きな変調度を確保することを課題として、被変調光がその内部を経て一面に全反射角で入射するように配された誘電体ブロックと、金属膜との間に、誘電体ブロックより低屈折率の材料からなる誘電体層を介在させる表面プラズモン光変調素子が開示されている。なお、特許文献5および非特許文献1については後述する。
【先行技術文献】
【特許文献】
【0004】
特開2006-350111号公報
特開2008-019493号公報
特開2006-343650号公報
特開2000-292758号公報
特開2020-196945号公報
【非特許文献】
【0005】
J.Milette, V.Toader, L.Reven, R. Bruce Lennox , Journal of Materials Chemistry,2011,21,9043
【発明の概要】
【発明が解決しようとする課題】
【0006】
本開示は上記背景に鑑みてなされたものであり、設計自由度が高く、ニーズに応じて節電も可能な調光デバイスおよび調光方法の提供を課題とする。
【課題を解決するための手段】
【0007】
本開示は、以下の調光デバイスおよび調光方法を提供する。
[1]: 第一基板と、第二基板と、前記第一基板と前記第二基板の間に挟持された液晶層とを備え、前記液晶層は、外部刺激に応じて液晶分子の配向方向が可逆的に変化する液晶成分と、前記液晶分子の配向方向に応じて、表面プラズモン共鳴吸収特性が可逆的に変化するプラズモン共鳴粒子とを有する、調光デバイス。
[2]: 前記プラズモン共鳴粒子が、金属ナノ粒子、および前記金属ナノ粒子を含むナノ複合体粒子の少なくとも一方を含む、[1]に記載の調光デバイス。
[3]: 前記ナノ複合体粒子は、前記金属ナノ粒子の表面に液晶性化合物が被覆した粒子である、[2]に記載の調光デバイス。
[4]: 前記液晶層は、温度に応じて、等方相と液晶相が可逆的に変化し、
前記表面プラズモン共鳴吸収が等方相>液晶相である、但し、前記液晶相において、前記表面プラズモン共鳴吸収がゼロである場合を含む、[1]~[3]のいずれかに記載の調光デバイス。
[5]: 前記表面プラズモン共鳴吸収が近赤外光帯域にあり、
前記液晶分子の配向方向に関わらず可視光透過率の変化が10%以下である、[1]~[4]のいずれかに記載の調光デバイス。
[6]: 更に、ヒーター機構を有する、[1]~[5]のいずれかに記載の調光デバイス。
[7]: 外部刺激に応じて液晶分子の配向方向が可逆的に変化する液晶層に、前記液晶分子の配向方向に応じて表面プラズモン共鳴吸収特性が可逆的に変化するプラズモン共鳴粒子を含有させ、前記表面プラズモン共鳴吸収特性により光学特性を変調する調光方法。
【発明の効果】
【0008】
本開示によれば、設計自由度が高く、ニーズに応じて節電も可能な調光デバイスおよび調光方法を提供できるという優れた効果を奏する。
【図面の簡単な説明】
【0009】
第1実施形態に係る調光窓を説明するための模式的断面図。
(a)低温領域の液晶層の可視光の透過状態を説明するための模式的説明図。(b)高温領域の液晶層の可視光の遮蔽状態を説明するための模式的説明図。
第2実施形態に係る調光窓を説明するための模式的断面図。
第3実施形態に係る調光窓を説明するための模式的断面図。
第4実施形態に係る調光窓を説明するための模式的断面図。
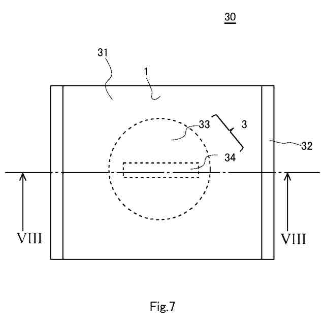
第5実施形態に係るパーティションを説明するための模式的説明図。
第6実施形態に係る表示パネルを説明するための模式的説明。
図7のVIII-VIII切断部断面図。
例1に係る調光デバイスの低温領域での分光学特性を示す図。
例1に係る調光デバイスの高温領域での分光学特性を示す図。
例2に係る調光デバイスの低温、高温それぞれにおける分光学特性をプロットした図。
【発明を実施するための形態】
【0010】
以下、本開示を実施するための形態について図面を参酌して説明する。本開示は、下記実施形態に制限されるものではなく、本開示の趣旨に合致する限り他の実施形態も本開示の範疇に含まれる。また、各実施形態は任意に組み合わせられる。本明細書において「~」を用いて特定される数値範囲は、「~」の前後に記載される数値を含む。
また、本明細書において可視光は波長380~780nmの範囲の光をいい、赤外光は波長780~2500nmの範囲をいう。可視光透過率は、測定波長が380~780nmの範囲の透過率を意味し、赤外光透過率は、ここでは近赤外帯域とし、測定波長が780~2500nmの範囲で求めた透過率であり、JISR 3106(2019年)に準じて測定できる。また、透過率とは、調光窓に入光する光の量に対する、調光窓を透過する光の量の割合をいう。
(【0011】以降は省略されています)
この特許をJ-PlatPat(特許庁公式サイト)で参照する
関連特許
AGC株式会社
車両用窓ガラス
1か月前
AGC株式会社
積層体及び移動体
1か月前
AGC株式会社
フッ素樹脂組成物
22日前
AGC株式会社
インフィニティミラー
1か月前
AGC株式会社
ガラス材料、結晶化ガラス
1か月前
AGC株式会社
調光デバイスおよび調光方法
1か月前
AGC株式会社
反射型マスクブランクの製造方法
1か月前
AGC株式会社
車両用窓ガラス及びサッシュレスドア
1か月前
AGC株式会社
搬送治具、搬送システム及び搬送方法
9日前
AGC株式会社
フラットハーネス付き車両用窓ガラス
1か月前
AGC株式会社
位相差素子、円偏光板、及び光学部品
1か月前
AGC株式会社
フラットハーネス付き車両用窓ガラスシステム
1か月前
AGC株式会社
車両用ガラス板、及び車両用ガラス板の製造方法
1か月前
AGC株式会社
ホルダー付き車両用窓ガラス及びサッシュレスドア
10日前
AGC株式会社
文書分析方法、文書分析プログラム、及び文書分析装置
1か月前
AGC株式会社
水性分散液
22日前
AGC株式会社
光学フィルタ
1日前
AGC株式会社
合わせガラス
1か月前
AGC株式会社
含フッ素化合物
11日前
AGC株式会社
ガラス、ガラス粉末、混合粉、ガラスペースト、及びグリーンシート
1か月前
AGC株式会社
化学強化ガラス、画像表示装置用カバーガラス、防汚層付きガラス材
1か月前
AGC株式会社
ガラス基板の製造方法
15日前
AGC株式会社
ガラスおよび化学強化ガラス
1か月前
林テレンプ株式会社
コリメート用プリズムおよび車両の窓ガラス用照明構造
1か月前
AGC株式会社
プリフォームの製造方法、光学素子の製造方法、及び光学素子用プリフォーム
25日前
AGC株式会社
化学強化ガラス物品およびその製造方法
1か月前
AGC株式会社
反射型マスクブランク、反射型マスク、反射型マスクブランクの製造方法、及び反射型マスクの製造方法
1か月前
AGC株式会社
反射型マスクブランク、反射型マスク、反射型マスクブランクの製造方法、及び反射型マスクの製造方法
9日前
AGC株式会社
高周波デバイス用ガラス基板、液晶アンテナ及び高周波デバイス
1か月前
AGC株式会社
ガラス溶解炉、ガラス製品の製造設備、およびガラス製品の製造方法
22日前
AGC株式会社
窒化珪素質焼結体、ベアリング用転動体、窒化珪素質素球、及びベアリング
9日前
AGC株式会社
結晶化ガラス、高周波用基板、液晶用アンテナおよび結晶化ガラスの製造方法
1か月前
AGC株式会社
反射型マスクブランク、反射型マスク、反射型マスクブランクの製造方法、及び反射型マスクの製造方法
15日前
AGC株式会社
樹脂層付きガラス板の製造方法、樹脂層付きガラス板、ガラス板、太陽光発電モジュール、太陽光発電モジュールの製造方法
1日前
AGC株式会社
樹脂層付きガラス板の製造方法、樹脂層付きガラス板、ガラス板、太陽光発電モジュール、太陽光発電モジュールの製造方法
1日前
AGC株式会社
含フッ素エーテル化合物及びその製造方法、化合物及びその製造方法、含フッ素エーテル組成物、コーティング液、並びに物品及びその製造方法
1か月前
続きを見る
他の特許を見る