TOP
|
特許
|
意匠
|
商標
特許ウォッチ
Twitter
他の特許を見る
10個以上の画像は省略されています。
公開番号
2025155209
公報種別
公開特許公報(A)
公開日
2025-10-14
出願番号
2024058888
出願日
2024-04-01
発明の名称
車両用ガラス板、及び車両用ガラス板の製造方法
出願人
AGC株式会社
代理人
個人
主分類
B60J
1/00 20060101AFI20251006BHJP(車両一般)
要約
【課題】ガラス板に光学素子を適切に取り付け可能な車両用ガラス板を提供すること。
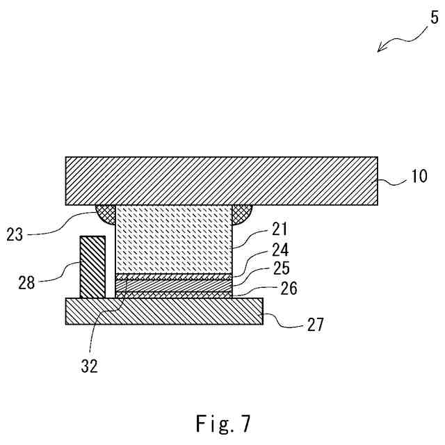
【解決手段】本開示の一態様かかる車両用ガラス板は、ガラス板10と、ガラス板10の表面側に第1主面31が配置された光学素子21と、を備える。光学素子21は軟質性を有する透明な樹脂材料を用いて構成されており、光学素子21に導入された光71は光学素子21を介してガラス板10に導入される。
【選択図】図1
特許請求の範囲
【請求項1】
ガラス板と、
前記ガラス板の表面側に第1主面が配置された光学素子と、を備え、
前記光学素子は軟質性を有する透明な樹脂材料を用いて構成されており、
前記光学素子に導入された光が前記光学素子を介して前記ガラス板に導入される、
車両用ガラス板。
続きを表示(約 710 文字)
【請求項2】
前記光学素子の曲げ弾性率が1,400MPa以下である、請求項1に記載の車両用ガラス板。
【請求項3】
前記光学素子の曲げ弾性率(MPa)と厚さ(mm)との積が、2,700MPa・mm以下である、請求項1に記載の車両用ガラス板。
【請求項4】
前記光学素子は、前記ガラス板と密着するように配置されている、請求項1~3のいずれか一項に記載の車両用ガラス板。
【請求項5】
前記光学素子は、接着部材を用いて前記ガラス板に接着されている、請求項4に記載の車両用ガラス板。
【請求項6】
前記光学素子は、10質量%以上50質量%以下の可塑剤を含む樹脂材料を用いて構成されている、請求項1または2に記載の車両用ガラス板。
【請求項7】
前記光学素子がポリ塩化ビニルを用いて構成されている、請求項1または2に記載の車両用ガラス板。
【請求項8】
前記ガラス板の屈折率が1.48以上1.56以下であり、
前記光学素子の屈折率が1.46以上1.58以下である、
請求項1または2に記載の車両用ガラス板。
【請求項9】
前記光学素子と前記ガラス板との接触面の周囲に封止材が設けられている、請求項1または2に記載の車両用ガラス板。
【請求項10】
前記光学素子の前記第1主面と反対側の第2主面に支持部材が接着されており、
前記光は前記光学素子の側面から前記光学素子に導入される、
請求項1または2に記載の車両用ガラス板。
(【請求項11】以降は省略されています)
発明の詳細な説明
【技術分野】
【0001】
本開示は、車両用ガラス板、及び車両用ガラス板の製造方法に関する。
続きを表示(約 990 文字)
【背景技術】
【0002】
近年、発光ダイオード(LED:Light Emitting Diode)等の光源を用いて、車両用ガラス板の端部側から車両用ガラス板の内部に照射光を導入し、車両用ガラス板の表面又は内部で光を散乱させて光を外部に取り出す技術が開発されている。
【0003】
特許文献1には、接着部材を用いて車内側のガラス板に光学素子を取り付ける技術が開示されている。
【先行技術文献】
【特許文献】
【0004】
国際公開第2021/198262号
【発明の概要】
【発明が解決しようとする課題】
【0005】
車両用ガラス板に光を導入する際は、車両用ガラス板に光学素子を設け、光源から出射された光をこの光学素子を介して車両用ガラス板に導入する。特許文献1には、接着部材を用いてガラス板に光学素子を取り付ける技術が開示されている。
【0006】
しかしながら、ガラス板の表面に光学素子を設けた場合は、ガラス板と光学素子との界面に気泡が混入する場合がある。このように、ガラス板と光学素子との界面に気泡が混入した場合は、光学素子からガラス板に光を効率的に導入できない場合がある。このため、ガラス板の表面に光学素子を適切に取り付ける技術が必要とされていた。
【0007】
上記課題に鑑み本開示の目的は、ガラス板に光学素子を適切に取り付け可能な車両用ガラス板、及び車両用ガラス板の製造方法を提供することである。
【課題を解決するための手段】
【0008】
本開示の一態様かかる車両用ガラス板、及び車両用ガラス板の製造方法は下記の通りである。
【0009】
[1]
ガラス板と、
前記ガラス板の表面側に第1主面が配置された光学素子と、を備え、
前記光学素子は軟質性を有する透明な樹脂材料を用いて構成されており、
前記光学素子に導入された光が前記光学素子を介して前記ガラス板に導入される、
車両用ガラス板。
【0010】
[2]
前記光学素子の曲げ弾性率が1,400MPa以下である、[1]に記載の車両用ガラス板。
(【0011】以降は省略されています)
この特許をJ-PlatPat(特許庁公式サイト)で参照する
関連特許
AGC株式会社
真空断熱材
1か月前
AGC株式会社
合紙積層装置
1か月前
AGC株式会社
顔面用貼付材
1か月前
AGC株式会社
車両用窓ガラス
28日前
AGC株式会社
積層体及び移動体
28日前
AGC株式会社
太陽電池モジュール
1か月前
AGC株式会社
インフィニティミラー
16日前
AGC株式会社
ガラス材料、結晶化ガラス
15日前
AGC株式会社
調光デバイスおよび調光方法
7日前
AGC株式会社
車両用窓ガラスとその製造方法
1か月前
AGC株式会社
反射型マスクブランクの製造方法
10日前
AGC株式会社
光学素子の製造方法、及び光学素子
1か月前
AGC株式会社
車両用窓ガラス及びサッシュレスドア
28日前
AGC株式会社
位相差素子、円偏光板、及び光学部品
9日前
AGC株式会社
フラットハーネス付き車両用窓ガラス
13日前
AGC株式会社
フラットハーネス付き車両用窓ガラスシステム
13日前
AGC株式会社
車両用ガラス板、及び車両用ガラス板の製造方法
23日前
AGC株式会社
化学強化結晶化ガラスおよび化学強化用結晶化ガラス
1か月前
AGC株式会社
文書分析方法、文書分析プログラム、及び文書分析装置
29日前
AGC株式会社
合わせガラス
20日前
AGC株式会社
無アルカリガラス
1か月前
AGC株式会社
反射型マスクブランク、反射型マスクおよび反射型マスクの製造方法
1か月前
AGC株式会社
反射型マスクブランク、反射型マスクおよび反射型マスクの製造方法
1か月前
AGC株式会社
テキスト生成方法、テキスト生成プログラム、及びテキスト生成装置
1か月前
AGC株式会社
化学強化ガラス、画像表示装置用カバーガラス、防汚層付きガラス材
15日前
AGC株式会社
ガラス、ガラス粉末、混合粉、ガラスペースト、及びグリーンシート
27日前
AGC株式会社
組成物、洗浄方法、塗膜形成用組成物、エアゾール組成物、熱移動媒体
1か月前
AGC株式会社
組成物、洗浄方法、塗膜形成用組成物、エアゾール組成物、熱移動媒体
1か月前
林テレンプ株式会社
コリメート用プリズムおよび車両の窓ガラス用照明構造
7日前
AGC株式会社
ガラスおよび化学強化ガラス
23日前
AGC株式会社
プリフォームの製造方法、光学素子の製造方法、及び光学素子用プリフォーム
2日前
AGC株式会社
ハロゲン化アルケンの製造方法
1か月前
AGC株式会社
化学強化ガラスおよび電子機器筐体
1か月前
AGC株式会社
化学強化ガラス物品およびその製造方法
20日前
AGC株式会社
フツリン酸ガラス及び近赤外線カットフィルタ
1か月前
AGC株式会社
反射型マスクブランクの検査方法、反射型マスクブランクの製造方法、及び反射型マスクの製造方法
1か月前
続きを見る
他の特許を見る