TOP
|
特許
|
意匠
|
商標
特許ウォッチ
Twitter
他の特許を見る
公開番号
2025142694
公報種別
公開特許公報(A)
公開日
2025-10-01
出願番号
2024042202
出願日
2024-03-18
発明の名称
光学素子の製造方法、及び光学素子
出願人
AGC株式会社
代理人
弁理士法人酒井国際特許事務所
主分類
G02B
5/00 20060101AFI20250924BHJP(光学)
要約
【課題】第1透明基材と第2透明基材の両方の接合面が平面であっても遮光膜のテーパー部を所望の断面形状に整えることができる、技術を提供する。
【解決手段】光学素子は、透明体と、前記透明体の内部に設けられる遮光膜と、を備える。前記透明体は第1透明基材と第2透明基材を有し、前記第1透明基材と前記第2透明基材は所定方向に前記遮光膜を挟んで設けられる。前記遮光膜は、所望の断面形状のテーパー部を有する。前記第1透明基材と前記第2透明基材は同じ第1ガラスを含み、前記遮光膜は第2ガラスを含む。前記第1透明基材と前記第2透明基材のガラス転移点Tg1が、前記遮光膜の軟化点Ts2よりも低い。前記製造方法は、前記第1透明基材の平坦な接合面と前記第2透明基材の平坦な接合面との間に前記遮光膜の材料を挟んだ状態で、前記第1透明基材と前記第2透明基材の両方の接合面を熱変形させて溶着させることを有する。
【選択図】図5
特許請求の範囲
【請求項1】
透明体と、前記透明体の内部に設けられる遮光膜とを備える、光学素子を製造する、光学素子の製造方法であって、
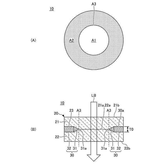
前記遮光膜は平面を有し、前記平面に対して垂直な所定方向から見て、前記光学素子は光の一部を透過する透過領域と、前記光の別の一部を遮る遮光領域とを備え、
前記透明体は第1透明基材と第2透明基材を有し、前記第1透明基材と前記第2透明基材は前記所定方向に前記遮光膜を挟んで設けられ、且つ前記透過領域において連続的に接し、
前記遮光膜は、前記遮光膜を前記所定方向から見たときに前記遮光領域と前記透過領域との境界線からの距離が遠いほど、前記所定方向における厚みが大きくなるテーパー部を有し、
前記テーパー部の先端は前記境界線に接し、前記所定方向における前記テーパー部の前記先端と前記遮光膜の中心との距離は前記所定方向における前記遮光膜の前記厚みの最大値T0の0%~25%であり、
前記第1透明基材と前記第2透明基材は同じ第1ガラスを含み、前記遮光膜は第2ガラスを含み、
前記第1透明基材と前記第2透明基材のガラス転移点Tg1が、前記遮光膜の軟化点Ts2よりも低く、
前記製造方法は、前記第1透明基材の平坦な接合面と前記第2透明基材の平坦な接合面との間に前記遮光膜の材料を挟んだ状態で、前記第1透明基材と前記第2透明基材の両方の接合面を熱変形させて溶着させることを有する、光学素子の製造方法。
続きを表示(約 820 文字)
【請求項2】
前記第1透明基材と前記第2透明基材を熱変形させて溶着させることの前に、前記第1透明基材と前記第2透明基材の少なくとも1つの接合面に前記第2ガラスを含むペーストを塗布することと、前記ペーストを加熱することとをこの順番で有する、請求項1に記載の光学素子の製造方法。
【請求項3】
前記第1ガラスと前記第2ガラスは同じ組成を有し、前記遮光膜は前記第2ガラスの中に黒色顔料を分散して含む、請求項1又は2に記載の光学素子の製造方法。
【請求項4】
透明体と、前記透明体の内部に設けられる遮光膜とを備える、光学素子であって、
前記遮光膜は平面を有し、前記平面に対して垂直な所定方向から見て、前記光学素子は光の一部を透過する透過領域と前記光の別の一部を遮る遮光領域とを備え、
前記透明体は第1透明基材と第2透明基材を有し、前記第1透明基材と前記第2透明基材は前記所定方向に前記遮光膜を挟んで設けられ、且つ前記透過領域において連続的に接し、
前記遮光膜は、前記遮光膜を前記所定方向から見たときに前記遮光領域と前記透過領域との境界線からの距離が遠いほど、前記所定方向における厚みが大きくなるテーパー部を有し、
前記テーパー部の先端は前記境界線に接し、前記所定方向における前記テーパー部の前記先端と前記遮光膜の中心との距離は前記所定方向における前記遮光膜の前記厚みの最大値T0の0%~25%であり、
前記第1透明基材と前記第2透明基材は同じ第1ガラスを含み、前記遮光膜は第2ガラスを含み、
前記第1透明基材と前記第2透明基材のガラス転移点Tg1が、前記遮光膜の軟化点Ts2よりも低い、光学素子。
【請求項5】
前記第1ガラスと前記第2ガラスは同じ組成を有し、前記遮光膜は前記第2ガラスの中に黒色顔料を分散して含む、請求項4に記載の光学素子。
発明の詳細な説明
【技術分野】
【0001】
本開示は、光学素子の製造方法、及び光学素子に関する。
続きを表示(約 1,900 文字)
【背景技術】
【0002】
特許文献1に記載の光学ユニットは、透明な第1の基板と、透明な第2の基板と、第1の基板と第2の基板との間の凸部の周囲を充填する黒色樹脂によって構成される絞りと、を備える。第1の基板と第2の基板は、透明なガラス基板又は透明な樹脂基板である。
【先行技術文献】
【特許文献】
【0003】
国際公開第2021/176704号
【発明の概要】
【発明が解決しようとする課題】
【0004】
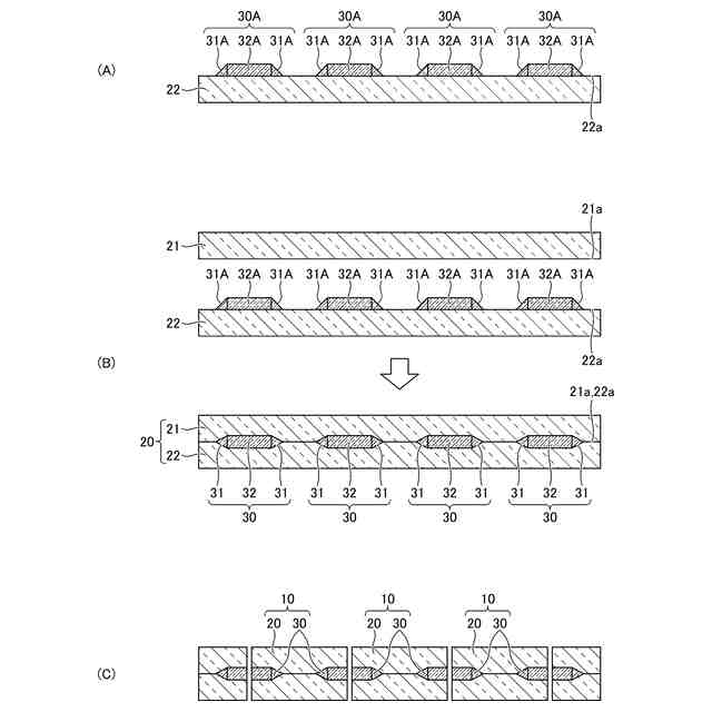
光学素子は、透明体と、透明体の内部に設けられる遮光膜と、を備える。遮光膜は平面を有し、その平面に対して垂直な所定方向(以下、単に「所定方向」とも記載する。)から見て、光学素子は、光の一部を透過する透過領域と、光の別の一部を遮る遮光領域とを備える。透明体は第1透明基材と第2透明基材を有し、第1透明基材と第2透明基材は所定方向に遮光膜を挟んで設けられ、且つ透過領域において連続的に接する。
【0005】
遮光膜は、遮光領域と透過領域との境界線の近傍に、テーパー部を有することが好ましい。遮光膜を所定方向から見たときに境界線からの距離が遠いほど、所定方向におけるテーパー部の厚みが大きくなる。その結果、テーパー部において、境界線からの距離が遠いほど、光の透過率が低下する。境界線において光の透過率が不連続的に変化する場合に比べて、光の回折を抑制でき、迷光の発生を抑制できる。
【0006】
テーパー部は、所望の断面形状を有することが好ましい。具体的には、テーパー部の先端は境界線に接し、所定方向におけるテーパー部の先端と遮光膜の中心との距離は所定方向における遮光膜の厚みの最大値の0%~25%であることが好ましい。テーパー部の断面形状の対称性が良く、光学素子の温度変化によって生じる応力が小さく、光学素子の反りが小さい。
【0007】
第1透明基材と第2透明基材の接合前に、第1透明基材と第2透明基材の両方の接合面に遮光膜を収容する凹部を形成しておけば、凹部によって遮光膜のテーパー部を所望の断面形状に整えることができる。但し、第1透明基材と第2透明基材の両方の接合面に凹部を形成するので、コストが増大してしまう。
【0008】
本開示の一実施形態は、第1透明基材と第2透明基材の両方の接合面が平面であっても遮光膜のテーパー部を所望の断面形状に整えることができる、技術を提供する。
【課題を解決するための手段】
【0009】
本開示の一実施形態に係る光学素子の製造方法は、光学素子を製造する。前記光学素子は、透明体と、前記透明体の内部に設けられる遮光膜とを備える。前記遮光膜は平面を有し、前記平面に対して垂直な所定方向から見て、前記光学素子は光の一部を透過する透過領域と、前記光の別の一部を遮る遮光領域とを備える。前記透明体は第1透明基材と第2透明基材を有し、前記第1透明基材と前記第2透明基材は前記所定方向に前記遮光膜を挟んで設けられ、且つ前記透過領域において連続的に接する。前記遮光膜は、前記遮光膜を前記所定方向から見たときに前記遮光領域と前記透過領域との境界線からの距離が遠いほど、前記所定方向における厚みが大きくなるテーパー部を有する。前記テーパー部の先端は前記境界線に接し、前記所定方向における前記テーパー部の前記先端と前記遮光膜の中心との距離は前記所定方向における前記遮光膜の前記厚みの最大値T0の0%~25%である。前記第1透明基材と前記第2透明基材は同じ第1ガラスを含み、前記遮光膜は第2ガラスを含む。前記第1透明基材と前記第2透明基材のガラス転移点Tg1が、前記遮光膜の軟化点Ts2よりも低い。前記製造方法は、前記第1透明基材の平坦な接合面と前記第2透明基材の平坦な接合面との間に前記遮光膜の材料を挟んだ状態で、前記第1透明基材と前記第2透明基材の両方の接合面を熱変形させて溶着させることを有する。
【発明の効果】
【0010】
本開示の一実施形態によれば、第1透明基材と第2透明基材のガラス転移点Tg1を遮光膜の軟化点Ts2よりも低くすることで、第1透明基材と第2透明基材の両方の接合面が平面であっても、第1透明基材と第2透明基材を熱変形させて溶着させることができ、遮光膜のテーパー部を所望の断面形状に整えることができる。
【図面の簡単な説明】
(【0011】以降は省略されています)
この特許をJ-PlatPat(特許庁公式サイト)で参照する
関連特許
AGC株式会社
真空断熱材
9日前
AGC株式会社
ガラス構造体
1か月前
AGC株式会社
顔面用貼付材
1日前
AGC株式会社
感光性ガラス
27日前
AGC株式会社
合紙積層装置
5日前
AGC株式会社
太陽電池モジュール
12日前
AGC株式会社
積層板および光学素子
20日前
AGC株式会社
収納容器、支持部材及び梱包体
29日前
AGC株式会社
車両用窓ガラスとその製造方法
6日前
AGC株式会社
複層ガラス、高地対応複層ガラス
20日前
AGC株式会社
光学素子の製造方法、及び光学素子
7日前
AGC株式会社
フロートガラスの検査方法及び検査装置
29日前
AGC株式会社
稠密シートの製造方法、及び稠密シート
29日前
AGC株式会社
化学強化結晶化ガラスおよび化学強化用結晶化ガラス
9日前
AGC株式会社
強化ガラスの応力測定装置、強化ガラスの応力測定方法
19日前
AGC株式会社
文書分析方法、文書分析プログラム、及び文書分析装置
今日
AGC株式会社
光学素子
13日前
AGC株式会社
結晶化ガラス
19日前
AGC株式会社
無アルカリガラス
8日前
AGC株式会社
反射型マスクブランク、反射型マスクおよび反射型マスクの製造方法
5日前
AGC株式会社
反射型マスクブランク、反射型マスクおよび反射型マスクの製造方法
5日前
AGC株式会社
テキスト生成方法、テキスト生成プログラム、及びテキスト生成装置
5日前
AGC株式会社
組成物、洗浄方法、塗膜形成用組成物、エアゾール組成物、熱移動媒体
6日前
AGC株式会社
組成物、洗浄方法、塗膜形成用組成物、エアゾール組成物、熱移動媒体
6日前
AGC株式会社
ハロゲン化アルケンの製造方法
8日前
AGC株式会社
化学強化ガラスおよび電子機器筐体
5日前
AGC株式会社
ガラス基板の製造方法及びガラス基板
27日前
AGC株式会社
フツリン酸ガラス及び近赤外線カットフィルタ
5日前
AGC株式会社
反射型マスクブランクの検査方法、反射型マスクブランクの製造方法、及び反射型マスクの製造方法
12日前
AGC株式会社
化合物、組成物、表面処理剤、物品、及び物品の製造方法
5日前
AGC株式会社
車両用合わせガラス、自動車、及び車両用合わせガラスの製造方法
9日前
東レ株式会社
積層フィルム
今日
アイカ工業株式会社
反射防止フィルム
6日前
キヤノン株式会社
映像表示装置
19日前
インターマン株式会社
立体映像表示装置
19日前
スタンレー電気株式会社
照明装置
1日前
続きを見る
他の特許を見る