TOP
|
特許
|
意匠
|
商標
特許ウォッチ
Twitter
他の特許を見る
10個以上の画像は省略されています。
公開番号
2025135543
公報種別
公開特許公報(A)
公開日
2025-09-18
出願番号
2024179769
出願日
2024-10-15
発明の名称
複層ガラス、高地対応複層ガラス
出願人
AGC株式会社
代理人
個人
主分類
C03C
27/06 20060101AFI20250910BHJP(ガラス;鉱物またはスラグウール)
要約
【課題】気圧の変化に起因する中空層の膨張を容易に抑制可能な複層ガラス、及び高地対応複層ガラスを提供する。
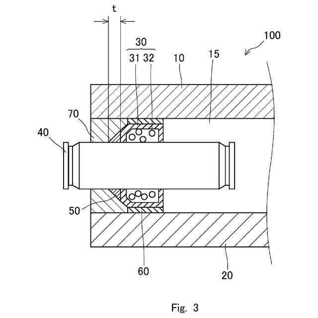
【解決手段】本発明の一態様にかかる複層ガラス100は、ガラス板10,20と、ガラス板10,20同士の間にガラス板10,20の周縁のスペーサ領域に設置されるスペーサ30と、を備え、スペーサ30とガラス板10,20とによって囲われる領域が中空層15であり、スペーサ30を貫通して一方の端が中空層15に連通すると共に他方の端が外気側に突出し、中空層15から前記外気側に気体を移動する逆流防止弁40と、逆流防止弁40とスペーサ30とをシールするブチル系シール部材50と、をさらに備え、逆流防止弁40は、スペーサ30に少なくとも1つ取り付けられ、ブチル系シール部材50は、逆流防止弁40の前記外気側に突出する部分とスペーサ30との間隙を封止する。
【選択図】図3
特許請求の範囲
【請求項1】
2枚以上のガラス板と、前記ガラス板同士の間に前記ガラス板の周縁のスペーサ領域に設置される少なくとも1つのスペーサと、を備え、前記スペーサと前記スペーサを挟持する前記ガラス板とによって囲われる領域が中空層である複層ガラスであって、
前記スペーサを貫通して一方の端が前記中空層に連通すると共に他方の端が外気側に突出し、前記中空層から前記外気側に向かって気体を移動可能である逆流防止弁と、
前記逆流防止弁と前記スペーサとをシールするブチル系シール部材と、をさらに備え、
前記逆流防止弁は、前記少なくとも1つのスペーサに少なくとも1つ取り付けられ、
前記ブチル系シール部材は、前記逆流防止弁の前記外気側に突出する部分と前記スペーサとの間隙を封止する、
複層ガラス。
続きを表示(約 1,000 文字)
【請求項2】
前記逆流防止弁は、前記中空層側と前記外気側との圧力差が10kPa以下となるように前記中空層側から前記外気側に気体を移動する、請求項1に記載の複層ガラス。
【請求項3】
前記逆流防止弁は、25℃における最低作動差圧が10kPa以下である、
請求項1又は2に記載の複層ガラス。
【請求項4】
前記中空層には、希ガスが充填されている、
請求項1又は2に記載の複層ガラス。
【請求項5】
前記中空層には、空気が充填されている、
請求項1又は2に記載の複層ガラス。
【請求項6】
前記スペーサは、乾燥剤を有する、
請求項1又は2に記載の複層ガラス。
【請求項7】
前記スペーサは、25℃におけるJIS A硬度が10以上90以下の熱可塑性樹脂組成物を用いて構成され、
前記熱可塑性樹脂組成物は、
ブチル系ゴムと結晶性ポリオレフィンと乾燥剤と無機フィラーとを含み、
前記ブチル系ゴムと前記結晶性ポリオレフィンとの合計量に対する、前記ブチル系ゴムの割合が50重量%以上98重量%以下であると共に、結晶性ポリオレフィンの割合が2重量%以上50重量%以下であり、
前記ブチル系ゴムと前記結晶性ポリオレフィンとの合計100重量部に対する前記無機フィラーの割合が200重量部以下であり、
120℃における溶融粘度が0.6kPa・s以上7.0kPa・s以下であり、かつ、
25℃における貯蔵弾性率が15MPa以上60MPa以下である、
請求項1又は2に記載の複層ガラス。
【請求項8】
前記逆流防止弁は、前記スペーサが折れ曲がるコーナー部に設けられる、
請求項1又は2に記載の複層ガラス。
【請求項9】
前記逆流防止弁は、前記スペーサの直線部に設けられる、
請求項1又は2に記載の複層ガラス。
【請求項10】
前記スペーサは、複数の管状部材と、前記管状部材同士を結合する複数の結合部材とを備え、
前記逆流防止弁は、前記複数の接合部材のうちの少なくとも1つに設けられる、
請求項1又は2に記載の複層ガラス。
(【請求項11】以降は省略されています)
発明の詳細な説明
【技術分野】
【0001】
本発明は、複層ガラス、高地対応複層ガラスに関する。
続きを表示(約 1,100 文字)
【背景技術】
【0002】
近年、スペーサを介して複数のガラス板同士を重ね合わせた複層ガラスの開発が進められている。標高の低い地域で製造した複層ガラスを標高の高い地域に運搬すると、気圧の変化によってガラス板同士の間に設けられた中空層が膨張する。そこで、特許文献1に開示された技術では、複層ガラス製造時に予め中空層を凹ませている。
【先行技術文献】
【特許文献】
【0003】
特開2018-012637号公報
【発明の概要】
【発明が解決しようとする課題】
【0004】
特許文献1に開示されている技術では、複層ガラス製造時に運搬時に生じる膨張量を計算する必要があるため、手間がかかる。そのため、気圧の変化に起因する中空層の膨張を容易に抑制する技術の開発が求められていた。
【0005】
上記課題に鑑み本発明の目的は、気圧の変化に起因する中空層の膨張を容易に抑制可能な複層ガラス及び高地対応複層ガラスを提供することである。
【課題を解決するための手段】
【0006】
本開示の一態様にかかる複層ガラス及び高地対応複層ガラスは下記の構成を備える。
【0007】
[1]
2枚以上のガラス板と、前記ガラス板同士の間に前記ガラス板の周縁のスペーサ領域に設置される少なくとも1つのスペーサと、を備え、前記スペーサと前記スペーサを挟持する前記ガラス板とによって囲われる領域が中空層である複層ガラスであって、
前記スペーサを貫通して一方の端が前記中空層に連通すると共に他方の端が外気側に突出し、前記中空層から前記外気側に向かって気体を移動可能である逆流防止弁と、
前記逆流防止弁と前記スペーサとをシールするブチル系シール部材と、をさらに備え、
前記逆流防止弁は、前記少なくとも1つのスペーサに少なくとも1つ取り付けられ、
前記ブチル系シール部材は、前記逆流防止弁の前記外気側に突出する部分と前記スペーサとの間隙を封止する、
複層ガラス。
【0008】
[2]
前記逆流防止弁は、前記中空層側と前記外気側との圧力差が10kPa以下となるように前記中空層側から前記外気側に気体を移動する、[1]に記載の複層ガラス。
【0009】
[3]
前記逆流防止弁は、25℃における最低作動差圧が10kPa以下である、
[1]又は[2]に記載の複層ガラス。
【0010】
[4]
前記中空層には、希ガスが充填されている、
[1]~[3]のいずれかに記載の複層ガラス。
(【0011】以降は省略されています)
この特許をJ-PlatPat(特許庁公式サイト)で参照する
関連特許
AGC株式会社
顔面用貼付材
1か月前
AGC株式会社
車両用窓ガラス
1か月前
AGC株式会社
積層体及び移動体
1か月前
AGC株式会社
フッ素樹脂組成物
19日前
AGC株式会社
インフィニティミラー
1か月前
AGC株式会社
ガラス材料、結晶化ガラス
1か月前
AGC株式会社
調光デバイスおよび調光方法
27日前
AGC株式会社
反射型マスクブランクの製造方法
1か月前
AGC株式会社
位相差素子、円偏光板、及び光学部品
29日前
AGC株式会社
搬送治具、搬送システム及び搬送方法
6日前
AGC株式会社
車両用窓ガラス及びサッシュレスドア
1か月前
AGC株式会社
フラットハーネス付き車両用窓ガラス
1か月前
AGC株式会社
フラットハーネス付き車両用窓ガラスシステム
1か月前
AGC株式会社
車両用ガラス板、及び車両用ガラス板の製造方法
1か月前
AGC株式会社
ホルダー付き車両用窓ガラス及びサッシュレスドア
7日前
AGC株式会社
文書分析方法、文書分析プログラム、及び文書分析装置
1か月前
AGC株式会社
水性分散液
19日前
AGC株式会社
合わせガラス
1か月前
AGC株式会社
含フッ素化合物
8日前
AGC株式会社
ガラス、ガラス粉末、混合粉、ガラスペースト、及びグリーンシート
1か月前
AGC株式会社
化学強化ガラス、画像表示装置用カバーガラス、防汚層付きガラス材
1か月前
AGC株式会社
ガラス基板の製造方法
12日前
林テレンプ株式会社
コリメート用プリズムおよび車両の窓ガラス用照明構造
27日前
AGC株式会社
ガラスおよび化学強化ガラス
1か月前
AGC株式会社
プリフォームの製造方法、光学素子の製造方法、及び光学素子用プリフォーム
22日前
AGC株式会社
化学強化ガラスおよび電子機器筐体
1か月前
AGC株式会社
化学強化ガラス物品およびその製造方法
1か月前
AGC株式会社
フツリン酸ガラス及び近赤外線カットフィルタ
1か月前
AGC株式会社
反射型マスクブランク、反射型マスク、反射型マスクブランクの製造方法、及び反射型マスクの製造方法
6日前
AGC株式会社
反射型マスクブランク、反射型マスク、反射型マスクブランクの製造方法、及び反射型マスクの製造方法
1か月前
AGC株式会社
化合物、組成物、表面処理剤、物品、及び物品の製造方法
1か月前
AGC株式会社
高周波デバイス用ガラス基板、液晶アンテナ及び高周波デバイス
1か月前
AGC株式会社
ガラス溶解炉、ガラス製品の製造設備、およびガラス製品の製造方法
19日前
AGC株式会社
窒化珪素質焼結体、ベアリング用転動体、窒化珪素質素球、及びベアリング
6日前
AGC株式会社
結晶化ガラス、高周波用基板、液晶用アンテナおよび結晶化ガラスの製造方法
27日前
AGC株式会社
反射型マスクブランク、反射型マスク、反射型マスクブランクの製造方法、及び反射型マスクの製造方法
12日前
続きを見る
他の特許を見る