TOP
|
特許
|
意匠
|
商標
特許ウォッチ
Twitter
他の特許を見る
公開番号
2025157630
公報種別
公開特許公報(A)
公開日
2025-10-16
出願番号
2022143964
出願日
2022-09-09
発明の名称
反射型マスクブランク、反射型マスク、反射型マスクブランクの製造方法、及び反射型マスクの製造方法
出願人
AGC株式会社
代理人
個人
,
個人
主分類
G03F
1/24 20120101AFI20251008BHJP(写真;映画;光波以外の波を使用する類似技術;電子写真;ホログラフイ)
要約
【課題】対対象基板への高コントラストのパターン転写が可能であり、且つ加工性に優れた位相シフト膜を備えた反射型マスクブランクを提供する。
【解決手段】基板と、EUV光を反射する多層反射膜と、前記多層反射膜を保護する保護膜と、前記EUV光の位相をシフトさせる位相シフト膜と、をこの順で有する、反射型マスクブランクであって、前記位相シフト膜は、Osを主成分とするOs系材料からなり、前記EUV光に対して屈折率nが0.920以下であり且つ消衰係数kが0.030以上である。
【選択図】図1
特許請求の範囲
【請求項1】
基板と、EUV光を反射する多層反射膜と、前記多層反射膜を保護する保護膜と、前記EUV光の位相をシフトさせる位相シフト膜と、をこの順で有する、反射型マスクブランクであって、
前記位相シフト膜は、Osを主成分とするOs系材料からなり、前記EUV光に対して屈折率nが0.920以下であり且つ消衰係数kが0.030以上である、反射型マスクブランク。
続きを表示(約 880 文字)
【請求項2】
前記Os系材料は、Osと、Ta、Cr、Mo、W、Re、Si、Hf、Ru、O、B、C、及びNからなる群から選択される少なくとも1つの元素を含む、請求項1に記載の反射型マスクブランク。
【請求項3】
前記位相シフト膜の膜厚が、20nm以上60nm以下である、請求項1又は2に記載の反射型マスクブランク。
【請求項4】
前記保護膜は、Ru、Rh及びSiからなる群から選択される少なくとも1つの元素を含む、請求項1又は2に記載の反射型マスクブランク。
【請求項5】
前記位相シフト膜の上にエッチングマスク膜を有し、
前記エッチングマスク膜は、Al、Hf、Cr、Nb、Ti、Mo、Ta及びSiからなる群から選択される少なくとも1つの元素を含む、請求項1又は2に記載の反射型マスクブランク。
【請求項6】
前記エッチングマスク膜は、O、N及びBからなる群から選択される少なくとも1つの元素をさらに含む、請求項5に記載の反射型マスクブランク。
【請求項7】
請求項1又は2に記載の反射型マスクブランクを備え、前記位相シフト膜に開口パターンを含む、反射型マスク。
【請求項8】
基板と、EUV光を反射する多層反射膜と、前記多層反射膜を保護する保護膜と、前記EUV光の位相をシフトさせる位相シフト膜と、をこの順で有する、反射型マスクブランクの製造方法であって、
前記基板の上に、前記多層反射膜と、前記保護膜と、前記位相シフト膜と、をこの順番で製膜することを含み、
前記位相シフト膜は、Osを主成分とするOs系材料からなり、前記EUV光に対して屈折率nが0.920以下であり且つ消衰係数kが0.030以上である、反射型マスクブランクの製造方法。
【請求項9】
請求項8に記載の製造方法を用いて製造した反射型マスクブランクを準備し、
前記位相シフト膜に開口パターン形成することを含む、反射型マスクの製造方法。
発明の詳細な説明
【技術分野】
【0001】
本開示は、反射型マスクブランク、反射型マスク、反射型マスクブランクの製造方法、及び反射型マスクの製造方法に関する。
続きを表示(約 1,500 文字)
【背景技術】
【0002】
近年、半導体デバイスの微細化に伴い、極端紫外線(Extreme Ultra-Violet:EUV)を用いた露光技術であるEUVリソグラフィー(EUVL)が開発されている。EUVとは、軟X線及び真空紫外線を含み、具体的には波長が0.2nm~100nm程度の光のことである。現時点では、13.5nm程度の波長のEUVが主に検討されている。
【0003】
EUVリソグラフィーには、反射型マスクが用いられる。反射型マスクとしては、ガラス基板等の基板と、EUV光を反射する多層反射膜と、多層反射膜を保護する保護膜と、EUV光を吸収する吸収膜と、をこの順で有する構成が知られている。吸収膜には、エッチング等により開口パターンが形成されており、当該開口パターンを半導体基板等の対象基板に転写する。吸収膜は、EUV光をシフトさせる位相シフト膜であってもよい。
【0004】
吸収膜若しくは位相シフト膜の材料として様々な材料が検討されている。例えば、対象基板への高コントラストのパターン転写を実現することを目的として、複屈折率の虚数部の絶対値(消衰係数)が大きい物質を含む材料を利用することが知られている。特許文献1には、クロム(Cr)を主成分とする吸収膜を備えた反射型マスクブランクスが、また特許文献2には、タンタル(Ta)を主成分とした吸収膜を備えた反射型マスクブランクスが記載されている。
【先行技術文献】
【特許文献】
【0005】
特開2007-273656号公報
特開2007-273678号公報
【発明の概要】
【発明が解決しようとする課題】
【0006】
しかしながら、消衰係数が大きい材料、特に消衰係数が大きく且つ屈折率が小さい材料には、開口パターンの形成時の加工性が十分でないものもある。そのため、加工条件等によっては、パターンの精度が十分でない、パターン加工時間が長くなってしまう等の不都合が生じることがある。
【0007】
よって、本開示の一態様は、対象基板への高コントラストのパターン転写が可能であり、且つ加工性に優れた位相シフト膜を備えた構成を提供することを課題とする。
【課題を解決するための手段】
【0008】
本開示の一態様に係る反射型マスクブランクは、基板と、EUV光を反射する多層反射膜と、前記多層反射膜を保護する保護膜と、前記EUV光の位相をシフトさせる位相シフト膜と、をこの順で有する、反射型マスクブランクであって、前記位相シフト膜は、Osを主成分とするOs系材料からなり、前記EUV光に対して屈折率nが0.920以下であり且つ消衰係数kが0.030以上である。
【発明の効果】
【0009】
本開示の一態様によれば、対象基板への高コントラストのパターン転写が可能であり、且つ加工性に優れた位相シフト膜を備えた構成を提供できる。
【図面の簡単な説明】
【0010】
一実施形態に係る反射型マスクブランクを示す断面図である。
一実施形態に係る反射型マスクを示す断面図である。
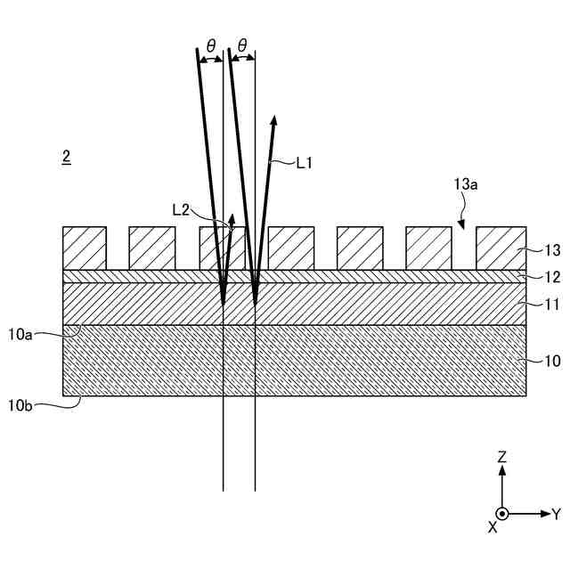
図2の反射型マスクで反射されるEUV光の一例を示す断面図である。
各物質の屈折率及び消衰係数の例を示す図である。
一実施形態に係る反射型マスクブランクの製造方法を示すフローチャートである。
一実施形態に係る反射型マスクの製造方法を示すフローチャートである。
【発明を実施するための形態】
(【0011】以降は省略されています)
この特許をJ-PlatPat(特許庁公式サイト)で参照する
関連特許
AGC株式会社
真空断熱材
20日前
AGC株式会社
ガラス構造体
1か月前
AGC株式会社
顔面用貼付材
12日前
AGC株式会社
感光性ガラス
1か月前
AGC株式会社
合紙積層装置
16日前
AGC株式会社
車両用窓ガラス
10日前
AGC株式会社
積層体及び移動体
10日前
AGC株式会社
太陽電池モジュール
23日前
AGC株式会社
積層板および光学素子
1か月前
AGC株式会社
収納容器、支持部材及び梱包体
1か月前
AGC株式会社
車両用窓ガラスとその製造方法
17日前
AGC株式会社
複層ガラス、高地対応複層ガラス
1か月前
AGC株式会社
光学素子の製造方法、及び光学素子
18日前
AGC株式会社
車両用窓ガラス及びサッシュレスドア
10日前
AGC株式会社
フロートガラスの検査方法及び検査装置
1か月前
AGC株式会社
稠密シートの製造方法、及び稠密シート
1か月前
AGC株式会社
車両用ガラス板、及び車両用ガラス板の製造方法
5日前
AGC株式会社
化学強化結晶化ガラスおよび化学強化用結晶化ガラス
20日前
AGC株式会社
文書分析方法、文書分析プログラム、及び文書分析装置
11日前
AGC株式会社
強化ガラスの応力測定装置、強化ガラスの応力測定方法
1か月前
AGC株式会社
光学素子
24日前
AGC株式会社
結晶化ガラス
1か月前
AGC株式会社
合わせガラス
2日前
AGC株式会社
無アルカリガラス
19日前
AGC株式会社
ガラス、ガラス粉末、混合粉、ガラスペースト、及びグリーンシート
9日前
AGC株式会社
反射型マスクブランク、反射型マスクおよび反射型マスクの製造方法
16日前
AGC株式会社
反射型マスクブランク、反射型マスクおよび反射型マスクの製造方法
16日前
AGC株式会社
テキスト生成方法、テキスト生成プログラム、及びテキスト生成装置
16日前
AGC株式会社
組成物、洗浄方法、塗膜形成用組成物、エアゾール組成物、熱移動媒体
17日前
AGC株式会社
組成物、洗浄方法、塗膜形成用組成物、エアゾール組成物、熱移動媒体
17日前
AGC株式会社
ガラスおよび化学強化ガラス
5日前
AGC株式会社
ハロゲン化アルケンの製造方法
19日前
AGC株式会社
化学強化ガラスおよび電子機器筐体
16日前
AGC株式会社
ガラス基板の製造方法及びガラス基板
1か月前
AGC株式会社
化学強化ガラス物品およびその製造方法
2日前
AGC株式会社
フツリン酸ガラス及び近赤外線カットフィルタ
16日前
続きを見る
他の特許を見る