TOP
|
特許
|
意匠
|
商標
特許ウォッチ
Twitter
他の特許を見る
10個以上の画像は省略されています。
公開番号
2025138753
公報種別
公開特許公報(A)
公開日
2025-09-25
出願番号
2025107170,2021146397
出願日
2025-06-25,2021-09-08
発明の名称
光学素子
出願人
AGC株式会社
代理人
弁理士法人酒井国際特許事務所
主分類
G02B
3/04 20060101AFI20250917BHJP(光学)
要約
【課題】投影面での光の強度を適切に分布させる。
【解決手段】光学素子10は、一方の表面に非球面状に窪むレンズ部20がマトリクス状に複数形成された透明な光学素子であって、レンズ部20は、非球面状のレンズ面22に、レンズ面22の中心Oから径方向外側に向かうプロファイルが非連続となる段差部24を含み、レンズ面22における段差部24よりも径方向内側の領域と、レンズ面における段差部24よりも径方向外側の領域とは、コーニック定数が異なる。
【選択図】図5
特許請求の範囲
【請求項1】
一方の表面に非球面状に窪むレンズ部が複数形成された光学素子であって、
前記レンズ部は、レンズ面の中心から径方向外側に向かうプロファイルが非連続となり、前記レンズ面における径方向内側の第1領域のコーニック定数が、前記レンズ面における前記第1領域よりも径方向外側の第2領域のコーニック定数よりも、大きい、
光学素子。
続きを表示(約 430 文字)
【請求項2】
前記第1領域のコーニック定数と、前記第2領域のコーニック定数との差分は、0.2以下である、請求項1に記載の光学素子。
【請求項3】
前記レンズ面の中心を含む前記第1領域のコーニック定数は、-1.2以上-0.8以下である、請求項2に記載の光学素子。
【請求項4】
前記レンズ部が段差部を有する、請求項1に記載の光学素子。
【請求項5】
前記段差部の幅は、5μm以下である、請求項4に記載の光学素子。
【請求項6】
前記段差部は、前記レンズ部の光軸方向から見て、前記レンズ面の中心を囲うように形成されている、請求項4に記載の光学素子。
【請求項7】
ガラス製である、請求項1から請求項6のいずれか1項に記載の光学素子。
【請求項8】
垂直共振器面発光型のレーザ光を照射する光源からのレーザ光の拡散に用いられる、請求項1に記載の光学素子。
発明の詳細な説明
【技術分野】
【0001】
本発明は、光学素子に関する。
続きを表示(約 1,900 文字)
【背景技術】
【0002】
光源からの光を拡散させる光学素子が知られている。例えば特許文献1には、複数の凹状のレンズ部がアレイ状に並び、各レンズ部に入射した光を拡散させる光学素子(レンズアレイ)が記載されている。このようなレンズアレイを用いることで、各レンズ部によって拡散された光を重ね合わせて、投影面での光の強度を均一化することができる。
【先行技術文献】
【特許文献】
【0003】
特許第6424418号公報
【発明の概要】
【発明が解決しようとする課題】
【0004】
このように光を拡散させる光学素子においては、投影面での光の強度を適切に分布させることが求められている。
【0005】
本発明は、上記課題に鑑みてなされたものであり、投影面での光の強度を適切に分布させることが可能な光学素子を提供することを目的とする。
【課題を解決するための手段】
【0006】
上述した課題を解決し、目的を達成するために、本開示に係る光学素子は、一方の表面に非球面状に窪むレンズ部がマトリクス状に複数形成された透明な光学素子であって、前記レンズ部は、非球面状のレンズ面に、前記レンズ面の中心から径方向外側に向かうプロファイルが非連続となる段差部を含み、前記レンズ面における前記段差部よりも径方向内側の領域と、前記レンズ面における前記段差部よりも径方向外側の領域とは、コーニック定数が異なる。
【発明の効果】
【0007】
本発明によれば、投影面での光の強度を適切に分布させることができる。
【図面の簡単な説明】
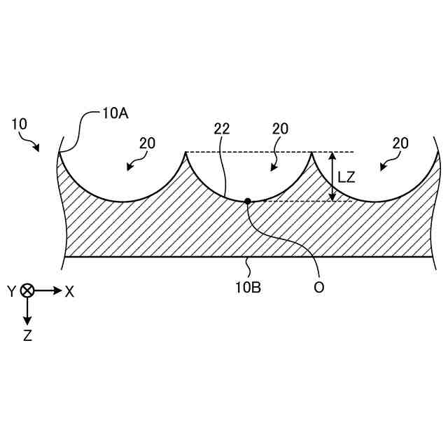
【0008】
図1は、本実施形態に係る照射システムの模式図である。
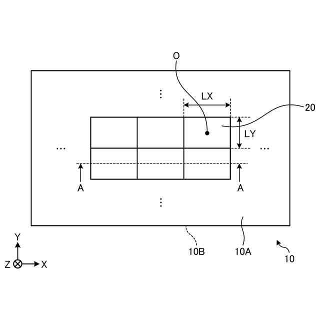
図2は、本実施形態に係る光学素子の模式的な上面図である。
図3は、図2のA-A断面図である。
図4は、本実施形態に係るレンズ部の模式的な上面図である。
図5は、図4のB-B断面図である。
図6は、段差部の一例を説明するグラフである。
図7は、投影面での光の強度分布の一例を示すグラフである。
図8は、段差部の他の例を示す模式図である。
図9は、本実施形態に係る光学素子の製造方法を説明する模式図である。
図10は、実施例における光学素子のレンズ部の形状を説明するための模式図である。
図11は、例1におけるシミュレーション結果を示すグラフである。
図12は、例2におけるシミュレーション結果を示すグラフである。
図13は、例3におけるシミュレーション結果を示すグラフである。
図14は、例4におけるシミュレーション結果を示すグラフである。
【発明を実施するための形態】
【0009】
以下に添付図面を参照して、本発明の好適な実施形態を詳細に説明する。なお、この実施形態により本発明が限定されるものではなく、また、実施形態が複数ある場合には、各実施形態を組み合わせて構成するものも含むものである。また、数値については四捨五入の範囲が含まれる。
【0010】
(照射システム)
図1は、本実施形態に係る照射システムの模式図である。本実施形態に係る照射システム1は、光を照射する装置である。照射システム1は、飛行時間(Time of Flight)方式の距離計測に用いられるが、用途はそれに限られず任意である。図1に示すように、照射システム1は、光学素子10と光源100とを備える。光源100は、光Lを照射する光源である。光源100は、光Lとして、レーザ光、より詳しくは垂直共振器面発光型のレーザ光を照射する。すなわち、光源100は、VCSEL(Vertical Cavity Emitting Laser)方式の光源である。光学素子10は、光源100の光Lの進行方向側に設けられる光学部品である。光学素子10は、一方側の表面10Aが光源100側に向くように配置される。光学素子10は、表面10Aから入射した光Lを他方側の表面10B側に向けて透過しつつ拡散し、拡散させた光Lを表面10B側から出射する。なお、光源100は、VCSELの光源に限られず、任意の光を照射するものであってよい。以下、光学素子10の厚み方向、すなわち表面10Aから表面10Bに向かう方向を、方向Zとする。方向Zは、後述するレンズ部20の光軸方向ともいえる。また、方向Zに直交する一方向を、方向Xとし、方向X及び方向Zに直交する方向を、方向Yとする。
(【0011】以降は省略されています)
この特許をJ-PlatPat(特許庁公式サイト)で参照する
関連特許
AGC株式会社
フッ素樹脂組成物
28日前
AGC株式会社
搬送治具、搬送システム及び搬送方法
15日前
AGC株式会社
フッ素樹脂接合部材およびその製造方法
1日前
AGC株式会社
ホルダー付き車両用窓ガラス及びサッシュレスドア
16日前
AGC株式会社
水性分散液
28日前
AGC株式会社
光学フィルタ
今日
AGC株式会社
光学フィルタ
7日前
AGC株式会社
含フッ素化合物
17日前
AGC株式会社
ガラス基板の製造方法
21日前
AGC株式会社
樹脂組成物、硬化物、積層体、積層体の製造方法、及び光学部品の製造方法
2日前
AGC株式会社
プリフォームの製造方法、光学素子の製造方法、及び光学素子用プリフォーム
1か月前
AGC株式会社
反射型マスクブランク、反射型マスク、反射型マスクブランクの製造方法、及び反射型マスクの製造方法
15日前
AGC株式会社
ガラス溶解炉、ガラス製品の製造設備、およびガラス製品の製造方法
28日前
AGC株式会社
窒化珪素質焼結体、ベアリング用転動体、窒化珪素質素球、及びベアリング
15日前
AGC株式会社
結晶化ガラス、高周波用基板、液晶用アンテナおよび結晶化ガラスの製造方法
1か月前
AGC株式会社
多孔質ガラス材料、多孔質ガラス材料前駆体の製造方法、多孔質ガラス材料の製造方法、多孔質構造体、物質捕捉フィルター、及び物質捕捉方法
1日前
AGC株式会社
反射型マスクブランク、反射型マスク、反射型マスクブランクの製造方法、及び反射型マスクの製造方法
21日前
AGC株式会社
樹脂層付きガラス板の製造方法、樹脂層付きガラス板、ガラス板、太陽光発電モジュール、太陽光発電モジュールの製造方法
7日前
AGC株式会社
樹脂層付きガラス板の製造方法、樹脂層付きガラス板、ガラス板、太陽光発電モジュール、太陽光発電モジュールの製造方法
7日前
株式会社シグマ
結像光学系
28日前
アイカ工業株式会社
反射防止フィルム
2日前
日東電工株式会社
導光部材
28日前
豊田合成株式会社
調光装置
15日前
株式会社コシナ
投射ズームレンズ
21日前
日本精機株式会社
ヘッドアップディスプレイ
28日前
キヤノン株式会社
表示装置
7日前
キヤノン株式会社
表示装置
今日
日本精機株式会社
ヘッドアップディスプレイ装置
28日前
住友化学株式会社
複合偏光板
今日
古河電気工業株式会社
光ファイバケーブル
今日
古河電気工業株式会社
光ファイバケーブル
今日
マクセル株式会社
映像表示装置
21日前
京セラ株式会社
アイソレータ
7日前
株式会社リコー
光走査装置及び画像形成装置
28日前
株式会社タムロン
ズームレンズ及び撮像装置
今日
レーザーテック株式会社
光学装置及び調整方法
28日前
続きを見る
他の特許を見る