TOP
|
特許
|
意匠
|
商標
特許ウォッチ
Twitter
他の特許を見る
10個以上の画像は省略されています。
公開番号
2025167089
公報種別
公開特許公報(A)
公開日
2025-11-07
出願番号
2024071377
出願日
2024-04-25
発明の名称
光学装置及び調整方法
出願人
レーザーテック株式会社
代理人
個人
主分類
G02B
5/00 20060101AFI20251030BHJP(光学)
要約
【課題】回折格子を用いた回折光における0次光を調整することができる光学装置及び調整方法を提供する。
【解決手段】本実施形態に係る光学装置1は、直線偏光を含む照明光L1を回折する回折格子10と、回折格子10によって回折された回折光LDを含む照明光L1の少なくとも一部を透過させる調整手段20と、調整手段20を支持する支持部30と、を備え、調整手段20は、照明光L1の光軸C1及び光軸C1に平行な直線と交わる平面上に、所定方向の直線偏光以外の光の透過を制限する偏光素子を含む偏光領域23を有し、支持部30は、光軸C1が偏光領域23を通るように、且つ、偏光領域23を平面上で回転可能に、調整手段を支持する。
【選択図】図1
特許請求の範囲
【請求項1】
直線偏光を含む照明光を回折する回折格子と、
前記回折格子によって回折された回折光を含む前記照明光の少なくとも一部を透過させる調整手段と、
前記調整手段を支持する支持部と、
を備え、
前記調整手段は、前記照明光の光軸及び光軸に平行な直線と交わる平面上に、所定方向の直線偏光以外の光の透過を制限する偏光素子を含む偏光領域を有し、
前記支持部は、
前記光軸が前記偏光領域を通るように、且つ、前記偏光領域を前記平面上で回転可能に、前記調整手段を支持する、
光学装置。
続きを表示(約 1,200 文字)
【請求項2】
前記調整手段は、前記平面上に前記偏光領域を取り囲む透過領域をさらに有し、
前記透過領域は、前記所定方向の直線偏光以外の光を前記偏光領域よりも透過させる、
請求項1に記載の光学装置。
【請求項3】
前記回折格子と前記調整手段との間に配置されたレンズを備え、
前記調整手段は、前記レンズのフーリエ面に配置された、
請求項1または2に記載の光学装置。
【請求項4】
前記支持部は、前記調整手段の位置を前記光軸の方向に変位可能に前記調整手段を支持する、
請求項1または2に記載の光学装置。
【請求項5】
前記照明光が前記回折格子及び前記調整手段を介して対象物を照明する場合に、
前記支持部は、前記対象物を照明する前記照明光に含まれた前記回折光の0次光の強度と、0次光以外の強度と、の割合が所定値となる位置で前記前記調整手段を支持する、
請求項1または2に記載の光学装置。
【請求項6】
導波管をさらに備え、
前記調整手段を透過した前記照明光の少なくとも一部の光は、前記導波管に入射する、
請求項1または2に記載の光学装置。
【請求項7】
前記光軸が通る前記偏光領域は、第1の偏光領域であり、
前記調整手段は、前記平面上の前記第1の偏光領域の周囲に、前記所定方向と異なる方向の直線偏光以外の光の透過を制限する第2の偏光領域を有する、
請求項1に記載の光学装置。
【請求項8】
前記調整手段は、前記平面内に前記第2の偏光領域を取り囲む透過領域をさらに有し、
前記透過領域は、前記所定方向の直線偏光以外の光を前記第1の偏光領域よりも透過させ、前記所定方向と異なる方向の直線偏光以外の光を前記第2の偏光領域よりも透過させる、
請求項7に記載の光学装置。
【請求項9】
直線偏光を含む照明光を回折する回折格子と、
前記回折格子によって回折された回折光を含む前記照明光の少なくとも一部を透過させる調整手段であって、前記照明光の光軸及び光軸に平行な直線と交わる平面上に、所定方向の直線偏光以外の光の透過を制限する偏光素子を含む偏光領域を有する前記調整手段と、
前記調整手段を支持する支持部と、
前記支持部の駆動を制御する制御部と、
を備えた光学装置における前記照明光の調整方法であって、
前記光軸が前記偏光領域を通るようにさせるステップと、
前記偏光領域を前記平面上で回転可能に、前記調整手段を支持させるステップと、
を備えた調整方法。
【請求項10】
前記調整手段は、前記平面上に、前記偏光領域を取り囲む透過領域をさらに有し、
前記透過領域は、前記所定方向の直線偏光以外の光を前記偏光領域よりも透過させる、
請求項9に記載の調整方法。
(【請求項11】以降は省略されています)
発明の詳細な説明
【技術分野】
【0001】
本開示は、光学装置及び調整方法に関する。
続きを表示(約 1,100 文字)
【背景技術】
【0002】
特許文献1には、回折光の0次光が高い強度分布を有することによる影響を緩和するために、照明光の回折格子による回折光のフーリエ面に、回折光の0次光を遮蔽する遮蔽部を設けることが開示されている。
【先行技術文献】
【特許文献】
【0003】
特開2001-284237号公報
【発明の概要】
【発明が解決しようとする課題】
【0004】
特許文献1の遮蔽部は、0次光の強度をほぼゼロとするものであるところ、回折格子による回折光の0次光の強度をより柔軟に任意に調整できる等、回折光の0次光を調整できることが好ましい。
【0005】
本開示は、このような問題点を鑑みてなされたものであり、回折格子を用いた回折光における0次光を調整することができる光学装置及び調整方法を提供するものである。
【課題を解決するための手段】
【0006】
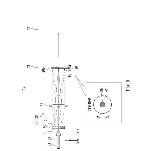
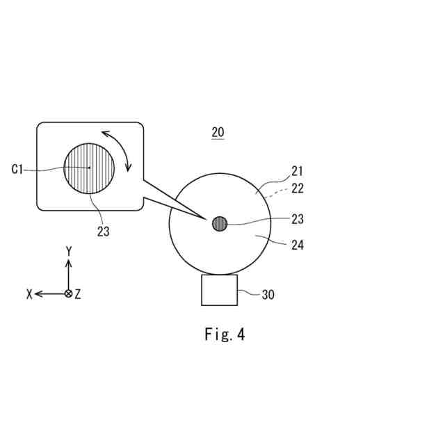
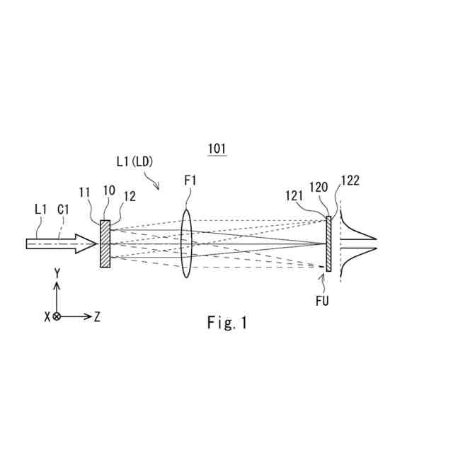
本実施形態の一態様に係る光学装置は、直線偏光を含む照明光を回折する回折格子と、
前記回折格子によって回折された回折光を含む前記照明光の少なくとも一部を透過させる調整手段と、前記調整手段を支持する支持部と、を備え、前記調整手段は、前記照明光の光軸及び光軸に平行な直線と交わる平面上に、所定方向の直線偏光以外の光の透過を制限する偏光素子を含む偏光領域を有し、前記支持部は、前記光軸が前記偏光領域を通るように、且つ、前記偏光領域を前記平面上で回転可能に、前記調整手段を支持する。
【0007】
上記の光学装置では、前記調整手段は、前記平面上に前記偏光領域を取り囲む透過領域をさらに有し、前記透過領域は、前記所定方向の直線偏光以外の光を前記偏光領域よりも透過させてもよい。
【0008】
上記の光学装置では、前記回折格子と前記調整手段との間に配置されたレンズを備え、前記調整手段は、前記レンズのフーリエ面に配置されてもよい。
【0009】
上記の光学装置では、前記支持部は、前記調整手段の位置を前記光軸の方向に変位可能に前記調整手段を支持させてもよい。
【0010】
上記の光学装置では、前記照明光が前記回折格子及び前記調整手段を介して対象物を照明する場合に、
前記支持部は、前記対象物を照明する前記照明光に含まれた前記回折光の0次光の強度と、0次光以外の強度と、の割合が所定値となる位置で前記前記調整手段を支持する、させてもよい。
(【0011】以降は省略されています)
この特許をJ-PlatPat(特許庁公式サイト)で参照する
関連特許
個人
立体像表示装置
1か月前
カンタツ株式会社
光学系
1か月前
住友化学株式会社
偏光板
1か月前
株式会社シグマ
結像光学系
25日前
株式会社シグマ
結像光学系
1か月前
住友化学株式会社
垂直偏光板
1か月前
東レ株式会社
赤外線遮蔽構成体
1か月前
東レ株式会社
貼合体の製造方法
1か月前
日本精機株式会社
ミラーユニット
1か月前
古河電気工業株式会社
融着機
1か月前
日本電気株式会社
光モジュール
1か月前
株式会社コシナ
投射ズームレンズ
18日前
個人
多方向視差効果のための微細穴加工
1か月前
日東電工株式会社
導光部材
25日前
豊田合成株式会社
調光装置
12日前
個人
眼鏡装着位置変更具および眼鏡
1か月前
京セラ株式会社
光学系
1か月前
三菱電機株式会社
レンズモジュール
1か月前
日東電工株式会社
光学積層体
27日前
AGC株式会社
インフィニティミラー
1か月前
日本精機株式会社
ヘッドアップディスプレイ
28日前
住友化学株式会社
偏光板
1か月前
住友化学株式会社
偏光板
1か月前
日本精機株式会社
ヘッドアップディスプレイ
25日前
キヤノン株式会社
表示装置
4日前
住友化学株式会社
光学積層体
1か月前
新光電気工業株式会社
光導波路部品
1か月前
京セラ株式会社
アイソレータ
4日前
マクセル株式会社
映像表示装置
18日前
日本精機株式会社
ヘッドアップディスプレイ装置
25日前
日本精機株式会社
ヘッドアップディスプレイ装置
26日前
住友化学株式会社
偏光積層体
1か月前
新光電気工業株式会社
光導波路部品
1か月前
株式会社リコー
光走査装置及び画像形成装置
25日前
株式会社タムロン
ズームレンズ及び撮像装置
1か月前
レーザーテック株式会社
光学装置及び調整方法
25日前
続きを見る
他の特許を見る