TOP
|
特許
|
意匠
|
商標
特許ウォッチ
Twitter
他の特許を見る
10個以上の画像は省略されています。
公開番号
2025167425
公報種別
公開特許公報(A)
公開日
2025-11-07
出願番号
2024072001
出願日
2024-04-26
発明の名称
ヘッドアップディスプレイ装置
出願人
日本精機株式会社
代理人
主分類
G02B
27/01 20060101AFI20251030BHJP(光学)
要約
【課題】虚像及び実像を表示するための最適なバックライトの配光特性を両立する。
【解決手段】虚像VI用の第1光源11aと、実像RI用の第2光源11bと、第1光源11aからの出射光に対応して第1光軸AX1を備えた第1表示光L1、及び、第2光源11bからの出射光に対応して第2光軸AX2を備えた第2表示光L2を出射する表示部12と、表示部12の出射光をウインドウシールドWSに向けて反射させる反射部13と、虚像VIを視認させるときには第1光源11aを点灯、実像RIを視認させるときには第2光源11bを点灯するよう制御する制御部15と、第1光源11aが点灯されるときには第1光軸AX1を第1配光態様とし、第2光源11bが点灯されるときには第2光軸AX2を、第1配光態様よりも配光が進行方向に向かって狭くなる第2配光態様とする配光調整部とを備える。
【選択図】図1
特許請求の範囲
【請求項1】
射出口を有し、前記射出口から表示光を透光部材に向けて射出することで前記表示光が表す表示像の虚像及び実像を視認させるヘッドアップディスプレイ装置であって、
前記虚像用の複数の第1光源と、
前記実像用の複数の第2光源と、
表示素子を備え、前記複数の第1光源からの出射光に対応して複数の第1光軸を備えた第1表示光、及び、前記複数の第2光源からの出射光に対応して複数の第2光軸を備えた第2表示光、を出射する表示部と、
前記表示部から出射された前記第1表示光及び前記第2表示光を前記透光部材に向けて反射させる反射部と、
前記虚像を視認させるときには前記複数の第1光源を点灯するよう制御し、前記実像を視認させるときには前記複数の第2光源を点灯するよう制御する制御部と、
前記制御部により前記複数の第1光源が点灯されるときには前記複数の第1光軸全体を第1配光態様とし、前記制御部により前記複数の第2光源が点灯されるときには前記複数の第2光軸全体を、前記第1配光態様よりも光の進行方向に向かって狭くなる第2配光態様とするための、配光調整部と、
を有することを特徴とするヘッドアップディスプレイ装置。
続きを表示(約 2,000 文字)
【請求項2】
前記配光調整部は、
出射側に複数の凸レンズを備えた第1コンデンサレンズであり、
前記第1コンデンサレンズは、
各凸レンズにおいて、対応する前記第1光軸が当該凸レンズの頂点を通る中心軸と略一致するとともに、対応する前記第2光軸が前記中心軸からずれて位置するように配置されている
ことを特徴とする請求項1記載のヘッドアップディスプレイ装置。
【請求項3】
前記複数の第2光源は、前記第1コンデンサレンズの中心軸を境界に、
対応する前記凸レンズの前記中心軸の一方側に位置する複数の一方側第2光源と、
対応する前記凸レンズの前記中心軸の他方側に位置する複数の他方側第2光源と、を含む
ことを特徴とする請求項2記載のヘッドアップディスプレイ装置。
【請求項4】
前記複数の第1光源及び前記複数の第2光源は、
対応する1つの第1光源及び1つの第2光源を1組としたとき、
前記第1コンデンサレンズの中心軸からの距離が遠い1組の前記1つの第1光源と前記1つの第2光源との間の距離が、前記第1コンデンサレンズの中心軸からの距離が近い1組の前記1つの第1光源と前記1つの第2光源との間の距離よりも大きくなるように配置されている
ことを特徴とする請求項3記載のヘッドアップディスプレイ装置。
【請求項5】
前記配光調整部は、
出射側に複数の凸レンズを備えた第2コンデンサレンズであり、
前記複数の第2光源は、
対応する前記凸レンズの頂点を通る中心軸の一方側に位置しており、
前記複数の第1光源は、
対応する前記凸レンズの前記頂点を通る前記中心軸の他方側に位置している
ことを特徴とする請求項1記載のヘッドアップディスプレイ装置。
【請求項6】
前記複数の第1光源及び前記複数の第2光源のうち、少なくともいずれか一方は、
各光源と対応する前記中心軸との距離が、段階的に増加する又は減少するように、配列されている
ことを特徴とする請求項5記載のヘッドアップディスプレイ装置。
【請求項7】
前記配光調整部は、
出射側に第1凸レンズ及び第2凸レンズを備えた第1フィールドレンズであり、
前記第1凸レンズにおいては、
対応する前記第2光軸が当該第1凸レンズの頂点を通る中心軸の一方側に位置するとともに、対応する前記第1光軸が当該第1凸レンズの前記頂点を通る前記中心軸の他方側に位置しており、
前記第2凸レンズにおいては、
対応する前記第2光軸が当該第2凸レンズの頂点を通る中心軸の前記他方側に位置するとともに、対応する前記第1光軸が当該第2凸レンズの前記頂点を通る前記中心軸の前記一方側に位置している
ことを特徴とする請求項6記載のヘッドアップディスプレイ装置。
【請求項8】
前記第1凸レンズにおいて、
対応する前記第1光軸及び前記第2光軸は、当該第1凸レンズの頂点を通る前記中心軸に関して互いに線対称な位置にそれぞれ配置されており、
前記第2凸レンズにおいて、
対応する前記第1光軸及び前記第2光軸は、当該第2凸レンズの頂点を通る前記中心軸に関して互いに線対称な位置にそれぞれ配置されている
ことを特徴とする請求項7記載のヘッドアップディスプレイ装置。
【請求項9】
前記第1フィールドレンズよりも前記第1光源及び前記第2光源側に配置され、出射側に複数の第3凸レンズを備えた第3コンデンサレンズを更に有し、
前記第3コンデンサレンズでは、
前記第1フィールドレンズの前記第1凸レンズの入射側に2つの前記第3凸レンズが配置され、前記第1フィールドレンズの前記第2凸レンズの入射側に2つの前記第3凸レンズが配置されている
ことを特徴とする請求項8記載のヘッドアップディスプレイ装置。
【請求項10】
前記配光調整部は、
入射側凸レンズ及び出射側凸レンズを備えた1つの第2フィールドレンズであり、
前記第2フィールドレンズは、
前記入射側凸レンズから入射した前記複数の第1光源からの出射光に対応して、前記出射側凸レンズから前記複数の第1光軸を前記第1配光態様としての平行光にて出射し、
前記入射側凸レンズから入射した前記複数の第2光源からの出射光に対応して、前記出射側凸レンズから前記複数の第2光軸を前記第2配光態様としての前記平行光よりも狭まる配光態様にて出射する
ことを特徴とする請求項1記載のヘッドアップディスプレイ装置。
発明の詳細な説明
【技術分野】
【0001】
本発明は、視認者に対して虚像及び実像を視認させるヘッドアップディスプレイ装置に関するものである。
続きを表示(約 2,300 文字)
【背景技術】
【0002】
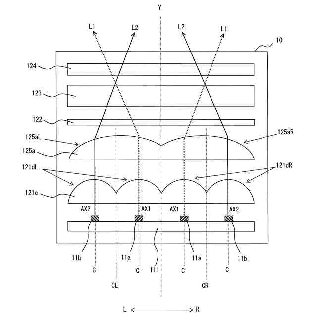
従来、例えば特許文献1に記載の表示装置が知られている。この表示装置では、視認者に対して画像を車外の位置に虚像として見えるように表示する。画像は液晶表示パネルに表示され、そのバックライトは、光源の光が第1のレンズを通過して平行化され、その後、第2のレンズや第3のレンズを通過して縦横に広がり、光拡散部材を通過して均整化されたものとなり、液晶表示パネルを背後から照明する。特に、複数個の光源のそれぞれと、第1のレンズ(コンデンサレンズ)の凸レンズとが1対1の関係で配置され、且つ、それぞれの光源における最も光が強い光線である光軸と、凸レンズの頂点である極大点を通る中心軸が一致するように配置される。
【0003】
また、例えば、車外の位置に虚像が視認されるように表示を行ったり、車内の位置に実像が視認されるように表示を行う技術として、特許文献2に示す技術が知られている。
【先行技術文献】
【特許文献】
【0004】
特開2016-218391号公報
特開2022-129223号公報
【発明の概要】
【発明が解決しようとする課題】
【0005】
しかしながら、一般的に虚像が視認されるように表示する場合のバックライトの最適な光の配光は広がり配光となるのが好ましく、一方、実像が視認されるように表示する場合のバックライトの最適な光の配光は狭まり配光となるのが好ましいため、それぞれの最適な光の配光が異なり、いずれか一方の配光特性とした場合には、他方の効率が悪くなってしまうという問題があった。
【0006】
そこで、本発明は、上記問題点に鑑みてなされたものであり、虚像及び実像を表示するための最適なバックライトの配光特性を両立するへッドアップディスプレイ装置を提供することを目的とする。
【課題を解決するための手段】
【0007】
本発明は、射出口17を有し、前記射出口17から表示光Lを透光部材WSに向けて射出することで前記表示光Lが表す表示像の虚像VI及び実像RIを視認させるヘッドアップディスプレイ装置1であって、前記虚像VI用の複数の第1光源11aと、前記実像RI用の複数の第2光源11bと、表示素子123を備え、前記複数の第1光源11aからの出射光に対応して複数の第1光軸AX1を備えた第1表示光L1、及び、前記複数の第2光源11bからの出射光に対応して複数の第2光軸AX2を備えた第2表示光L2、を出射する表示部12と、前記表示部12から出射された前記第1表示光L1及び前記第2表示光L2を前記透光部材WSに向けて反射させる反射部13と、前記虚像VIを視認させるときには前記複数の第1光源11aを点灯するよう制御し、前記実像RIを視認させるときには前記複数の第2光源11bを点灯するよう制御する制御部15と、前記制御部15により前記複数の第1光源11aが点灯されるときには前記複数の第1光軸AX1全体を第1配光態様とし、前記制御部15により前記複数の第2光源11bが点灯されるときには前記複数の第2光軸AX2全体を、前記第1配光態様よりも光の進行方向に向かって狭くなる第2配光態様とするための、配光調整部121a,121b,125a,128と、を有することを特徴とする。
【発明の効果】
【0008】
本発明によれば、虚像が視認される場合の第1配光態様と、実像が視認される場合の第2配光態様とをそれぞれ最適な配光として両立するヘッドアップディスプレイ装置を提供することができる。
【図面の簡単な説明】
【0009】
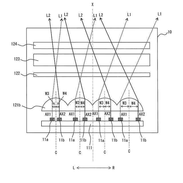
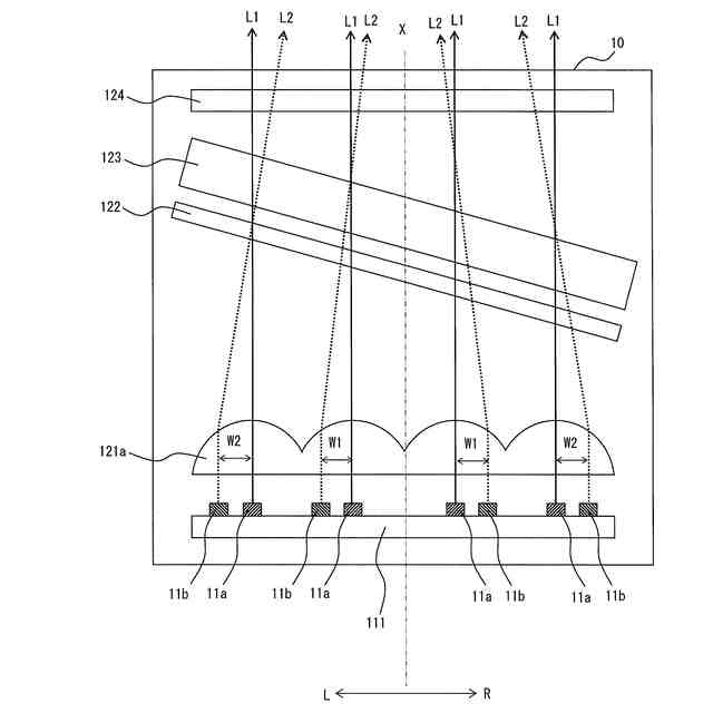
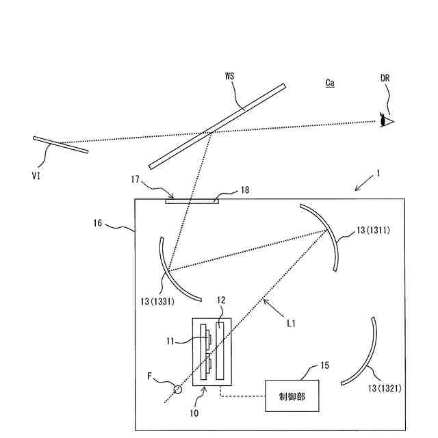
本発明の第1の実施形態に係るヘッドアップディスプレイ装置において虚像を生成する場合の構成を示す図。
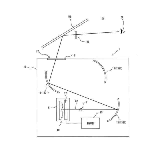
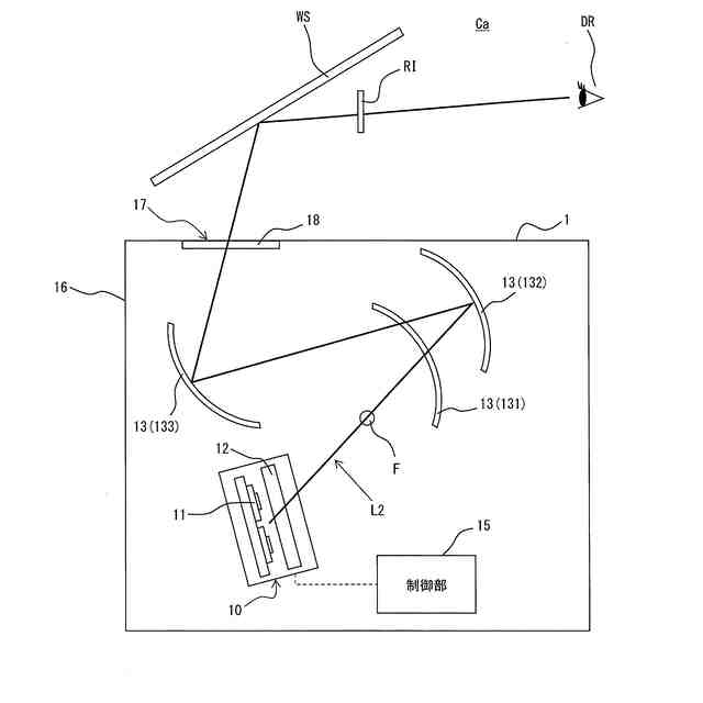
本発明の第1の実施形態に係るヘッドアップディスプレイ装置において実像を生成する場合の構成を示す図。
本発明の第1の実施形態に係るヘッドアップディスプレイ装置におけるPGU(Picture Generation Unit)の構造を示す模式図。
本発明の第1の実施形態に係るヘッドアップディスプレイ装置におけるPGUの光の作用を示す模式図。
本発明の第2の実施形態に係るヘッドアップディスプレイ装置において虚像を生成する場合の構成を示す図。
本発明の第2の実施形態に係るヘッドアップディスプレイ装置において実像を生成する場合の構成を示す図。
本発明の第2の実施形態に係るヘッドアップディスプレイ装置において第1光源を一方側に配置し、第2光源を他方側に配置した場合のPGUの構造を示す模式図。
本発明の第2の実施形態に係るヘッドアップディスプレイ装置において第1光源を他方側に配置し、第2光源を一方側に配置した場合のPGUの構造を示す模式図。
本発明の第3の実施形態に係るヘッドアップディスプレイ装置におけるPGUの構造を示す模式図。
本発明の第4の実施形態に係るヘッドアップディスプレイ装置におけるPGUの構造を示す模式図。
【発明を実施するための形態】
【0010】
(本発明の第1の実施形態)
本実施形態に係るヘッドアップディスプレイ装置(以下、HUD装置という)について図1ないし図4を参照して説明する。図1は、本実施形態に係るHUD装置において虚像を生成する場合の構成を示す図、図2は、本実施形態に係るHUD装置において実像を生成する場合の構成を示す図である。
(【0011】以降は省略されています)
この特許をJ-PlatPat(特許庁公式サイト)で参照する
関連特許
日本精機株式会社
回路基板
今日
日本精機株式会社
表示装置
1か月前
日本精機株式会社
照明装置
1か月前
日本精機株式会社
検出装置
1か月前
日本精機株式会社
プロジェクタ
4日前
日本精機株式会社
車載表示装置
1か月前
日本精機株式会社
画像投映装置
2か月前
日本精機株式会社
車載表示装置
1か月前
日本精機株式会社
発光表示装置
12日前
日本精機株式会社
運転支援装置
1か月前
日本精機株式会社
車載表示装置
1か月前
日本精機株式会社
車両用投射装置
2か月前
日本精機株式会社
車両用表示装置
1か月前
日本精機株式会社
車両用報知装置
1か月前
日本精機株式会社
ミラーユニット
1か月前
日本精機株式会社
車両用投射装置
2か月前
日本精機株式会社
サージ保護回路
2か月前
日本精機株式会社
車両用表示装置
2か月前
日本精機株式会社
車両用表示装置
4日前
日本精機株式会社
スペックル低減装置
1か月前
日本精機株式会社
交通保安用投影装置
今日
日本精機株式会社
鞍乗型車両用表示装置
1か月前
日本精機株式会社
照明装置及び表示装置
11日前
日本精機株式会社
鞍乗型車両用表示装置
5日前
日本精機株式会社
車両表示装置用回路基板
4日前
日本精機株式会社
ヘッドアップディスプレイ
1か月前
日本精機株式会社
スクリーン反射型表示装置
1か月前
日本精機株式会社
表示装置及びその製造方法
1か月前
日本精機株式会社
ヘッドアップディスプレイ
1か月前
日本精機株式会社
ヘッドアップディスプレイ装置
2か月前
日本精機株式会社
ヘッドアップディスプレイ装置
1か月前
日本精機株式会社
ヘッドアップディスプレイ装置
1か月前
日本精機株式会社
表示制御装置、表示装置、及び表示制御方法
1か月前
日本精機株式会社
表示制御装置、表示装置、及び表示制御方法
4日前
日本精機株式会社
表示装置及びヘッドアップディスプレイ装置
今日
日本精機株式会社
ヘッドアップディスプレイ装置及び表示制御装置
1か月前
続きを見る
他の特許を見る