TOP
|
特許
|
意匠
|
商標
特許ウォッチ
Twitter
他の特許を見る
公開番号
2025135744
公報種別
公開特許公報(A)
公開日
2025-09-19
出願番号
2024033680
出願日
2024-03-06
発明の名称
報知装置及び報知システム
出願人
日本精機株式会社
代理人
主分類
G08B
21/02 20060101AFI20250911BHJP(信号)
要約
【課題】 警戒すべき物体を速やかに認識できる報知装置及び報知システムを提供する。
【解決手段】 工事現場で作業する作業員が装着し、警戒すべき物体の接近を作業員に報知する報知装置2であって、物体に関する情報を受信する通信部24と、報知装置2の位置を検出する位置センサ21と、報知装置2が向いている方角を検出する地磁気センサ22と、作業員に物体の接近を報知する報知部23と、を備え、報知部23から作業員に報知する情報には、作業員に対して物体が接近してくる相対的な方角情報が含まれる。
【選択図】 図1
特許請求の範囲
【請求項1】
工事現場で作業する作業員が装着し、警戒すべき物体の接近を前記作業員に報知する報知装置であって、
前記物体に関する情報を受信する通信部と、
前記報知装置の位置を検出する位置センサと、
前記報知装置が向いている方角を検出する地磁気センサと、
前記作業員に前記物体の接近を報知する報知部と、を備え、
前記報知部から前記作業員に報知する情報には、前記作業員に対して前記物体が接近してくる相対的な方角情報が含まれる、報知装置。
続きを表示(約 1,300 文字)
【請求項2】
前記報知装置は、前記作業員の頭部に装着可能なヘルメットの形態を有する、請求項1に記載の報知装置。
【請求項3】
工事現場で作業する作業員に、警戒すべき物体の接近を報知する報知システムであって、
前記工事現場又は前記工事現場の周辺に設置される検出装置と、
前記作業員が装着する報知装置と、
前記検出装置及び前記報知装置と通信可能な管理装置と、を備え、
前記検出装置は、
前記物体の接近を検出する接近センサと、
前記検出装置の位置を検出する第1の位置センサと、
前記接近センサ及び前記第1の位置センサの検出情報を前記管理装置に送信する第1の通信部と、を備え、
前記報知装置は、
前記報知装置の位置を検出する第2の位置センサと、
前記報知装置が向いている方角を検出する地磁気センサと、
前記作業員に前記物体の接近を報知する報知部と、
前記第2の位置センサ及び前記地磁気センサの検出情報を前記管理装置に送信し、かつ前記管理装置から前記作業員に報知すべき報知情報を受信する第2の通信部と、を備え、
前記管理装置は、
前記検出装置及び前記報知装置から前記検出情報を受信し、かつ前記報知装置に前記報知情報を送信する第3の通信部と、
前記接近センサ、前記第1の位置センサ、前記第2の位置センサ及び前記地磁気センサの検出情報に基づいて、前記作業員に対して前記物体が接近してくる相対的な方角を演算する制御部と、を備え、
前記報知情報には、前記作業員に対して前記物体が接近してくる相対的な方角情報が含まれる、報知システム。
【請求項4】
工事現場で作業する作業員に、工事車両の接近を報知する報知システムであって、
前記工事車両に装着される検出装置と、
前記作業員が装着する報知装置と、
前記検出装置及び前記報知装置と通信可能な管理装置と、を備え、
前記検出装置は、
前記検出装置の位置を検出する第1の位置センサと、
前記第1の位置センサの検出情報を前記管理装置に送信する第1の通信部と、を備え、
前記報知装置は、
前記報知装置の位置を検出する第2の位置センサと、
前記報知装置が向いている方角を検出する地磁気センサと、
前記作業員に前記工事車両の接近を報知する報知部と、
前記第2の位置センサ及び前記地磁気センサの検出情報を前記管理装置に送信し、かつ前記管理装置から前記作業員に報知すべき報知情報を受信する第2の通信部と、を備え、
前記管理装置は、
前記検出装置及び前記報知装置から前記検出情報を受信し、かつ前記報知装置に前記報知情報を送信する第3の通信部と、
前記第1の位置センサ、前記第2の位置センサ及び前記地磁気センサの検出情報に基づいて、前記作業員に対して前記工事車両が接近してくる相対的な方角を演算する制御部と、を備え、
前記報知情報には、前記作業員に対して前記工事車両が接近してくる相対的な方角情報が含まれる、報知システム。
発明の詳細な説明
【技術分野】
【0001】
本開示は、報知装置及び報知システムに関する。
続きを表示(約 1,100 文字)
【背景技術】
【0002】
従来、工事現場に侵入する車両を検出し、工事現場の作業員に危険を報知する報知システムが提案されている(例えば、特許文献1参照)。
【先行技術文献】
【特許文献】
【0003】
特開2013-218618号公報
【発明の概要】
【発明が解決しようとする課題】
【0004】
しかしながら、特許文献1に開示される技術では、車両の検出に基づいて作業員に危険を報知しても、作業員が車両を速やかに認識することができず、危険回避行動に遅れが生じる可能性がある。
【0005】
そこで、本開示は、警戒すべき物体を速やかに認識できる報知装置及び報知システムの提供を目的とする。
【課題を解決するための手段】
【0006】
1つの側面では、以下のような解決手段を提供する。
工事現場で作業する作業員が装着し、警戒すべき物体の接近を前記作業員に報知する報知装置であって、
前記物体に関する情報を受信する通信部と、
前記報知装置の位置を検出する位置センサと、
前記報知装置が向いている方角を検出する地磁気センサと、
前記作業員に前記物体の接近を報知する報知部と、を備え、
前記報知部から前記作業員に報知する情報には、前記作業員に対して前記物体が接近してくる相対的な方角情報が含まれる。
【発明の効果】
【0007】
本開示によれば、作業員は、警戒すべき物体を速やかに認識することが可能となる。
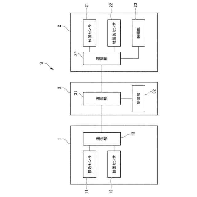
【図面の簡単な説明】
【0008】
本実施例の報知システムの構成を示すブロック図である。
報知システムの第1の使用例を示す図である。
第1の使用例における管理装置の処理手順を示すフローチャートである。
報知システムの第2の使用例を示す図である。
第2の使用例における管理装置の処理手順を示すフローチャートである。
【発明を実施するための形態】
【0009】
以下、添付図面を参照しながら実施例について詳細に説明する。
【0010】
<報知システム>
図1は、本実施例の報知システムSの構成を示すブロック図である。
図1に示すように、本実施例の報知システムSは、検出装置1と、報知装置2と、管理装置3と、を含む。検出装置1及び報知装置2は、1つの管理装置3に対して1つでもよいし、2つ以上でもよい。
(【0011】以降は省略されています)
この特許をJ-PlatPat(特許庁公式サイト)で参照する
関連特許
日本精機株式会社
照明装置
3日前
日本精機株式会社
検出装置
2日前
日本精機株式会社
表示装置
3日前
日本精機株式会社
位置検出装置
1か月前
日本精機株式会社
車載表示装置
9日前
日本精機株式会社
位置検出装置
1か月前
日本精機株式会社
画像投映装置
1か月前
日本精機株式会社
運転支援装置
1日前
日本精機株式会社
車載表示装置
16日前
日本精機株式会社
車載表示装置
11日前
日本精機株式会社
車両用投射装置
1か月前
日本精機株式会社
車両用表示装置
1か月前
日本精機株式会社
サージ保護回路
1か月前
日本精機株式会社
車両用投射装置
29日前
日本精機株式会社
車両用報知装置
15日前
日本精機株式会社
車両用表示装置
9日前
日本精機株式会社
ミラーユニット
9日前
日本精機株式会社
スペックル低減装置
24日前
日本精機株式会社
鞍乗型車両用表示装置
今日
日本精機株式会社
表示装置及びその製造方法
3日前
日本精機株式会社
スクリーン反射型表示装置
1日前
日本精機株式会社
ヘッドアップディスプレイ
3日前
日本精機株式会社
ヘッドアップディスプレイ
今日
日本精機株式会社
ヘッドアップディスプレイ装置
1日前
日本精機株式会社
ヘッドアップディスプレイ装置
29日前
日本精機株式会社
ヘッドアップディスプレイ装置
今日
日本精機株式会社
表示制御装置、表示装置、及び表示制御方法
今日
日本精機株式会社
ヘッドアップディスプレイ装置及び表示制御装置
今日
日本精機株式会社
嚥下異常検出システム、嚥下異常検出装置および嚥下異常検出用プログラム
今日
日本精機株式会社
ヘッドアップディスプレイ装置
24日前
日本精機株式会社
音圧制御装置、及びサウンダーの音圧制御システム、並びにサウンダーの音圧制御方法
17日前
日本精機株式会社
ヘッドアップディスプレイ装置、ヘッドアップディスプレイ装置の制御方法、および表示制御プログラム
17日前
日本精機株式会社
表示制御装置、ヘッドアップディスプレイ装置、表示装置の制御方法、プログラム、および車両用表示システム
17日前
日本精機株式会社
表示制御装置、ヘッドアップディスプレイ装置、表示制御方法、表示制御プログラム、および車両用表示システム
1日前
日本精機株式会社
車両用表示制御装置、ヘッドアップディスプレイ装置、表示制御方法、表示制御プログラム、および車両用表示システム
1日前
個人
安全支援装置
2日前
続きを見る
他の特許を見る