TOP
|
特許
|
意匠
|
商標
特許ウォッチ
Twitter
他の特許を見る
10個以上の画像は省略されています。
公開番号
2025167117
公報種別
公開特許公報(A)
公開日
2025-11-07
出願番号
2024071438
出願日
2024-04-25
発明の名称
表示制御装置、表示装置、及び表示制御方法
出願人
日本精機株式会社
代理人
個人
,
個人
,
個人
,
個人
,
個人
主分類
G02B
27/01 20060101AFI20251030BHJP(光学)
要約
【課題】 2つの表示部を電気的に切替制御することで虚像と実像を表示する場合における、切替に要する時間を短縮する。
【解決手段】 表示制御装置50は、第1、第2の表示部11A、11Bの何れか一方に対して起動シーケンスの一部の起動段階を実施する場合には、その起動段階に連動して、何れか他方の表示部においても併行して一部の起動段階を実施させる第1、第2の連動制御を実行し、その何れか一方の表示部に対して終了シーケンスの各段階を実行する場合は、その終了期間中において、何れか他方の表示部において併行して、第3の連動制御を実施し、これによって、何れか他方の表示部において、未だ起動していない起動段階が併行して実施すると共に、このとき、何れか一方の表示部のバックライトのオン期間と、何れか他方の表示部のバックライトのオン期間とが重ならないように制御する。
【選択図】 図4
特許請求の範囲
【請求項1】
車両に搭載され、前記車両の搭乗者である視認者に、画像としての虚像又は実像を切替えて視認させることが可能であり、
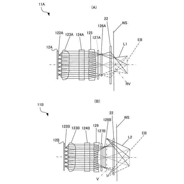
第1のバックライトを備える、虚像表示用の第1の表示部と、
第2のバックライトを備える、実像表示用の第2の表示部と、
を有する表示装置の、前記第1、第2の表示部の何れを使用するかを切替える切替制御を実施する表示制御装置であって、
前記第1、第2の表示部の起動は、起動シーケンスによって実施され、
前記第1、第2の表示部の表示の終了は、終了シーケンスによって実施され、
前記起動、終了の各シーケンスは、予め定められた順序または手続きに従って制御の各段階を逐次進めていく制御であって、
前記起動シーケンスは、
前記第1、第2の表示部のリセットを解除する第1の起動段階と、
前記第1、第2の表示部に対する映像信号の入力を開始する第2の起動段階と、
前記第1、第2の表示部にディスプレイオンコマンドを入力して表示オン状態とする第3の起動段階と、
前記第1、第2の表示部における前記第1、第2のバックライトを点灯する第4の起動段階と、
を含み、
前記終了シーケンスは、
前記第1、第2の表示部における前記第1、第2のバックライトを消灯する第1の終了段階と、
前記第1、第2の表示部のディスプレイオフコマンドを入力して表示オフ状態とする第2の終了段階と、
前記第1、第2の表示部に対する映像信号の入力を終了させる第3の終了段階と、
前記第1、第2の表示部をリセットする第4の終了段階と、
を含み、
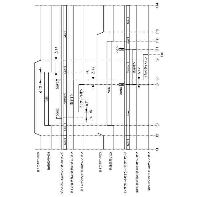
前記起動、終了の各シーケンスでは、全部の段階を実行することでそのシーケンスが完了するが、途中の段階にて止められている状態では、前記第1、第2の表示部は、電流消費が通常の動作時よりも低く設定されている低消費電力モードとなり、
前記表示制御装置は、
前記第1、第2の何れか一方の表示部について、リセットを解除して前記第1の起動段階を実行する場合には、何れか他方の表示部についても、前記何れか一方の表示部の起動段階の開始タイミングに連動させて前記第1の起動段階を併行して開始させる第1の連動制御を実行し、
かつ、
前記第1、第2の何れか一方の表示部について、映像信号の入力を開始させて前記第2の起動段階を実行する場合には、何れか他方の表示部についても、前記何れか一方の表示部における映像信号の入力開始タイミング、又は、その映像信号の入力が終了するタイミングに連動させて、前記第2の起動段階を併行して開始させる第2の連動制御を実行し、
その後、前記何れか一方の表示部においてのみ、前記ディスプレイオンコマンドの入力による前記第3の起動段階、及び、前記第1、第2のバックライトの何れか一方の点灯による前記第4の起動段階を実行し、これによって、前記何れか一方の表示部における映像の表示を開始させ、
その後、映像を表示している前記何れか一方の表示部において、前記第1~第4の終了段階を実施して表示を終了させる場合には、その表示の終了期間中において、
前記第1、第2の何れか他方の表示部における、前記ディスプレイオンコマンドの入力による前記第3の起動段階と、前記第1、第2のバックライトの何れか他方を点灯する前記第4の起動段階と、を併行して、かつ、前記第1、第2のバックライトの何れか一方の点灯期間と、前記第1、第2のバックライトの何れか他方の点灯期間とが重ならないようにして実施する、第3の連動制御を実行する、
表示制御装置。
続きを表示(約 3,100 文字)
【請求項2】
前記表示制御装置は、
前記第2の連動制御において、前記第1、第2の何れか一方の表示部における映像信号の入力開始タイミングに連動させて、前記第1、第2の何れか他方の表示部で前記第2の起動段階を実行して映像信号の入力を開始させた場合には、
前記第3の連動制御に際して、
前記第1、第2の何れか一方の表示部において前記第1の終了段階を実行して、第1のタイミングで前記第1、第2のバックライトの何れか一方をオフすると共に、続いて、前記第1のタイミングから所定の第1の遅延時間が経過した第2のタイミングで、前記第2の終了段階を実行して表示オフ状態とし、
かつ、
前記第1、第2の何れか他方の表示部において、前記第1のタイミングにて、前記第3の起動段階を実行して表示オン状態とすると共に、前記第2のタイミングにて、前記第4の起動段階を実行して、前記第1、第2のバックライトの何れか他方を点灯させる、
請求項1に記載の表示制御装置。
【請求項3】
前記表示制御装置は、
前記第2の連動制御において、前記第1、第2の何れか一方の表示部における映像信号の入力が終了するタイミングに連動させて、前記第1、第2の何れか他方の表示部で前記第2の起動段階を実行して映像信号の入力を開始させる場合には、
前記第3の連動制御に際して、
前記第1、第2の何れか一方の表示部において前記第1の終了段階を実行して、第1のタイミングで前記第1、第2のバックライトの何れか一方をオフすると共に、続いて、前記第1のタイミングから所定の第1の遅延時間が経過した第2のタイミングで、前記第2及び第3の終了段階を実行して、表示オフ状態とし、かつ映像信号の入力を終了させ、
かつ、
前記第1、第2の何れか他方の表示部において、前記第2のタイミングにて、前記第2の起動段階を実行して映像信号の入力を開始させ、
前記第2のタイミングから所定の第2の遅延時間が経過した第3のタイミングで、第3の起動段階を実行して表示オン状態とし、
前記第3のタイミングから所定の第3の遅延時間が経過した前記第4のタイミングで、前記第4の起動段階を実行して、前記第1、第2のバックライトの何れか他方を点灯させる、
請求項1に記載の表示制御装置。
【請求項4】
前記表示制御装置は、
前記第1、第2の表示部の各々に各々用の映像信号を入力させる場合には、
共通の信号線を介して、前記各々用の映像信号を供給させると共に、前記共通の信号線に接続されているセレクタの経路を選択信号により制御し、これによって、前記共通の信号線を介して供給されている映像信号を前記第1、第2の何れの表示部に入力するかを決定する、
請求項3に記載の表示制御装置。
【請求項5】
車両に搭載され、前記車両の搭乗者である視認者に、画像としての虚像又は実像を切替えて視認させることが可能であり、
第1のバックライトを備える、虚像表示用の第1の表示部と、
第2のバックライトを備える、実像表示用の第2の表示部と、
請求項1~4の何れか1項に記載の表示制御装置と、
を有する表示装置。
【請求項6】
前記表示装置は、
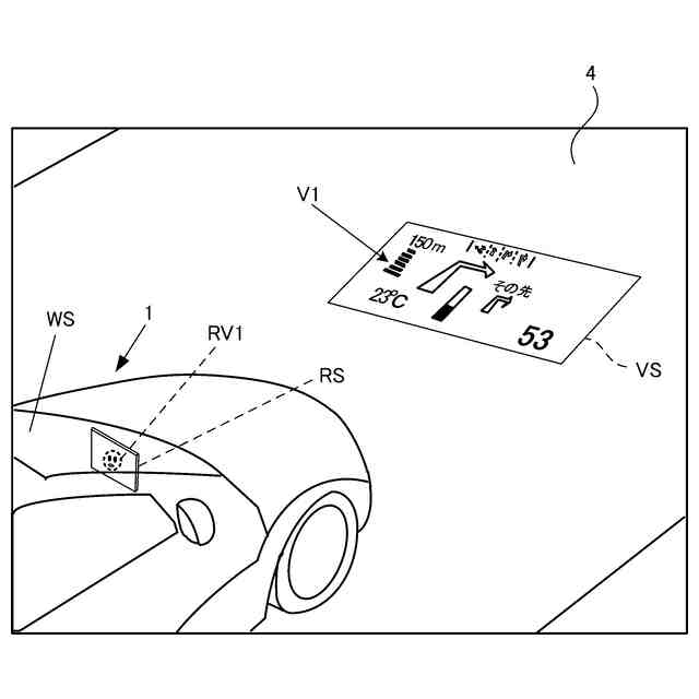
出射窓を有し、前記出射窓から、前記第1又は第2の表示部が生成する表示光を射出することで、前記表示光が表す画像である虚像及び実像を視認者に視認させるヘッドアップディスプレイ装置である、
請求項5に記載の表示装置。
【請求項7】
車両に搭載され、前記車両の搭乗者である視認者に、画像としての虚像又は実像を切替えて視認させることが可能であり、
第1のバックライトを備える、虚像表示用の第1の表示部と、
第2のバックライトを備える、実像表示用の第2の表示部と、
を有する表示装置の、前記第1、第2の表示部の何れを使用するかを切替える切替制御を実施する表示制御方法であって、
前記第1、第2の表示部の起動は、起動シーケンスによって実施され、
前記第1、第2の表示部の表示の終了は、終了シーケンスによって実施され、
前記起動、終了の各シーケンスは、予め定められた順序または手続きに従って制御の各段階を逐次進めていく制御であって、
前記起動シーケンスは、
前記第1、第2の表示部のリセットを解除する第1の起動段階と、
前記第1、第2の表示部に対する映像信号の入力を開始する第2の起動段階と、
前記第1、第2の表示部にディスプレイオンコマンドを入力して表示オン状態とする第3の起動段階と、
前記第1、第2の表示部における前記第1、第2のバックライトを点灯する第4の起動段階と、
を含み、
前記終了シーケンスは、
前記第1、第2の表示部における前記第1、第2のバックライトを消灯する第1の終了段階と、
前記第1、第2の表示部の前記ディスプレイオフコマンドを入力して表示オフ状態とする第2の終了段階と、
前記第1、第2の表示部に対する映像信号の入力を終了させる第3の終了段階と、
前記第1、第2の表示部をリセットする第4の終了段階と、
を含み、
前記起動、終了の各シーケンスでは、全部の段階を実行することでそのシーケンスが完了するが、途中の段階にて止められている状態では、前記第1、第2の表示部は、電流消費が通常の動作時よりも低く設定されている低消費電力モードとなり、
表示制御に際しては、
前記第1、第2の何れか一方の表示部について、リセットを解除して前記第1の起動段階を実行する場合には、何れか他方の表示部についても、前記何れか一方の表示部の起動段階の開始タイミングに連動させて前記第1の起動段階を併行して開始させる第1の連動制御を実行し、
かつ、
前記第1、第2の何れか一方の表示部について、映像信号の入力を開始させて前記第2の起動段階を実行する場合には、何れか他方の表示部についても、前記何れか一方の表示部における映像信号の入力開始タイミング、又は、その映像信号の入力が終了するタイミングに連動させて、前記第2の起動段階を併行して開始させる第2の連動制御を実行し、
その後、前記何れか一方の表示部においてのみ、前記ディスプレイオンコマンドの入力による前記第3の起動段階、及び、前記第1、第2のバックライトの何れか一方の点灯による前記第4の起動段階を実行し、これによって、前記何れか一方の表示部における映像の表示を開始させ、
その後、映像を表示している前記何れか一方の表示部において、前記第1~第4の終了段階を実施して表示を終了させる場合には、その表示の終了期間中において、
前記第1、第2の何れか他方の表示部における、ディスプレイオンコマンドの入力による前記第3の起動段階と、前記第1、第2のバックライトの何れか他方を点灯する第4の起動段階と、を併行して、かつ、前記第1、第2の何れか一方の表示部における、前記第1、第2のバックライトの何れか一方の点灯期間と、前記第1、第2の何れか他方の表示部における、前記第1、第2のバックライトの何れか他方の点灯期間とが重ならないようにして実施する、第3の連動制御を実行する、
表示制御方法。
発明の詳細な説明
【技術分野】
【0001】
本発明は、例えば自動車等の車両に搭載される表示制御装置、表示装置、及び表示制御方法等に関する。
続きを表示(約 1,500 文字)
【背景技術】
【0002】
特許文献1には、虚像と実像を切替えて表示することが可能なヘッドアップディスプレイ(HUD)装置が示されている。
【0003】
この特許文献1では、液晶パネル(被観察物)、2面コーナーリフレクタアレイ、及び反射部材の相互の位置関係を機械的に変化させることで、虚像と実像の切替えを実施している(図12、[0050]等)。
【先行技術文献】
【特許文献】
【0004】
特開2011-70074号公報
【発明の概要】
【発明が解決しようとする課題】
【0005】
上記の特許文献1のHUD装置は、機械的な制御によって虚像と実像が切り替えられるため、その切替にかなりの時間を要する。
【0006】
本発明者等は、画像の切替を電気的に実施することを検討した。電気的な切替によれば、機械的な切替に比べて、切替時間を短縮することができる。但し、上記の検討の結果、以下の事項が明らかとなった。
(1)例えば、第1のバックライトを備える虚像表示用の第1の表示部と、第2のバックライトを備える実像表示用の第2の表示部と、を設けておき、第1、第2の何れの表示部を使用するかを電気的に選択する、電気的切替制御を実施する場合を想定する。
(2)この場合、使用しない表示部を動作状態にしておくと消費電流が増大するため、低消費電力化の要請から、使用する表示部のみを動作モードにし、一方、使用しない表示部、言い換えれば、非表示の表示部は、最も消費電流の低い非動作モードに設定し待機させることが想定され得る。
しかし、この構成では、表示部の切替に際して、切替後の表示部を非動作モードから動作モードへと移行させる必要があり、この点で、使用する表示部の切替にかなりの遅延が生じる。
(3)また、使用する表示部の切替に際しては、使用中の表示部を非表示状態に移行させ、一方、今まで使用していない表示部を表示状態に移行させる必要がある。
【0007】
ここで、例えば、非表示状態への移行途中に遅延が生じて、その移行中の表示部のバックライトのオフに遅延が生じた場合、その移行中の表示部のバックライトのオン期間と、表示状態に移行中の表示部におけるバックライトのオン期間とが重複することも想定され得る。
この場合は、実像と虚像の双方が視認者に視認されることになり、適正な画像の表示を実現することができない。
(4)上記(3)のような不具合を抑制するためには、使用中の表示部を非表示状態に移行させる処理と、今まで使用していない表示部を表示状態に移行させる処理との間に、十分な時間的な余裕を設けるのが好ましい。
しかし、この場合は、使用する表示部の迅速な切替ができない。言い換えれば、電気的な切替制御は、従来よりも十分に早く切替を完了させる潜在能力をもつが、その潜在能力を十分には生かしきれない。
【0008】
本発明の目的の一つは、2つの表示部を電気的に切替制御することで虚像と実像を表示する場合における、切替に要する時間を短縮することである。
【0009】
本発明の他の目的は、以下に例示する態様及び最良の実施形態、並びに添付の図面を参照することによって、当業者に明らかになるであろう。
【課題を解決するための手段】
【0010】
以下に、本発明の概要を容易に理解するために、本発明に従う態様を例示する。
(【0011】以降は省略されています)
この特許をJ-PlatPat(特許庁公式サイト)で参照する
関連特許
日本精機株式会社
表示装置
2か月前
日本精機株式会社
表示装置
25日前
日本精機株式会社
照明装置
25日前
日本精機株式会社
検出装置
24日前
日本精機株式会社
発光表示装置
2日前
日本精機株式会社
車載表示装置
1か月前
日本精機株式会社
車載表示装置
1か月前
日本精機株式会社
車載表示装置
1か月前
日本精機株式会社
運転支援装置
23日前
日本精機株式会社
位置検出装置
1か月前
日本精機株式会社
画像投映装置
1か月前
日本精機株式会社
位置検出装置
1か月前
日本精機株式会社
位置検出装置
1か月前
日本精機株式会社
車両用表示装置
1か月前
日本精機株式会社
サージ保護回路
1か月前
日本精機株式会社
車両用投射装置
1か月前
日本精機株式会社
車両用報知装置
1か月前
日本精機株式会社
車両用投射装置
1か月前
日本精機株式会社
車両用投影装置
2か月前
日本精機株式会社
車両用表示装置
1か月前
日本精機株式会社
ミラーユニット
1か月前
日本精機株式会社
車両用センサ装置
2か月前
日本精機株式会社
スペックル低減装置
1か月前
日本精機株式会社
車両用投射型表示装置
1か月前
日本精機株式会社
鞍乗型車両用表示装置
22日前
日本精機株式会社
照明装置及び表示装置
1日前
日本精機株式会社
ヘッドアップディスプレイ
22日前
日本精機株式会社
表示装置及びその製造方法
25日前
日本精機株式会社
ヘッドアップディスプレイ
25日前
日本精機株式会社
スクリーン反射型表示装置
23日前
日本精機株式会社
ヘッドアップディスプレイ装置
1か月前
日本精機株式会社
ヘッドアップディスプレイ装置
23日前
日本精機株式会社
ヘッドアップディスプレイ装置
22日前
日本精機株式会社
表示制御装置、表示装置、及び表示制御方法
22日前
日本精機株式会社
ヘッドアップディスプレイ装置及び表示制御装置
22日前
日本精機株式会社
嚥下異常検出システム、嚥下異常検出装置および嚥下異常検出用プログラム
22日前
続きを見る
他の特許を見る