TOP
|
特許
|
意匠
|
商標
特許ウォッチ
Twitter
他の特許を見る
公開番号
2025166436
公報種別
公開特許公報(A)
公開日
2025-11-06
出願番号
2024070488
出願日
2024-04-24
発明の名称
運転支援装置
出願人
日本精機株式会社
代理人
個人
,
個人
,
個人
,
個人
,
個人
主分類
B60K
35/81 20240101AFI20251029BHJP(車両一般)
要約
【課題】視認性の高い運転支援装置を提供すること。
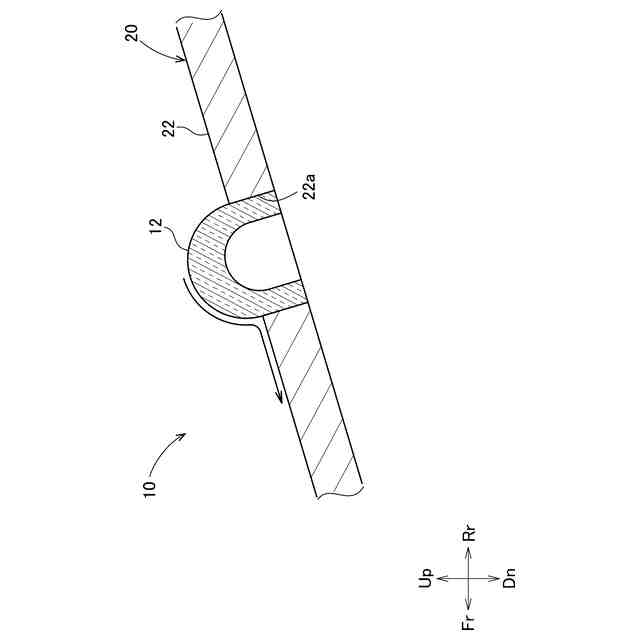
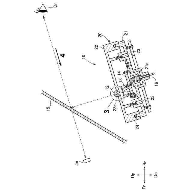
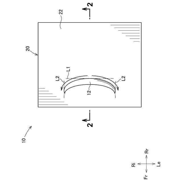
【解決手段】運転支援装置(10)は、光が通過可能な開口(22a)を有するハウジング(20)と、開口(22a)を塞いでいると共に光が透過可能な光透過部材(12)と、このハウジング(20)内に設けられ点灯することが可能な光源(13)と、この光源(13)を制御する制御手段(14)と、を有している。光透過部材(12)は、この光透過部材(12)の周縁に水滴や埃が付着することを抑制する付着抑制手段を備えている。一例として、ハウジング(20)の上面は、前後及び/又は左右に傾いており、付着抑制手段は、光透過部材(12)が、光源(13)から出射された光の通過する部位が最も高くなる湾曲形状とされることにより構成されている。
【選択図】図1
特許請求の範囲
【請求項1】
光が通過可能な開口を有するハウジングと、前記開口を塞いでいると共に光が透過可能な光透過部材と、このハウジング内に設けられ点灯することが可能な光源と、この光源を制御する制御手段と、を有し、
前記光透過部材は、この光透過部材の周縁に水滴や埃が付着することを抑制する付着抑制手段を備えている、運転支援装置。
続きを表示(約 320 文字)
【請求項2】
前記ハウジングの上面は、前後及び/又は左右に傾いており、
前記付着抑制手段は、前記光透過部材の端部に向かって水滴や埃が流れ落ちるよう、端部が低くされた湾曲形状とされることにより構成されている、請求項1に記載の運転支援装置。
【請求項3】
前記付着抑制手段は、前記光透過部材が上方に突出する湾曲形状を呈することにより構成されている、請求項1に記載の運転支援装置。
【請求項4】
前記光源から出射された光が投影されるスクリーン部をさらに有し、
前記光透過部材の湾曲形状は、前記スクリーン部に投影される像が所定の形状に見えるよう設定されている、請求項3に記載の運転支援装置。
発明の詳細な説明
【技術分野】
【0001】
本発明は、運転支援装置に関する。
続きを表示(約 1,000 文字)
【背景技術】
【0002】
車両の運転を行う運転者を支援することができる従来技術として、特許文献1に開示される技術がある。特許文献1には、運転支援装置が搭載された車両用計器装置が開示されている。
【0003】
車両用計器装置に搭載された運転支援装置は、運転者に警告を行う場合に、制御手段により光源を所定の色で点灯させる。点灯された光は、風防用のカウルに設けた拡散反射部に向け出射され、拡散反射部で運転者側に拡散反射させることで、運転者に警告情報の存在を視認させるものである。
【先行技術文献】
【特許文献】
【0004】
特許第6273772号公報
【発明の概要】
【発明が解決しようとする課題】
【0005】
特許文献1に開示された運転支援装置によれば、光源等に水滴や埃が付着する虞がある。水滴や埃が付着すると、これらの影の影響等により運転者へ伝達される情報の視認性が低下する。
【0006】
本発明は、視認性の高い運転支援装置の提供を課題とする。
【課題を解決するための手段】
【0007】
第1の態様における運転支援装置では、光が通過可能な開口を有するハウジングと、前記開口を塞いでいると共に光が透過可能な光透過部材と、このハウジング内に設けられ点灯することが可能な光源と、この光源を制御する制御手段と、を有し、
前記光透過部材は、この光透過部材の周縁に水滴や埃が付着することを抑制する付着抑制手段を備えている。
【0008】
第1の態様に従属し得る第2の態様における運転支援装置では、前記ハウジングの上面は、前後及び/又は左右に傾いており、
前記付着抑制手段は、前記光透過部材の端部に向かって水滴や埃が流れ落ちるよう、端部が低くされた湾曲形状とされることにより構成されている。
【0009】
第1又は第2の態様に従属し得る第3の態様における運転支援装置では、前記付着抑制手段は、前記光透過部材が上方に突出する湾曲形状を呈することにより構成されている。
【0010】
第3の態様に従属し得る第4の態様における運転支援装置では、前記光源から出射された光が投影されるスクリーン部をさらに有し、
前記光透過部材の湾曲形状は、前記スクリーン部に投影される像が所定の形状に見えるよう設定されている。
【発明の効果】
(【0011】以降は省略されています)
この特許をJ-PlatPat(特許庁公式サイト)で参照する
関連特許
日本精機株式会社
照明装置
25日前
日本精機株式会社
回路基板
2か月前
日本精機株式会社
表示装置
2か月前
日本精機株式会社
表示装置
25日前
日本精機株式会社
検出装置
24日前
日本精機株式会社
運転支援装置
23日前
日本精機株式会社
車載表示装置
1か月前
日本精機株式会社
車載表示装置
2か月前
日本精機株式会社
車載表示装置
1か月前
日本精機株式会社
位置検出装置
1か月前
日本精機株式会社
位置検出装置
1か月前
日本精機株式会社
車載表示装置
1か月前
日本精機株式会社
位置検出装置
1か月前
日本精機株式会社
画像投映装置
1か月前
日本精機株式会社
発光表示装置
2日前
日本精機株式会社
車両用報知装置
1か月前
日本精機株式会社
車両用表示装置
1か月前
日本精機株式会社
ミラーユニット
1か月前
日本精機株式会社
車両用表示装置
1か月前
日本精機株式会社
車両用投射装置
1か月前
日本精機株式会社
サージ保護回路
1か月前
日本精機株式会社
車両用投射装置
1か月前
日本精機株式会社
車両用投影装置
2か月前
日本精機株式会社
車両用センサ装置
2か月前
日本精機株式会社
投射型表示システム
2か月前
日本精機株式会社
スペックル低減装置
1か月前
日本精機株式会社
投射型表示システム
2か月前
日本精機株式会社
照明装置及び表示装置
1日前
日本精機株式会社
車両用投射型表示装置
1か月前
日本精機株式会社
鞍乗型車両用表示装置
22日前
日本精機株式会社
ヘッドアップディスプレイ
25日前
日本精機株式会社
表示装置及びその製造方法
25日前
日本精機株式会社
スクリーン反射型表示装置
23日前
日本精機株式会社
報知装置及び報知システム
2か月前
日本精機株式会社
ヘッドアップディスプレイ
22日前
日本精機株式会社
ヘッドアップディスプレイ装置
1か月前
続きを見る
他の特許を見る