TOP
|
特許
|
意匠
|
商標
特許ウォッチ
Twitter
他の特許を見る
10個以上の画像は省略されています。
公開番号
2025142467
公報種別
公開特許公報(A)
公開日
2025-10-01
出願番号
2024041830
出願日
2024-03-18
発明の名称
車両用投射型表示装置
出願人
日本精機株式会社
代理人
主分類
B60K
35/22 20240101AFI20250924BHJP(車両一般)
要約
【課題】簡易な構成、かつ高い精度で、出射面に物体が位置することを検出することができる車両用投射型表示装置を提供する。
【解決手段】表示装置1は、前後方向F,Rに高さが変化し、表示光を出射する出射面52aを有するカバーパネル52と、赤外線光R1,R2を発する赤外光源20,30と、赤外光源20から到達する赤外線光R1、及び赤外光源30からの赤外線光R2が出射面52a上の物体に反射した反射赤外線光を検出可能な赤外線センサ10と、を備える。赤外光源30は、赤外線センサ10と前後方向F,Rに並ぶように出射面52aの車幅方向Wの側方に配置され、前後方向F,Rに出射面52aのうち高さが第1高さの位置に対応して設けられる。赤外光源20と赤外線センサ10は、車幅方向Wに出射面52aを介して対向するように位置するとともに、出射面52aのうち高さが第1高さよりも低い第2高さの位置に対応して設けられる。
【選択図】図2
特許請求の範囲
【請求項1】
射出口から被投射部材へ表示光を投射することで画像を表示する車両用投射型表示装置であって、
車両の前後方向に対して高さが変化し、かつ前記表示光を前記被投射部材に向けて出射する出射面を有し、前記射出口を塞ぐ板状に形成され、前記表示光が透過する透光性を持つカバーパネルと、
それぞれ前記出射面上に沿って赤外線光を発する第1及び第2赤外光源と、
前記第1赤外光源から直接的に到達する赤外線光、及び前記第2赤外光源からの赤外線光が前記出射面上の物体に反射した反射赤外線光を検出可能に構成される赤外線センサと、を備え、
前記第2赤外光源は、前記赤外線センサと前記前後方向に並ぶように前記出射面の前記前後方向に直交する幅方向の側方に配置され、前記前後方向において前記出射面のうち高さが第1高さの位置に対応して設けられ、
前記第1赤外光源と前記赤外線センサは、前記幅方向において前記出射面を介して対向するように位置するとともに、前記前後方向において前記出射面のうち高さが前記第1高さよりも低い第2高さの位置に対応して設けられる、
車両用投射型表示装置。
続きを表示(約 83 文字)
【請求項2】
前記第1赤外光源は、前記第2赤外光源からの赤外線光よりも指向性の高い赤外線光を発する、
請求項1に記載の車両用投射型表示装置。
発明の詳細な説明
【技術分野】
【0001】
本開示は、車両用投射型表示装置に関する。
続きを表示(約 1,900 文字)
【背景技術】
【0002】
上記特許文献1に記載のヘッドアップディスプレイ装置は、光を発する光源と、この光により表示光を生成する表示部と、を備え、この表示光をフロントガラスで反射させ、視認者に虚像を表示する。
【先行技術文献】
【特許文献】
【0003】
特開2023-73536号公報
【発明の概要】
【発明が解決しようとする課題】
【0004】
上記特許文献1に記載の構成においては、ヘッドアップディスプレイ装置における表示光を出射する出射面上に物体が落下した場合には、この物体により表示光が遮られて、虚像の表示品位が低下する。このため、出射面に物体が位置することを、簡易な構成で、かつ高い精度で検出することが求められていた。
【0005】
本開示は、上記実状を鑑みてなされたものであり、簡易な構成、かつ高い精度で、出射面に物体が位置することを検出することができる車両用投射型表示装置を提供することを目的とする。
【課題を解決するための手段】
【0006】
上記目的を達成するため、本開示に係る車両用投射型表示装置は、
射出口から被投射部材へ表示光を投射することで画像を表示する車両用投射型表示装置であって、
車両の前後方向に対して高さが変化し、かつ前記表示光を前記被投射部材に向けて出射する出射面を有し、前記射出口を塞ぐ板状に形成され、前記表示光が透過する透光性を持つカバーパネルと、
それぞれ前記出射面上に沿って赤外線光を発する第1及び第2赤外光源と、
前記第1赤外光源から直接的に到達する赤外線光、及び前記第2赤外光源からの赤外線光が前記出射面上の物体に反射した反射赤外線光を検出可能に構成される赤外線センサと、を備え、
前記第2赤外光源は、前記赤外線センサと前記前後方向に並ぶように前記出射面の前記前後方向に直交する幅方向の側方に配置され、前記前後方向において前記出射面のうち高さが第1高さの位置に対応して設けられ、
前記第1赤外光源と前記赤外線センサは、前記幅方向において前記出射面を介して対向するように位置するとともに、前記前後方向において前記出射面のうち高さが前記第1高さよりも低い第2高さの位置に対応して設けられる。
【発明の効果】
【0007】
本開示によれば、簡易な構成、かつ高い精度で、出射面に物体が位置することを検出することができる。
【図面の簡単な説明】
【0008】
本開示の一実施形態に係る表示装置が搭載された車両の模式図である。
本開示の一実施形態に係る表示装置の概略平面図である。
本開示の一実施形態に係る表示装置の概略平面図である。
本開示の一実施形態に係る表示装置を正面視した概略断面図である。
本開示の一実施形態に係る表示装置を側面視した概略断面図である。
本開示の一実施形態に係る表示装置の概略平面図である。
本開示の一実施形態に係る表示装置を正面視した概略断面図である。
本開示の一実施形態に係る表示装置を側面視した概略断面図である。
本開示の一実施形態に係る判定処理手順を示すフローチャートである。
本開示の変形例に係るヘッドアップディスプレイ装置が搭載された車両の模式図である。
【発明を実施するための形態】
【0009】
本開示の一実施形態に係る車両用投射型表示装置について、図面を参照して説明する。
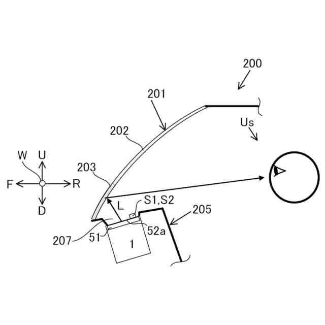
図1に示すように、車両用投射型の表示装置1は、車両200のダッシュボード205内に搭載されている。表示装置1は、表示光Lを被投射部材であるウインドシールド201に投射することにより車速等の車両情報を含む投影像を視認者Usにより視認可能に表示する。すなわち、表示装置1は、表示装置1の後述する表示パネル51からの表示光Lが直接にウインドシールド201に投射されるウインドシールドディスプレイ(WSD)である。
【0010】
ウインドシールド201は、透光部202と、遮光部203と、を有する。透光部202は、車室内の視認者Usから車室外の実風景を視認可能とする部位である。遮光部203は、透光部202の下端部に位置し、ウインドシールド201のうちダッシュボード205側の領域に形成されている。遮光部203は、黒色のセラミックプリントにより形成されている。表示装置1は、表示光Lを遮光部203に投射することにより、遮光部203を背景として投影像を表示する。
(【0011】以降は省略されています)
この特許をJ-PlatPat(特許庁公式サイト)で参照する
関連特許
日本精機株式会社
回路基板
1か月前
日本精機株式会社
表示装置
1か月前
日本精機株式会社
車載表示装置
今日
日本精機株式会社
画像投映装置
20日前
日本精機株式会社
車載表示装置
1か月前
日本精機株式会社
位置検出装置
26日前
日本精機株式会社
位置検出装置
26日前
日本精機株式会社
位置検出装置
26日前
日本精機株式会社
車載表示装置
5日前
日本精機株式会社
サージ保護回路
20日前
日本精機株式会社
車両用表示装置
20日前
日本精機株式会社
車両用投射装置
25日前
日本精機株式会社
車両用報知装置
4日前
日本精機株式会社
車両用投射装置
18日前
日本精機株式会社
車両用投影装置
1か月前
日本精機株式会社
車両用センサ装置
28日前
日本精機株式会社
スペックル低減装置
13日前
日本精機株式会社
投射型表示システム
1か月前
日本精機株式会社
投射型表示システム
1か月前
日本精機株式会社
車両用投射型表示装置
26日前
日本精機株式会社
報知装置及び報知システム
1か月前
日本精機株式会社
ヘッドアップディスプレイ装置
18日前
NSウエスト株式会社
ヘッドアップディスプレイ装置
1か月前
NSウエスト株式会社
ヘッドアップディスプレイ装置
1か月前
日本精機株式会社
ヘッドアップディスプレイ装置
13日前
日本精機株式会社
音圧制御装置、及びサウンダーの音圧制御システム、並びにサウンダーの音圧制御方法
6日前
日本精機株式会社
ヘッドアップディスプレイ装置、ヘッドアップディスプレイ装置の制御方法、および表示制御プログラム
6日前
日本精機株式会社
表示制御装置、ヘッドアップディスプレイ装置、表示装置の制御方法、プログラム、および車両用表示システム
6日前
個人
タイヤレバー
2か月前
個人
前輪キャスター
2か月前
個人
上部一体型自動車
24日前
個人
ホイルのボルト締結
3か月前
個人
タイヤ脱落防止構造
2か月前
個人
ルーフ付きトライク
2か月前
日本精機株式会社
表示装置
2か月前
日本精機株式会社
表示装置
2か月前
続きを見る
他の特許を見る