TOP
|
特許
|
意匠
|
商標
特許ウォッチ
Twitter
他の特許を見る
公開番号
2025164983
公報種別
公開特許公報(A)
公開日
2025-11-04
出願番号
2024068801
出願日
2024-04-22
発明の名称
ヘッドアップディスプレイ
出願人
日本精機株式会社
代理人
主分類
G02B
27/01 20060101AFI20251027BHJP(光学)
要約
【課題】光の利用効率を向上させるヘッドアップディスプレイを提供する。
【解決手段】本実施形態におけるヘッドアップディスプレイは、内側面及び外側面を有する反射部材に対して第一表示光を投影して反射させ外側面側で第一表示光に係る虚像を視認者に視認させ、反射部材に対して第二表示光を投影して反射させ内側面側で第二表示光に係る実像を視認者に視認させるヘッドアップディスプレイであって、第一表示光及び第二表示光を生成する表示部と、表示部に光を出射する光源と、光源と表示部との間に配置され、入射する光源の光を第一表示光用及び第二表示光用に配光角度を異ならせて出射する配光制御部42を有する光学部材25と、を備える。
【選択図】 図4
特許請求の範囲
【請求項1】
内側面及び外側面を有する反射部材に対して第一表示光を投影して反射させ前記外側面側で前記第一表示光に係る虚像を視認者に視認させ、前記反射部材に対して第二表示光を投影して反射させ前記内側面側で前記第二表示光に係る実像を前記視認者に視認させるヘッドアップディスプレイであって、
前記第一表示光及び前記第二表示光を生成する表示部と、
前記表示部に光を出射する光源と、
前記光源と前記表示部との間に配置され、入射する前記光源の光を前記第一表示光用及び前記第二表示光用に配光角度を異ならせて出射する配光制御部を有する光学部材と、を備える、ヘッドアップディスプレイ。
続きを表示(約 700 文字)
【請求項2】
前記光学部材は、入射する前記光源の光を前記第一表示光用及び前記第二表示光用に拡散角度を異ならせて出射する拡散制御部を更に有する、請求項1記載のヘッドアップディスプレイ。
【請求項3】
前記配光制御部は、前記第一表示光用の配光角度で前記光を出射する複数の第一プリズムと、前記第二表示光用の配光角度で前記光を出射する複数の第二プリズムと、を有し、前記第一プリズム及び前記第二プリズムが配列されたプリズムアレイである、請求項2記載のヘッドアップディスプレイ。
【請求項4】
前記拡散制御部は、前記第一表示光用の拡散角度で前記光を出射する複数の第一レンズと、前記第二表示光用の拡散角度で前記光を出射する複数の第二レンズと、を有し、前記第一レンズ及び前記第二レンズが配列されたレンチキュラレンズである、請求項3記載のヘッドアップディスプレイ。
【請求項5】
前記光学部材は、前記光源の光の入射面及び出射面の一方の面に前記配光制御部を有し、他方の面に前記拡散制御部を有する、請求項2記載のヘッドアップディスプレイ。
【請求項6】
前記光学部材は、前記光源の光の入射面に前記拡散制御部を有し、出射面に前記配光制御部を有し、
前記拡散制御部は、シリンドリカル凹レンズからなる前記第一レンズ及び前記第二レンズが交互に配列され、
前記配光制御部は、前記第一レンズで拡散された光の前方に前記第一プリズムが配置され、前記第二レンズで拡散された光の前方に前記第二プリズムが配列される、請求項4記載のヘッドアップディスプレイ。
発明の詳細な説明
【技術分野】
【0001】
本開示は、ヘッドアップディスプレイに関する。
続きを表示(約 1,300 文字)
【背景技術】
【0002】
従来、車両のウインドシールド等の反射部材で表示光を反射させ、像を車両内外で視認させるヘッドアップディスプレイが知られている。
【先行技術文献】
【特許文献】
【0003】
特開2017-056844号公報
【発明の概要】
【発明が解決しようとする課題】
【0004】
ヘッドアップディスプレイは、例えば共通の光源から出射された光を光学部材の配置を異ならせて焦点距離を切り替えることで、車両の内側と外側との間で像の表示位置を切り替えることができる。これにより、ヘッドアップディスプレイは、画像の内容に応じて視覚的な演出が可能である。しかしながら、共通の光源で複数の像を表示しようとすると、各像の間で光の利用効率が異なる場合がある。例えば虚像を表示する光の配光は広く得られる一方、実像を表示する光の配光は相対的に狭くなる虞がある。
【0005】
本開示はこのような事情を考慮してなされたもので、光の利用効率を向上させるヘッドアップディスプレイを提供することを目的とする。
【課題を解決するための手段】
【0006】
本開示のヘッドアップディスプレイは、上述した課題を解決するために、内側面及び外側面を有する反射部材に対して第一表示光を投影して反射させ外側面側で第一表示光に係る虚像を視認者に視認させ、反射部材に対して第二表示光を投影して反射させ内側面側で第二表示光に係る実像を視認者に視認させるヘッドアップディスプレイであって、第一表示光及び第二表示光を生成する表示部と、表示部に光を出射する光源と、光源と表示部との間に配置され、入射する光源の光を第一表示光用及び第二表示光用に配光角度を異ならせて出射する配光制御部を有する光学部材と、を備える。
【発明の効果】
【0007】
本開示のヘッドアップディスプレイにおいては、異なる表示位置間の切替に際し像を好適に視認させることができる。
【図面の簡単な説明】
【0008】
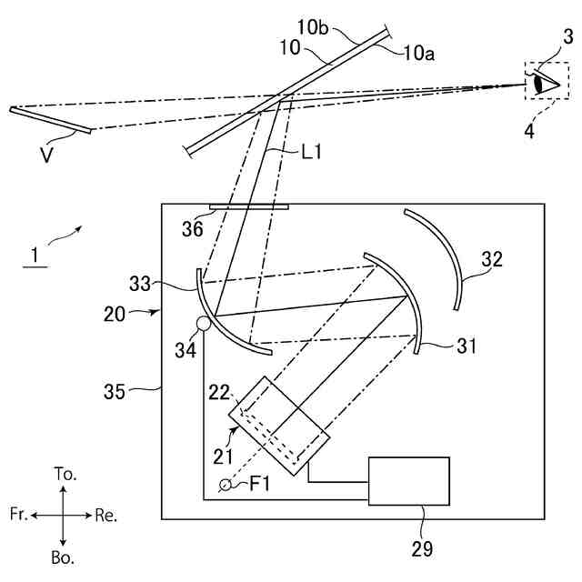
本開示のHUDの一実施形態のシステム構成例を示す図。
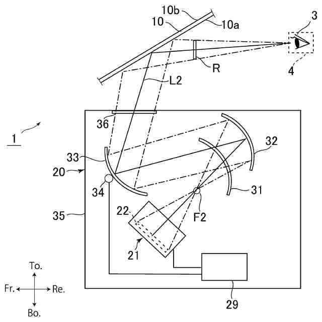
本開示のHUDの一実施形態のシステム構成例を示す図。
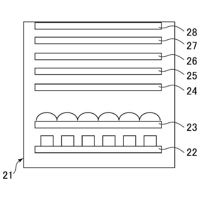
画像生成ユニットの構成を概念的に示す説明図。
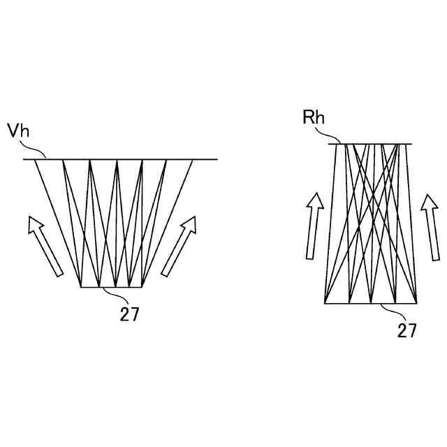
V方向レンチキュラレンズの断面図。
虚像及び実像のV方向における光の利用効率を説明するための概念図。
虚像及び実像のH方向における光の利用効率を説明するための概念図。
変形例としてのV方向レンチキュラレンズの断面図。
【発明を実施するための形態】
【0009】
本開示のヘッドアップディスプレイ(以下、「HUD(Head-Up Display)」という。)の実施形態を添付図面に基づいて説明する。本開示のHUDは、例えば自動車、農業機械、建設機械等の車両等に搭載されるHUDに適用することができる。
【0010】
図1は、本開示のHUDの一実施形態のシステム構成例を示す図であり、虚像Vを表示する際の説明図である。
(【0011】以降は省略されています)
この特許をJ-PlatPat(特許庁公式サイト)で参照する
関連特許
日本精機株式会社
検出装置
22日前
日本精機株式会社
表示装置
2か月前
日本精機株式会社
表示装置
23日前
日本精機株式会社
照明装置
23日前
日本精機株式会社
発光表示装置
今日
日本精機株式会社
位置検出装置
1か月前
日本精機株式会社
位置検出装置
1か月前
日本精機株式会社
位置検出装置
1か月前
日本精機株式会社
画像投映装置
1か月前
日本精機株式会社
車載表示装置
1か月前
日本精機株式会社
車載表示装置
1か月前
日本精機株式会社
車載表示装置
29日前
日本精機株式会社
車載表示装置
2か月前
日本精機株式会社
運転支援装置
21日前
日本精機株式会社
車両用報知装置
1か月前
日本精機株式会社
車両用投射装置
1か月前
日本精機株式会社
車両用投影装置
2か月前
日本精機株式会社
車両用投射装置
1か月前
日本精機株式会社
車両用表示装置
1か月前
日本精機株式会社
ミラーユニット
29日前
日本精機株式会社
車両用表示装置
29日前
日本精機株式会社
サージ保護回路
1か月前
日本精機株式会社
車両用センサ装置
1か月前
日本精機株式会社
スペックル低減装置
1か月前
日本精機株式会社
車両用投射型表示装置
1か月前
日本精機株式会社
鞍乗型車両用表示装置
20日前
日本精機株式会社
ヘッドアップディスプレイ
23日前
日本精機株式会社
報知装置及び報知システム
2か月前
日本精機株式会社
スクリーン反射型表示装置
21日前
日本精機株式会社
表示装置及びその製造方法
23日前
日本精機株式会社
ヘッドアップディスプレイ
20日前
日本精機株式会社
ヘッドアップディスプレイ装置
20日前
日本精機株式会社
ヘッドアップディスプレイ装置
21日前
日本精機株式会社
ヘッドアップディスプレイ装置
1か月前
日本精機株式会社
表示制御装置、表示装置、及び表示制御方法
20日前
日本精機株式会社
ヘッドアップディスプレイ装置及び表示制御装置
20日前
続きを見る
他の特許を見る