TOP
|
特許
|
意匠
|
商標
特許ウォッチ
Twitter
他の特許を見る
公開番号
2025165178
公報種別
公開特許公報(A)
公開日
2025-11-04
出願番号
2024069130
出願日
2024-04-22
発明の名称
照明装置
出願人
日本精機株式会社
代理人
主分類
B60Q
3/30 20170101AFI20251027BHJP(車両一般)
要約
【課題】鮮明な光の照射が可能な照明装置を提供する。
【解決手段】本実施形態における照明装置10は、第一方向に沿う長さと第一方向に直交する第二方向に沿う幅と、を有する長尺状の光を照明するため、第一方向及び第二方向とは異なる第三方向に出射する照明装置10であって、基板21と、基板21上に配置され第一方向に沿って配置され第二方向に沿って光を出射する複数の光源22と、を有する光源基板20と、複数の光源22から出射された光を第三方向に反射する反射鏡40と、複数の光源22及び反射鏡40を収容し、反射鏡40で反射する光を出射させる開口51を有する筐体50と、開口51を覆い、開口51から出射される光の対称軸に対して所定角度傾斜して配置され、光の一部L3を透過し、光の他部L4を反射するカバー部材60と、を備える。
【選択図】 図3
特許請求の範囲
【請求項1】
第一方向に沿う長さと前記第一方向に直交する第二方向に沿う幅と、を有する長尺状の光を照明するため、前記第一方向及び前記第二方向とは異なる第三方向に出射する照明装置であって、
基板と、前記基板上に配置され前記第一方向に沿って配置され前記第二方向に沿って光を出射する複数の光源と、を有する光源基板と、
前記複数の光源から出射された前記光を前記第三方向に反射する反射鏡と、
前記複数の光源及び前記反射鏡を収容し、前記反射鏡で反射する前記光を出射させる開口を有する筐体と、
前記開口を覆い、前記開口から出射される前記光の対称軸に対して所定角度傾斜して配置され、前記光の一部を透過し、前記光の他部を反射するカバー部材と、を備える照明装置。
続きを表示(約 500 文字)
【請求項2】
前記光源基板は、前記基板に入射する光の反射率が前記基板上の他の領域よりも低い領域である低反射部を更に有し、
前記所定角度は、前記カバー部材で反射し更に前記反射鏡で反射した前記光の他部を前記低反射部に入射させる角度である、請求項1記載の照明装置。
【請求項3】
前記複数の光源の前記光を入射させ、前記長尺状の光の長さ及び幅に応じた光を形成して、形成された前記光を前記反射鏡に出射する光学部材を更に備え、
前記反射鏡は、前記形成された前記光を前記第三方向に反射する平面鏡である、請求項1記載の照明装置。
【請求項4】
各前記複数の光源の前記光の一部を前記反射鏡に向けて通過させ他部を遮光する複数の開口を有する開口板を更に備え、
前記反射鏡は、前記開口板の各前記開口から出射された入射された光を、前記長尺状の光の長さ及び幅に応じた光に形成して前記第三方向に反射する曲面鏡である、請求項1記載の照明装置。
【請求項5】
車両の荷台の天井に配置され、前記荷台の床及び壁面に前記光を照明する、請求項1記載の照明装置。
発明の詳細な説明
【技術分野】
【0001】
本開示は、長尺状を有する投影像で照明する照明装置に関する。
続きを表示(約 1,500 文字)
【背景技術】
【0002】
従来、複数の光源が長手方向に沿って列状に設けられて、車両の天井や壁等の取付面に取り付けられる長尺状の室内照明装置が知られている。
【先行技術文献】
【特許文献】
【0003】
特開2015-149134号公報
【発明の概要】
【発明が解決しようとする課題】
【0004】
長尺状の照明装置は、例えば有意な形状の光を注意喚起等を意図して照明するために用いられる場合もある。そのような場合、鮮明な光で照明する必要があるが、例えば光路上に位置する照明装置自体の部材に光が意図せず反射してしまい、その反射光が迷光となって照射されてしなうことは避けなければならない。
【0005】
本開示はこのような事情を考慮してなされたもので、鮮明な光の照射が可能な照明装置を提供することを目的とする。
【課題を解決するための手段】
【0006】
本開示の照明装置は、上述した課題を解決するために、第一方向に沿う長さと第一方向に直交する第二方向に沿う幅と、を有する長尺状の光を照明するため、第一方向及び第二方向とは異なる第三方向に出射する照明装置であって、基板と、基板21上に配置され第一方向に沿って配置され第二方向に沿って光を出射する複数の光源と、を有する光源基板と、複数の光源から出射された光を第三方向に反射する反射鏡と、複数の光源及び反射鏡を収容し、反射鏡で反射する光を出射させる開口を有する筐体と、開口を覆い、開口から出射される光の対称軸に対して所定角度傾斜して配置され、光の一部を透過し、光の他部を反射するカバー部材と、を備える。
【発明の効果】
【0007】
本開示の照明装置においては、鮮明な光を照射できる。
【図面の簡単な説明】
【0008】
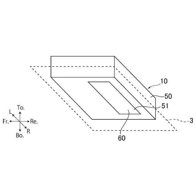
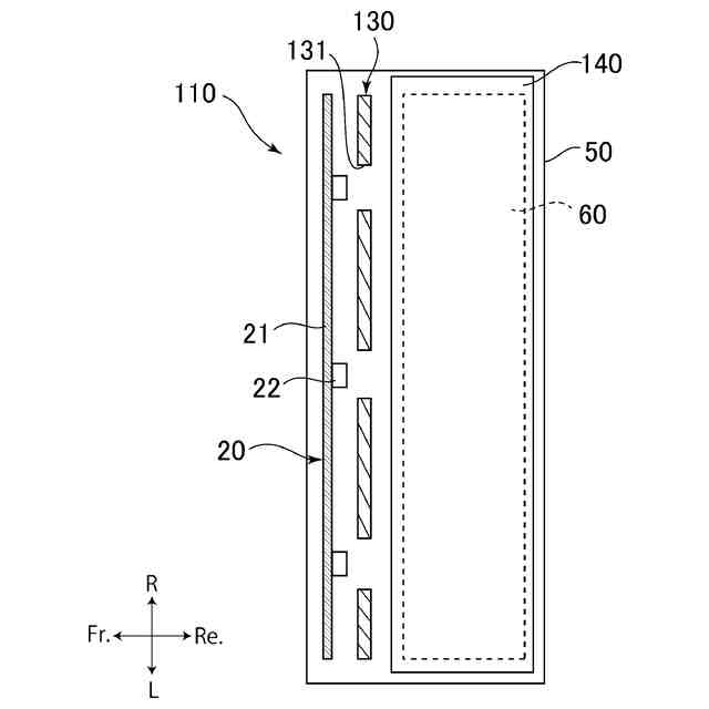
本実施形態における照明装置が天井に搭載されたトラックの荷台の後方視を示す説明図。
照明装置の配置例を示す説明図。
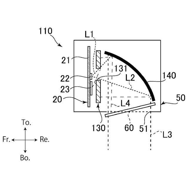
照明装置の鉛直面に沿う断面図。
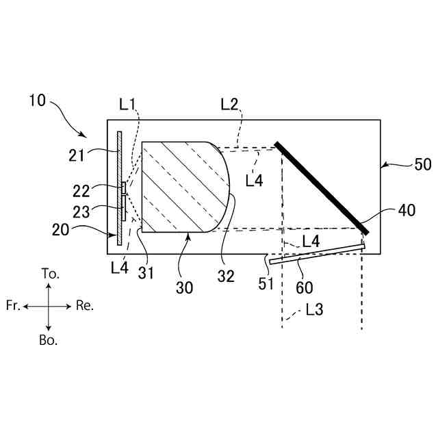
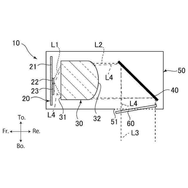
照明装置の水平面に沿う部分断面図。
照明装置の前後方向視及び左右方向視における照明範囲を説明する図。
照明装置の鉛直面に沿う断面図。
照明装置の水平面に沿う部分断面図。
【発明を実施するための形態】
【0009】
本開示の照明装置の実施形態を添付図面に基づいて説明する。本開示の照明装置は、天井や壁面に配置され、照明対象を長尺状(ライン状)を有する投影像で照明するものである。照明装置は、例えばトラック等の車両の荷台の天井や、建物の室内の天井等に配置されて使用され得る。本実施形態においては、本開示の照明装置がトラックの荷台の天井に取り付けられ、リアドアが開いた状態における作業者のトラックの荷台からの転落防止の注意喚起を目的として、床及び壁面に長尺状(ライン状)の投影像が照明される例を一例として用いて説明する。
【0010】
[第一実施形態]
図1は、本実施形態における照明装置10が天井3に搭載されたトラック1の荷台2の後方視を示す説明図である。
図2は、照明装置10の配置例を示す説明図である。
図3は、照明装置10の鉛直面に沿う断面図である。
図4は、照明装置10の水平面に沿う部分断面図である。
図5は、照明装置10の前後方向視及び左右方向視における照明範囲12、13を説明する図である。
(【0011】以降は省略されています)
この特許をJ-PlatPat(特許庁公式サイト)で参照する
関連特許
日本精機株式会社
表示装置
25日前
日本精機株式会社
照明装置
25日前
日本精機株式会社
検出装置
24日前
日本精機株式会社
車載表示装置
1か月前
日本精機株式会社
画像投映装置
1か月前
日本精機株式会社
車載表示装置
1か月前
日本精機株式会社
車載表示装置
1か月前
日本精機株式会社
発光表示装置
2日前
日本精機株式会社
運転支援装置
23日前
日本精機株式会社
ミラーユニット
1か月前
日本精機株式会社
車両用投射装置
1か月前
日本精機株式会社
車両用表示装置
1か月前
日本精機株式会社
車両用投射装置
1か月前
日本精機株式会社
サージ保護回路
1か月前
日本精機株式会社
車両用表示装置
1か月前
日本精機株式会社
車両用報知装置
1か月前
日本精機株式会社
スペックル低減装置
1か月前
日本精機株式会社
照明装置及び表示装置
1日前
日本精機株式会社
鞍乗型車両用表示装置
22日前
日本精機株式会社
表示装置及びその製造方法
25日前
日本精機株式会社
ヘッドアップディスプレイ
22日前
日本精機株式会社
ヘッドアップディスプレイ
25日前
日本精機株式会社
スクリーン反射型表示装置
23日前
日本精機株式会社
ヘッドアップディスプレイ装置
23日前
日本精機株式会社
ヘッドアップディスプレイ装置
22日前
日本精機株式会社
ヘッドアップディスプレイ装置
1か月前
日本精機株式会社
表示制御装置、表示装置、及び表示制御方法
22日前
日本精機株式会社
ヘッドアップディスプレイ装置及び表示制御装置
22日前
日本精機株式会社
嚥下異常検出システム、嚥下異常検出装置および嚥下異常検出用プログラム
22日前
日本精機株式会社
ヘッドアップディスプレイ装置
1か月前
日本精機株式会社
音圧制御装置、及びサウンダーの音圧制御システム、並びにサウンダーの音圧制御方法
1か月前
日本精機株式会社
ヘッドアップディスプレイ装置、ヘッドアップディスプレイ装置の制御方法、および表示制御プログラム
1か月前
日本精機株式会社
表示制御装置、ヘッドアップディスプレイ装置、表示装置の制御方法、プログラム、および車両用表示システム
1か月前
日本精機株式会社
表示制御装置、ヘッドアップディスプレイ装置、表示制御方法、表示制御プログラム、及び車両用表示システム
2日前
日本精機株式会社
表示制御装置、ヘッドアップディスプレイ装置、表示制御方法、表示制御プログラム、および車両用表示システム
23日前
日本精機株式会社
車両用表示制御装置、ヘッドアップディスプレイ装置、表示制御方法、表示制御プログラム、および車両用表示システム
23日前
続きを見る
他の特許を見る