TOP
|
特許
|
意匠
|
商標
特許ウォッチ
Twitter
他の特許を見る
10個以上の画像は省略されています。
公開番号
2025150204
公報種別
公開特許公報(A)
公開日
2025-10-09
出願番号
2024050978
出願日
2024-03-27
発明の名称
ヘッドアップディスプレイ装置
出願人
日本精機株式会社
代理人
主分類
G02B
27/01 20060101AFI20251002BHJP(光学)
要約
【課題】虚像と実像とを切り替える場合に、切り替えのトリガー条件の発生に先んじて事前に実像と虚像とを切り替えるヘッドアップディスプレイ装置を提供する。
【解決手段】所定のトリガー条件の発生により、表示像の虚像VIを視認させる虚像表示状態又は表示像の実像RIを視認させる実像表示状態の切り替えを実行可能なヘッドアップディスプレイ装置1であって、光源11が出射した光を透過させると共に表示像を表示する表示部12と、表示部12に表示された表示像を表す光をウィンドウシールドWSに向けて反射させる反射部13と、制御部15とを有し、制御部15は、トリガー条件の発生の予兆を検知する予兆検知処理と、予兆検知処理で予兆が検知されたときに、トリガー条件の発生に先んじて、虚像表示状態と実像表示状態との切り替えを行う切替処理とを実行する。
【選択図】図1
特許請求の範囲
【請求項1】
搭乗者が着座する座席と透光部材とを備えた車両に設けられ、射出口から表示光を前記透光部材に向けて射出することで前記表示光が表す表示像を視認させる際、所定のトリガー条件の発生により、前記表示像の虚像を視認させる虚像表示状態又は前記表示像の実像を視認させる実像表示状態の切り替えを実行可能なヘッドアップディスプレイ装置であって、
表示素子を備え、光源が出射した光を透過させると共に前記表示像を表示する表示部と、
前記表示部に表示された前記表示像を表す光を前記透光部材に向けて反射させる反射部と、
制御部と、
を有し、
前記制御部は、
前記トリガー条件の発生の予兆を検知する予兆検知処理と、
前記予兆検知処理で前記予兆が検知されたときに、前記トリガー条件の発生に先んじて、前記虚像表示状態から前記実像表示状態への切り替え、若しくは、前記実像表示状態から前記虚像表示状態への切り替え、を行う切替処理と、
を実行することを特徴とするヘッドアップディスプレイ装置。
続きを表示(約 1,600 文字)
【請求項2】
前記制御部は、前記切替処理において、
前記トリガー条件としての手動運転モードから自動運転モードへの移行の予兆の検知に基づき、前記虚像表示状態から前記実像表示状態への切り替えを行い、
前記トリガー条件としての自動運転モードから手動運転モードへの移行の予兆の検知に基づき、前記実像表示状態から前記虚像表示状態への切り替えを行う
ことを特徴とする請求項1記載のヘッドアップディスプレイ装置。
【請求項3】
前記制御部は、前記切替処理において、
手動運転モード及び自動運転モードに対応して変化する、前記トリガー条件としての前記座席の状態変化の予兆の検知に基づき、前記虚像表示状態から前記実像表示状態への切り替え、若しくは、前記実像表示状態から前記虚像表示状態への切り替えを行う
ことを特徴とする請求項1記載のヘッドアップディスプレイ装置。
【請求項4】
前記制御部は、更に、
前記車両の走行に関わる信号機の動作挙動を識別する信号識別処理を実行し、
前記切替処理において、
前記信号識別処理の識別結果に基づく、前記トリガー条件としての前記信号機の赤信号への移行の予兆の検知に応じて、前記虚像表示状態から前記実像表示状態への切り替えを行い、
前記信号識別処理の前記識別結果に基づく、前記トリガー条件としての前記信号機の青信号への移行の予兆の検知に応じて、前記実像表示状態から前記虚像表示状態への切り替えを行う
ことを特徴とする請求項1記載のヘッドアップディスプレイ装置。
【請求項5】
前記制御部は、更に、
前記車両が走行する道路種別を識別する道路識別処理を実行し、
前記切替処理において、
前記トリガー条件としての高速道路への進入の予兆の検知に基づき、前記虚像表示状態から前記実像表示状態への切り替えを行い、
前記トリガー条件としての前記高速道路からの退出の予兆の検知に基づき、前記実像表示状態から前記虚像表示状態への切り替えを行う
ことを特徴とする請求項1記載のヘッドアップディスプレイ装置。
【請求項6】
前記制御部は、前記切替処理において、
前記実像表示状態から前記虚像表示状態への切り替え時には、前記虚像の表示を開始して第1所定時間が経過した後、前記実像の表示を停止し、
前記虚像表示状態から前記実像表示状態への切り替え時には、前記実像の表示を開始して第2所定時間が経過した後、前記虚像の表示を停止する
ことを特徴とする請求項1記載のヘッドアップディスプレイ装置。
【請求項7】
前記表示部及び前記反射部は、
前記搭乗者からの視野内における前記虚像の視認位置及び前記実像の視認位置が互いに重ならないように配置されている
ことを特徴とする請求項6記載のヘッドアップディスプレイ装置。
【請求項8】
前記制御部は、前記切替処理において、
前記実像表示状態から前記虚像表示状態への切り替え時には、前記実像の表示を停止して第3所定時間が経過した後、前記虚像の表示を開始し、
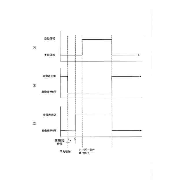
前記虚像表示状態から前記実像表示状態への切り替え時には、前記虚像の表示を停止して第4所定時間が経過した後、前記実像の表示を開始する
ことを特徴とする請求項1記載のヘッドアップディスプレイ装置。
【請求項9】
前記表示部及び前記反射部は、
前記搭乗者からの視野内における前記虚像の視認位置及び前記実像の視認位置が互いに重なるように配置されている
ことを特徴とする請求項8記載のヘッドアップディスプレイ装置。
発明の詳細な説明
【技術分野】
【0001】
本発明は、視認者に対して所望のタイミングで表示を行うヘッドアップディスプレイ装置に関するものである。
続きを表示(約 3,300 文字)
【背景技術】
【0002】
従来、例えば特許文献1に記載のヘッドアップディスプレイ装置が知られている。このヘッドアップディスプレイ装置では、表示器からの光によりスクリーンに表示された表示像を透光部材へと反射させる構成において、結像光学系の光学焦点とスクリーンとの間の前後位置関係を変更することで、虚像が透光部材の外に視認される状態と、実像が透光部材の内側に視認される状態と、の表示切替を行う。
【先行技術文献】
【特許文献】
【0003】
特開2011-70074号公報
【発明の概要】
【発明が解決しようとする課題】
【0004】
しかしながら、上記従来のヘッドアップディスプレイ装置では、実像と虚像とを切り替える場合に、切り替えのタイミングが視認者の視線移動に適合せずに煩わしさを感じてしまうという問題があった。すなわち、実像と虚像とを切り替える場合には通常トリガーとなる条件があるが、視認者はこれらの像の切り替えに先んじて準備行動として視線のみを移す傾向にある。つまり、視認者の準備行動としての視線移動と像の切り替えのタイミングが合致せず、視認者に違和感を生じてしまうという問題があった。
【0005】
そこで、本発明は、上記問題点に鑑みてなされたものであり、虚像と実像とを切り替える場合に、切り替えのトリガー条件の発生に先んじて事前に実像と虚像とを切り替えるヘッドアップディスプレイ装置を提供することを目的とする。
【課題を解決するための手段】
【0006】
本発明は、搭乗者DRが着座する座席と透光部材WSとを備えた車両Cに設けられ、射出口17から表示光Lを前記透光部材WSに向けて射出することで前記表示光Lが表す表示像を視認させる際、所定のトリガー条件の発生により、前記表示像の虚像VIを視認させる虚像VI表示状態又は前記表示像の実像RIを視認させる実像RI表示状態の切り替えを実行可能なヘッドアップディスプレイ装置1であって、表示素子を備え、光源11(11a,11b)が出射した光を透過させると共に前記表示像を表示する表示部(12a,12b)と、前記表示部(12a,12b)に表示された前記表示像を表す光を前記透光部材WSに向けて反射させる反射部13と、制御部15と、を有し、前記制御部15は、前記トリガー条件の発生の予兆を検知する予兆検知処理S1と、前記予兆検知処理S1で前記予兆が検知されたときに、前記トリガー条件の発生に先んじて、前記虚像VI表示状態から前記実像RI表示状態への切り替え、若しくは、前記実像RI表示状態から前記虚像VI表示状態への切り替え、を行う切替処理S3,S4と、を実行することを特徴とする。
【発明の効果】
【0007】
本発明によれば、トリガー条件の発生により実像と虚像との間を切り替えるのではなく、トリガー条件の発生に先んじて事前に実像と虚像との間を切り替えることにより、搭乗者の視線を移すなどの準備行動に適合した最適な制御を行うことができる。また、搭乗者に準備行動自体を促すこともできる。
【図面の簡単な説明】
【0008】
本発明の第1の実施形態に係るヘッドアップディスプレイ装置の構成を示す図。
本発明の第1の実施形態に係るヘッドアップディスプレイ装置における制御部の構成を示す機能ブロック図。
本発明の第1の実施形態に係るヘッドアップディスプレイ装置における切替処理部が実像と虚像との切り替えを同時に行う場合の、(A)時間経過に対して自動運転モードと手動運転モードとの切り替え状態、(B)時間経過に対して虚像を表示する第2PGUのON/OFF状態の切り替え状態、(C)時間経過に対して実像を表示する第1PGUのON/OFF状態の切り替え状態を示す図。
本発明の第1の実施形態に係るヘッドアップディスプレイ装置における切替処理部が実像と虚像との切り替えを所定時間掛けて行う場合の、(A)時間経過に対して自動運転モードと手動運転モードとの切り替え状態、(B)時間経過に対して虚像を表示する第2PGUのON/OFF状態の切り替え状態、(C)時間経過に対して実像を表示する第1PGUのON/OFF状態の切り替え状態を示す図。
本発明の第1の実施形態に係るヘッドアップディスプレイ装置における切替処理部が実像と虚像との切り替えを異なるタイミングで行う場合の、(A)時間経過に対して自動運転モードと手動運転モードとの切り替え状態、(B)時間経過に対して虚像を表示する第2PGUのON/OFF状態の切り替え状態、(C)時間経過に対して実像を表示する第1PGUのON/OFF状態の切り替え状態を示す図。
本発明の第1の実施形態に係るヘッドアップディスプレイ装置において、(A)運転者から見て虚像と実像とが重ならない位置関係、(B)運転者から見て虚像と実像とが重なる位置関係、を示す図。
本発明の第1の実施形態に係るヘッドアップディスプレイ装置において、トリガー条件を検知した場合の制御部の動作を示すフローチャート。
本発明の第1の実施形態に係るヘッドアップディスプレイ装置における切替処理部が実像と虚像との切り替えを所定時間掛けて行う場合の、(A)時間経過に対して自動運転モードと手動運転モードとの切り替え状態、(B)時間経過に対して虚像を表示する第2PGUのON/OFF状態の切り替え状態、(C)時間経過に対して実像を表示する第1PGUのON/OFF状態の切り替え状態、を示す第2の図。
本発明の第1の実施形態に係るヘッドアップディスプレイ装置における切替処理部が実像と虚像との切り替えを異なるタイミングで行う場合の、(A)時間経過に対して自動運転モードと手動運転モードとの切り替え状態、(B)時間経過に対して虚像を表示する第2PGUのON/OFF状態の切り替え状態、(C)時間経過に対して実像を表示する第1PGUのON/OFF状態の切り替え状態、を示す第2の図。
本発明の第2の実施形態に係るヘッドアップディスプレイ装置において虚像を生成する場合の構成を示す図。
本発明の第2の実施形態に係るヘッドアップディスプレイ装置において実像を生成する場合の構成を示す図。
【発明を実施するための形態】
【0009】
(本発明の第1の実施形態)
本実施形態に係るヘッドアップディスプレイ装置(以下、HUD装置という)について、図1ないし図9を用いて説明する。図1は、本実施形態に係るHUD装置の構成を示す図である。
【0010】
図1において、HUD装置1は、例えば可視波長域の光を出す第1光源11a、及び、当該第1光源11aが出射した光を透過させると共に、運転者DR(搭乗者)の前方に結像される表示像の実像RIを表示する第1表示部12aを有する第1PGU10aと、例えば可視波長域の光を出す第2光源11b、及び、当該第2光源11bが出射した光を透過させると共に、運転者DRの前方に結像される表示像の虚像VIを表示する第2表示部12bを有する第2PGU10bと、第1表示部12aに表示された表示像を表す第1表示光L11や第2表示部12bに表示された表示像を表す第2表示光L22をウィンドウシールドWS(透光部材)に向けて反射する反射部13と、第1表示部12a及び第2表示部12bにおける表示内容の制御、及び、第1PGU10a及び第2PGU10bの切り替え制御等を行う制御部15とを備え、これらが筐体16に収容される。筐体16には第1表示光L11及び第2表示光L22が射出される開口部17(射出口)が設けられ、当該開口部17には内部を保護するためのカバーガラス18が配置される。運転者DRは搭乗者の一例、ウィンドウシールドWSは投光部材の一例、開口部17は射出口の一例である。
(【0011】以降は省略されています)
この特許をJ-PlatPat(特許庁公式サイト)で参照する
関連特許
日本精機株式会社
照明装置
18日前
日本精機株式会社
検出装置
17日前
日本精機株式会社
表示装置
18日前
日本精機株式会社
車載表示装置
1か月前
日本精機株式会社
車載表示装置
26日前
日本精機株式会社
運転支援装置
16日前
日本精機株式会社
車載表示装置
24日前
日本精機株式会社
車両用報知装置
1か月前
日本精機株式会社
車両用表示装置
24日前
日本精機株式会社
ミラーユニット
24日前
日本精機株式会社
鞍乗型車両用表示装置
15日前
日本精機株式会社
ヘッドアップディスプレイ
15日前
日本精機株式会社
スクリーン反射型表示装置
16日前
日本精機株式会社
表示装置及びその製造方法
18日前
日本精機株式会社
ヘッドアップディスプレイ
18日前
日本精機株式会社
ヘッドアップディスプレイ装置
16日前
日本精機株式会社
ヘッドアップディスプレイ装置
15日前
日本精機株式会社
表示制御装置、表示装置、及び表示制御方法
15日前
日本精機株式会社
ヘッドアップディスプレイ装置及び表示制御装置
15日前
日本精機株式会社
嚥下異常検出システム、嚥下異常検出装置および嚥下異常検出用プログラム
15日前
日本精機株式会社
音圧制御装置、及びサウンダーの音圧制御システム、並びにサウンダーの音圧制御方法
1か月前
日本精機株式会社
ヘッドアップディスプレイ装置、ヘッドアップディスプレイ装置の制御方法、および表示制御プログラム
1か月前
日本精機株式会社
表示制御装置、ヘッドアップディスプレイ装置、表示装置の制御方法、プログラム、および車両用表示システム
1か月前
日本精機株式会社
表示制御装置、ヘッドアップディスプレイ装置、表示制御方法、表示制御プログラム、および車両用表示システム
16日前
日本精機株式会社
車両用表示制御装置、ヘッドアップディスプレイ装置、表示制御方法、表示制御プログラム、および車両用表示システム
16日前
個人
立体像表示装置
1か月前
カンタツ株式会社
光学系
1か月前
住友化学株式会社
偏光板
1か月前
株式会社シグマ
結像光学系
25日前
株式会社シグマ
結像光学系
15日前
住友化学株式会社
垂直偏光板
1か月前
東レ株式会社
貼合体の製造方法
1か月前
東レ株式会社
赤外線遮蔽構成体
1か月前
日本精機株式会社
ミラーユニット
24日前
古河電気工業株式会社
融着機
1か月前
日本電気株式会社
光モジュール
25日前
続きを見る
他の特許を見る