TOP
|
特許
|
意匠
|
商標
特許ウォッチ
Twitter
他の特許を見る
公開番号
2025159364
公報種別
公開特許公報(A)
公開日
2025-10-21
出願番号
2024061826
出願日
2024-04-08
発明の名称
音圧制御装置、及びサウンダーの音圧制御システム、並びにサウンダーの音圧制御方法
出願人
日本精機株式会社
代理人
個人
,
個人
,
個人
,
個人
,
個人
主分類
G10K
9/12 20060101AFI20251014BHJP(楽器;音響)
要約
【課題】SGポートを使用することなく、比較的安価で、かつパルス信号の周波数やデューティ比をきめ細かく設定することでサウンダーの綿密な音圧制御を可能にする。
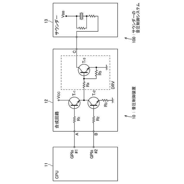
【解決手段】サウンダー13の音圧をパルス幅変調により制御する音圧制御装置10であって、第1の周波数及び第1のデューティ比からなる第1の音圧制御信号と、第1の周波数より高い第2の周波数と任意のデューティ比からなる第2の音圧制御信号とを生成し、第1の音圧制御信号及び第2の音圧制御信号のそれぞれに対応する入出力ポートを介して出力するマイクロプロセッサ(CPU11)と、第1の音圧制御信号と第2の音圧制御信号を合成して第3の音圧制御信号を生成し、サウンダーを駆動する第3の音圧制御信号を出力する合成回路12と、を有する。
【選択図】図1
特許請求の範囲
【請求項1】
サウンダーの音圧をパルス幅変調により制御する音圧制御装置であって、
第1の周波数及び第1のデューティ比からなる第1の音圧制御信号と、
前記第1の周波数より高い第2の周波数と任意のデューティ比からなる第2の音圧制御号
を生成し、前記第1の音圧制御信号及び前記第2の音圧制御信号のそれぞれに対応する入出力ポートを介して出力するマイクロプロセッサと、
前記第1の音圧制御信号と前記第2の音圧制御信号を合成して第3の音圧制御信号を生成し、前記サウンダーを駆動する前記第3の音圧制御信号を出力する合成回路と、を有する音圧制御装置。
続きを表示(約 1,000 文字)
【請求項2】
前記入出力ポートは、
汎用入出力ポートである、請求項1記載の音圧制御装置
【請求項3】
前記合成回路は、
論理積回路又は否定論理積回路で構成される、請求項1記載の音圧制御装置。
【請求項4】
前記合成回路は、
論理和回路又は否定論理和回路で構成される、請求項1記載の音圧制御装置。
【請求項5】
前記合成回路は、
前記第3の音圧制御信号により前記サウンダーを駆動する駆動回路を含む、請求項1記載の音圧制御装置。
【請求項6】
サウンダーと、前記サウンダーの音圧をパルス幅変調により制御する音圧制御装置とを有するサウンダーの音圧制御システムであって、
前記音圧制御装置は、
第1の周波数及び第1のデューティ比からなる第1の音圧制御信号と、前記第1の周波数より高い第2の周波数及び任意のデューティ比からなる第2の音圧制御信号とを生成し、前記第1の音圧制御信号及び前記第2の音圧制御信号のそれぞれに対応する入出力ポートを介して出力するマイクロプロセッサと、
前記第1の音圧制御信号と前記第2の音圧制御信号を合成して第3の音圧制御信号を生成し、前記サウンダーを駆動する前記第3の音圧制御信号を出力する合成回路と、を有し、
前記サウンダーは、
前記第3の音圧制御信号により駆動され吹鳴音を出力する、サウンダーの音圧制御システム。
【請求項7】
サウンダーの音圧をパルス幅変調により制御する、プロセッサと、合成回路とを有する音圧制御装置による前記サウンダーの音圧制御方法であって、
前記プロセッサが、
第1の周波数及び第1のデューティ比からなる第1の音圧制御信号と、前記第1の周波数より高い第2の周波数と任意のデューティ比からなる第2の音圧制御信号とを生成するステップと、
前記プロセッサが、
前記第1の音圧制御信号及び前記第2の音圧制御信号のそれぞれに対応する入出力ポートを介して出力するステップと、
前記合成回路が、
前記第1の音圧制御信号と前記第2の音圧制御信号を合成して第3の音圧制御信号を生成し、前記サウンダーを駆動する前記第3の音圧制御信号を出力するステップと、を有するサウンダーの音圧制御方法。
発明の詳細な説明
【技術分野】
【0001】
本発明は、サウンダーの音圧をパルス幅変調により制御する音圧制御装置等に関する。
続きを表示(約 1,700 文字)
【背景技術】
【0002】
他励式圧電振動板で構成される圧電ブザーの音圧制御装置は、通常、マイクロプロセッサのサウンドジェネレータポート(SG端子)を用い、PWM(Pulse Width Modulation:パルス幅変調)によりデューティ比を制御することで圧電ブザーを駆動し、圧電ブザーの音圧を可変制御する。なお、圧電ブザーにおいてPWM制御を用いて音圧を可変制御する技術は、例えば、特許文献1に記載されている。
【0003】
また、例えば、非特許文献1に、ルネサスエレクトロニクス社のマイコンRL78/D1Aのハードウエアマニュアルが公開されている。同文献によれば、頁1081の図18-1にサウンドジェネレータの内部構成がブロック図で示されており、SGポートを搭載したマイコンにおいて、周波数生成回路(Tone)と音圧制御回路(PWM)を内蔵し、それぞれに対応するSG端子(SGO,SGA)を使用して対応するTone信号とPWM信号とを出力し、圧電ブザー等サウンダーの音圧を制御する構成が記載されている。
【先行技術文献】
【特許文献】
【0004】
特許第4468982号公報(段落[0007]、図1参照)
RENESASマイコンRL78/D1Aユーザーズマニュアル:ハードウエアRev.1.10(2015/3/23)
【発明の概要】
【発明が解決しようとする課題】
【0005】
ところで、SGポートを搭載したマイコンは比較的高価であり、また、SGポートを使用したマイコンは、一定周期で一定のデューティの圧電制御信号しか得ることができない。したがって、音圧制御信号として使用する周波数やデューティ比を木目細かく設定でき、綿密に制御できるマイコンの出現が望まれていた。
【0006】
そこで本発明の目的は、SGポートを使用することなく比較的安価で、かつパルス信号の周波数やデューティ比をきめ細かく設定でき、サウンダーの綿密な音圧制御が可能な、音圧制御装置等を提供することにある。
【0007】
本発明の他の目的は、以下に例示する態様及び最良の実施形態、並びに添付の図面を参照することによって、当業者に明らかになるであろう。
【課題を解決するための手段】
【0008】
以下に、本発明の概要を容易に理解するために、本発明に従う態様を例示する。
【0009】
本発明に従う第1の態様は、サウンダーの音圧をパルス幅変調により制御する音圧制御装置であって、第1の周波数及び第1のデューティ比からなる第1の音圧制御信号と、前記第1の周波数より高い第2の周波数と任意のデューティ比からなる第2の音圧制御信号とを生成し、前記第1の音圧制御信号及び前記第2の音圧制御信号のそれぞれに対応する入出力ポートを介して出力するマイクロプロセッサと、前記第1の音圧制御信号と前記第2の音圧制御信号を合成して第3の音圧制御信号を生成し、前記サウンダーを駆動する前記第3の音圧制御信号を出力する合成回路と、を有する。
【0010】
第1の態様では、サウンダーの音圧をパルス幅変調により制御する音圧制御装置を、マイクロプロセッサが、第1の周波数及び第1のデューティ比からなる第1の音圧制御信号と、第1の周波数より高い第2の周波数と任意のデューティ比からなる第2の音圧制御信号とを生成して、第1の音圧制御信号及び第2の音圧制御信号のそれぞれに対応する入出力ポートを介して合成回路に出力し、合成回路が、第1の音圧制御信号と第2の音圧制御信号を合成して第3の音圧制御信号を生成してサウンダーを駆動する構成とした。このため、SGポートを使用することなく比較的安価で、かつパルス信号の周波数やデューティ比をパルス毎に設定することができ、サウンダーの綿密な音圧制御が可能な音圧制御装置を提供することができる。
(【0011】以降は省略されています)
この特許をJ-PlatPat(特許庁公式サイト)で参照する
関連特許
日本精機株式会社
検出装置
1か月前
日本精機株式会社
表示装置
1か月前
日本精機株式会社
照明装置
1か月前
日本精機株式会社
運転支援装置
1か月前
日本精機株式会社
車載表示装置
1か月前
日本精機株式会社
車載表示装置
1か月前
日本精機株式会社
車載表示装置
1か月前
日本精機株式会社
プロジェクタ
1日前
日本精機株式会社
発光表示装置
9日前
日本精機株式会社
車両用表示装置
2か月前
日本精機株式会社
サージ保護回路
2か月前
日本精機株式会社
車両用投射装置
1か月前
日本精機株式会社
車両用報知装置
1か月前
日本精機株式会社
車両用表示装置
1か月前
日本精機株式会社
ミラーユニット
1か月前
日本精機株式会社
車両用表示装置
1日前
日本精機株式会社
スペックル低減装置
1か月前
日本精機株式会社
鞍乗型車両用表示装置
2日前
日本精機株式会社
鞍乗型車両用表示装置
29日前
日本精機株式会社
照明装置及び表示装置
8日前
日本精機株式会社
車両表示装置用回路基板
1日前
日本精機株式会社
表示装置及びその製造方法
1か月前
日本精機株式会社
ヘッドアップディスプレイ
1か月前
日本精機株式会社
スクリーン反射型表示装置
1か月前
日本精機株式会社
ヘッドアップディスプレイ
29日前
日本精機株式会社
ヘッドアップディスプレイ装置
1か月前
日本精機株式会社
ヘッドアップディスプレイ装置
1か月前
日本精機株式会社
ヘッドアップディスプレイ装置
29日前
日本精機株式会社
表示制御装置、表示装置、及び表示制御方法
1日前
日本精機株式会社
表示制御装置、表示装置、及び表示制御方法
29日前
日本精機株式会社
ヘッドアップディスプレイ装置及び表示制御装置
29日前
日本精機株式会社
ヘッドアップディスプレイ装置、及び画像回転角度設定方法
1日前
日本精機株式会社
嚥下異常検出システム、嚥下異常検出装置および嚥下異常検出用プログラム
29日前
日本精機株式会社
ヘッドアップディスプレイ装置
1か月前
日本精機株式会社
音圧制御装置、及びサウンダーの音圧制御システム、並びにサウンダーの音圧制御方法
1か月前
日本精機株式会社
ヘッドアップディスプレイ装置、ヘッドアップディスプレイ装置の制御方法、および表示制御プログラム
1か月前
続きを見る
他の特許を見る