TOP
|
特許
|
意匠
|
商標
特許ウォッチ
Twitter
他の特許を見る
公開番号
2025159365
公報種別
公開特許公報(A)
公開日
2025-10-21
出願番号
2024061828
出願日
2024-04-08
発明の名称
表示制御装置、ヘッドアップディスプレイ装置、表示装置の制御方法、プログラム、および車両用表示システム
出願人
日本精機株式会社
代理人
個人
,
個人
,
個人
,
個人
,
個人
主分類
G01C
21/34 20060101AFI20251014BHJP(測定;試験)
要約
【課題】ルート案内表示の位置の認識を容易にし、その際のドライバに対して与える煩わしさを軽減する。
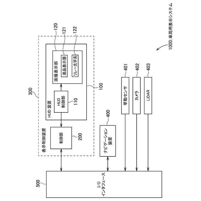
【解決手段】車両のルート案内表示を行う表示装置(例えば、HUD装置100)を制御する表示制御装置300であって、進路変更地点における車両の進行方向を示すルート案内表示を、車両の現在位置から進路変更地点までの距離帯である第1の距離帯で表示装置に表示する制御を行い、進路変更地点の手前にあって、ルート案内対象外の道路である非ルート案内地点への進入禁止を示す非ルート案内表示を、第1の距離帯より短い、非ルート案内地点までの距離帯である第2の距離帯で表示装置に表示する制御を行う制御部200、を有する。
【選択図】図2
特許請求の範囲
【請求項1】
車両のルート案内表示を行う表示装置を制御する表示制御装置であって、
進路変更地点における前記車両の進行方向を示すルート案内表示を、前記車両の現在位置から前記進路変更地点までの距離帯である第1の距離帯で前記表示装置に表示する制御を行い、前記進路変更地点の手前にあって、ルート案内対象外の道路である非ルート案内地点への進入禁止を示す非ルート案内表示を、前記第1の距離帯より短い、前記車両の現在位置から前記非ルート案内地点までの距離帯である第2の距離帯で前記表示装置に表示する制御を行う制御部、を有する表示制御装置。
続きを表示(約 2,000 文字)
【請求項2】
前記制御部は、
前記車両が前記2の距離帯を通り過ぎた後に前記非ルート案内表示を前記表示装置から消去する制御を行う、請求項1記載の表示制御装置。
【請求項3】
前記制御部は、
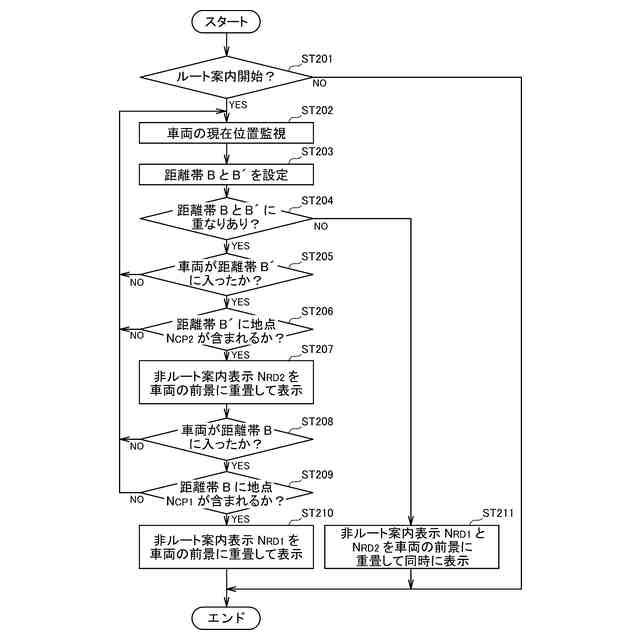
前記進路変更地点の手前の第1の地点に第1の非ルート案内表示があって、前記第1の地点より手前の第2の地点に第2の非ルート案内表示があった場合に、前記車両の現在位置から前記第1の地点までの前記第1の距離帯と、前記車両の現在位置から前記第2の地点までの前記第2の距離帯とを設定し、前記車両が、前記第2の距離帯に入った場合に前記第2の非ルート案内表示を前記表示装置に表示し、続いて前記車両が前記第2の距離帯を通り過ぎた場合に前記第2の非ルート案内表示を消去し、更に、前記車両が前記第1の距離帯に入った場合に前記第1の非ルート案内表示を前記表示装置に表示し、続いて前記車両が前記第1の距離帯を通り過ぎた場合に前記第1の非ルート案内表示を消去する制御を行う、請求項1記載の表示制御装置。
【請求項4】
前記制御部は、
前記第1の地点までの前記第1の距離帯と前記第2の地点までの前記第2の距離帯の少なくとも一部が重なる場合に、前記第1の非ルート案内表示と前記第2の非ルート案内表示とを前記表示装置に同時に表示する制御を行う、請求項3記載の表示制御装置。
【請求項5】
車両の前方に仮想的に設定された結像領域に画像を投影するヘッドアップディスプレイ装置であって、
外部から取得される前記車両のルート案内を行う前記画像を前記車両の前方視界にある前景に重畳して表示する画像表示部と、
進路変更地点における前記車両の進行方向を示すルート案内表示を、前記車両の現在位置から前記進路変更地点までの距離帯である第1の距離帯で前記画像表示部に表示する制御を行い、前記進路変更地点の手前にあって、ルート案内対象外の道路である非ルート案内地点への進入禁止を示す非ルート案内表示を、前記第1の距離帯より短い、前記車両の現在位置から前記非ルート案内地点までの距離帯である第2の距離帯で前記画像表示部に表示する制御を行う制御部と、を有するヘッドアップディスプレイ装置。
【請求項6】
車両のルート案内表示を行う表示装置の制御方法であって、
前記表示装置を制御する制御部が、
進路変更地点における前記車両の進行方向を示すルート案内表示を、前記車両の現在位置から前記進路変更地点までの距離帯である第1の距離帯で前記表示装置に表示する制御を行う第1のステップと、
前記進路変更地点の手前にあって、ルート案内対象外の道路である非ルート案内地点への進入禁止を示す非ルート案内表示を、前記第1の距離帯より短い、前記車両の現在位置から前記非ルート案内地点までの距離帯である第2の距離帯で前記画像表示部に表示する制御を行う第2のステップと、を有する表示装置の制御方法。
【請求項7】
車両のルート案内表示を行う画像表示部を有する表示装置を制御する表示制御装置のプログラムであって、
前記表示制御装置が有するプロセッサに、
進路変更地点における前記車両の進行方向を示すルート案内表示を、前記車両の現在位置から前記進路変更地点までの距離帯である第1の距離帯で前記表示装置に表示する制御を行う第1の処理と、
前記進路変更地点の手前にあって、ルート案内対象外の道路である非ルート案内地点への進入禁止を示す非ルート案内表示を、前記第1の距離帯より短い、前記車両の現在位置から前記非ルート案内地点までの距離帯である第2の距離帯で前記表示装置に表示する制御を行う第2の処理と、を実行させるプログラム。
【請求項8】
車両のルート案内を行うナビゲーション装置と、前記車両の前方に仮想的に設定された結像領域にルート案内画像を投影するヘッドアップディスプレイ装置と、前記ヘッドアップディスプレイ装置の表示制御を行う制御部を含む表示制御装置と、を少なくとも有する車両用表示システムであって、
前記表示制御装置は、
前記制御部が、前記ナビゲーション装置から取得される進路変更地点における前記車両の進行方向を示す前記ルート案内表示を、前記車両の現在位置から前記進路変更地点までの距離帯である第1の距離帯で前記ヘッドアップディスプレイ装置に表示する制御を行ない、前記進路変更地点の手前にあって、ルート案内対象外の道路である非ルート案内地点への進入禁止を示す非ルート案内表示を、前記第1の距離帯より短い、前記車両の現在位置から前記非ルート案内地点までの距離帯である第2の距離帯で前記ヘッドアップディスプレイ装置に表示する制御を行う、車両用表示システム。
発明の詳細な説明
【技術分野】
【0001】
本発明は、車両のルート案内を行う表示装置を制御する表示制御装置、等に関する。
続きを表示(約 1,900 文字)
【背景技術】
【0002】
車両のルート案内表示(画像)を、例えばヘッドアップディスプレイ装置に表示させ、交差点等で右左折すべき車両の進行方向を直観的に表示させることができるナビゲーション装置が知られている。また、近年、車両の前方視界にある前景に案内画像(虚像)を重畳し、あるいはPOI(Point Of Interest:興味地点情報)表示を行ない、視認者であるドライバに視認させる、AR(Augmented Reality:拡張現実)ナビゲーションも出現するに至った。
【0003】
例えば、特許文献1に、視認者であるドライバの運転に支障をきたすことなく、よりわかりやすいルート案内表示が可能な車両用表示装置が記載されてする。特許文献1に記載された技術によれば、車両用表示装置は、例えば交差点あるいは分岐路等、車両の進行方向の選択が必要な地点において、ルート案内対象外の道路への進入禁止を示す画像を虚像として表示することができる。
【先行技術文献】
【特許文献】
【0004】
特開2005-069800号公報(段落[0133]~[0135]、図1)
【発明の概要】
【発明が解決しようとする課題】
【0005】
上述した特許文献1に記載された技術によれば、ドライバは、交差点や分岐路等、車両の進行方向の選択が必要な地点において、進むべき方向を認識できるとともに、進むべきではない方向も併せて認識できるため、よりわかりやすいルート案内表示が可能になる。しかしながら、ルート案内対象外の道路への進入禁止を示す表示である、所謂、非ルート案内表示は、ルート案内表示と共に車両が進行方向の選択が必要な地点に到達するまでの比較的長い時間表示されるため、ドライバに煩わしさを感じさせることになりかねない。特に、車両が進行方向の選択が必要な地点に到達するまでの間に複数のルート案内対象外の道路があれば、それも表示することになってドライバにより煩わしさを感じさせることになる。
【0006】
このため、本発明は、車両の進行方向の選択が必要な地点におけるルート案内表示と共に非ルート案内表示も行う場合に、例えば、非ルート案内表示をルート案内表示よりも短い距離帯で表示することによりルート案内表示の位置の認識を容易にし、また、その際に視認者であるドライバに対して与える煩わしさを軽減することができる、表示制御装置等を提供することを目的とする。
【0007】
本発明の他の目的は、以下に例示する態様及び最良の実施形態、並びに添付の図面を参照することによって、当業者に明らかになるであろう。
【課題を解決するための手段】
【0008】
以下に、本発明の概要を容易に理解するために、本発明に従う態様を例示する。
【0009】
本発明に従う第1の態様は、車両のルート案内表示を行う表示装置を制御する表示制御装置であって、進路変更地点における前記車両の進行方向を示すルート案内表示を、前記車両の現在位置から前記進路変更地点までの距離帯である第1の距離帯で前記表示装置に表示する制御を行い、前記進路変更地点の手前にあって、ルート案内対象外の道路である非ルート案内地点への進入禁止を示す非ルート案内表示を、前記第1の距離帯より短い、前記車両の現在位置から前記非ルート案内地点までの距離帯である第2の距離帯で前記表示装置に表示する制御を行う制御部、を有する。
【0010】
ここで、「ルート案内表示」とは、例えば、図5に示すように、交差点や分岐路等の進路変更地点において車両の進行方向を示す、例えば、矢印マーカ画像(R
D
)のことをいい、「非ルート案内画像」とは、例えば、図5に示すように、ルート案内対象外の道路である地点N
CP
(図4(A(B)参照)への侵入を拒否する、例えば、侵入禁止マーカ画像(N
RD
)のことをいう。また、「第1の距離帯」とは、例えば、図4(A)に示すように、車両1の現在位置から進路変更地点までの距離帯(車両1の現在位置を起点に非ルート案内の表示地点N
cp
までの一定の距離)である距離帯Aのことをいい、「第2の距離帯」とは、例えば、図4(B)に示すように、車両1の現在位置からルート案内対象外の道路である非ルート案内を行う地点N
cp
までの距離帯である距離帯Bのことをいう。
(【0011】以降は省略されています)
この特許をJ-PlatPat(特許庁公式サイト)で参照する
関連特許
日本精機株式会社
表示装置
1か月前
日本精機株式会社
表示装置
1か月前
日本精機株式会社
表示装置
1か月前
日本精機株式会社
回路基板
1か月前
日本精機株式会社
表示装置
29日前
日本精機株式会社
路面投影装置
1か月前
日本精機株式会社
位置検出装置
23日前
日本精機株式会社
車室演出装置
1か月前
日本精機株式会社
警報システム
1か月前
日本精機株式会社
車載表示装置
1か月前
日本精機株式会社
車載表示装置
2日前
日本精機株式会社
画像投映装置
17日前
日本精機株式会社
位置検出装置
23日前
日本精機株式会社
位置検出装置
23日前
日本精機株式会社
車両用投影装置
1か月前
日本精機株式会社
車両用報知装置
1日前
日本精機株式会社
車両用投射装置
22日前
日本精機株式会社
車両用表示装置
17日前
日本精機株式会社
サージ保護回路
17日前
日本精機株式会社
車両用投射装置
15日前
日本精機株式会社
車両用センサ装置
25日前
日本精機株式会社
施工管理システム
1か月前
日本精機株式会社
投射型表示システム
1か月前
日本精機株式会社
投射型表示システム
1か月前
日本精機株式会社
スペックル低減装置
10日前
日本精機株式会社
車両用投射型表示装置
23日前
日本精機株式会社
ヘッドアップディスプレイ
1か月前
日本精機株式会社
報知装置及び報知システム
1か月前
日本精機株式会社
ヘッドアップディスプレイ装置
15日前
日本精機株式会社
ヘッドアップデテイプレイ装置およびその制御方法
1か月前
NSウエスト株式会社
ヘッドアップディスプレイ装置
1か月前
NSウエスト株式会社
ヘッドアップディスプレイ装置
1か月前
日本精機株式会社
ヘッドアップディスプレイ装置およびその表示制御方法
1か月前
NSウエスト株式会社
ヘッドアップディスプレイ装置
1か月前
NSウエスト株式会社
ヘッドアップディスプレイ装置
1か月前
NSウエスト株式会社
ヘッドアップディスプレイ装置
1か月前
続きを見る
他の特許を見る