TOP
|
特許
|
意匠
|
商標
特許ウォッチ
Twitter
他の特許を見る
公開番号
2025174687
公報種別
公開特許公報(A)
公開日
2025-11-28
出願番号
2024081196
出願日
2024-05-17
発明の名称
アイソレータ
出願人
京セラ株式会社
代理人
個人
,
個人
,
個人
主分類
G02B
27/28 20060101AFI20251120BHJP(光学)
要約
【課題】磁性体を高精度に設置する。
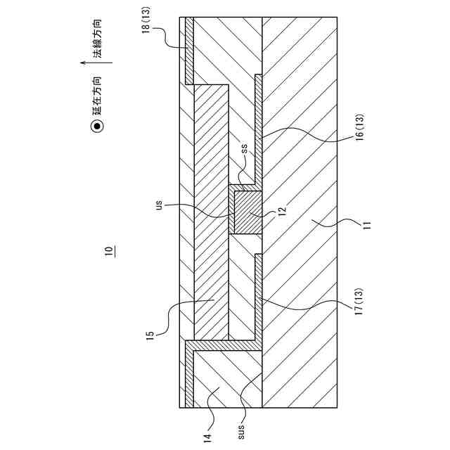
【解決手段】アイソレータ10は基板11と導波路12と非相反性部材13とクラッド14と磁性体15とを備える。基板11は基板面susを有する。導波路12は基板面susに位置する。非相反性部材13は基板面susの法線方向から見て導波路12の少なくとも一部に隣接して位置する。クラッド14は導波路12及び非相反性部材13を覆って基板面susに位置する。磁性体15は法線方向から見て導波路12に重なる。磁性体15は基板面sus側において導波路12寄り基板面susから離れて位置する。又は、磁性体15は基板面susの裏側に位置する。磁性体15を基板面sus側においてクラッド14又は第1の層、及び磁性体15を基板面susの裏側における基板11又は第2の層の少なくとも1つに埋込む。
【選択図】図1
特許請求の範囲
【請求項1】
基板面を有する基板と、
前記基板面に位置する導波路と、
前記基板面の法線方向から見て、前記導波路の少なくとも一部に隣接して位置する非相反性部材と、
前記導波路及び前記非相反性部材を覆って、前記基板面に位置するクラッドと、
前記法線方向から見て前記導波路に重なり、前記基板面側において前記導波路より該基板面から離れて、又は前記基板面の裏側に位置する磁性体と、を備え、
前記磁性体は、前記基板面側における前記クラッド若しくは該クラッドよりも前記基板面から離れて位置する第1の層、及び前記基板面の裏側における前記基板若しくは前記基板面の裏側に位置する第2の層の少なくとも1つに埋込まれている
アイソレータ。
続きを表示(約 290 文字)
【請求項2】
請求項1に記載のアイソレータにおいて、
前記磁性体は、前記第1の層、前記基板、又は前記第2の層に形成される陥凹に位置する
アイソレータ。
【請求項3】
請求項2に記載のアイソレータにおいて、
前記磁性体は、封止材により覆われるように封止される
アイソレータ。
【請求項4】
請求項1から3のいずれか1項に記載のアイソレータにおいて、
前記法線方向から見て、前記第1の層が占める領域の外に位置し、前記基板に設けられる素子に電圧を印加する電極パッドを、更に備える
アイソレータ。
発明の詳細な説明
【技術分野】
【0001】
本発明は、アイソレータに関するものである。
続きを表示(約 1,100 文字)
【背景技術】
【0002】
干渉型光アイソレータは、磁気光学材料に磁界を印加することにより位相変化を生じさせている(特許文献1参照)。
【先行技術文献】
【特許文献】
【0003】
国際公開第2007/083419号
【発明の概要】
【発明が解決しようとする課題】
【0004】
干渉型光アイソレータでは、磁気光学材料の周辺に均一な磁界を形成させるために、磁界印加手段を高精度で設置する必要がある。しかし、微小な磁界印加手段を高精度に設置することは難しい。
【0005】
本開示の目的は、磁界印加手段が高精度に設置されたアイソレータを提供することにある。
【課題を解決するための手段】
【0006】
第1の観点によるアイソレータは、
基板面を有する基板と、
前記基板面に位置する導波路と、
前記基板面の法線方向から見て、前記導波路の少なくとも一部に隣接して位置する非相反性部材と、
前記導波路及び前記非相反性部材を覆って、前記基板面に位置するクラッドと、
前記法線方向から見て前記導波路に重なり、前記基板面側において前記導波路より該基板面から離れて、又は前記基板面の裏側に位置する磁性体と、を備え、
前記磁性体は、前記基板面側における前記クラッド若しくは該クラッドよりも前記基板面から離れて位置する第1の層、及び前記基板面の裏側における前記基板若しくは前記基板面の裏側に位置する第2の層の少なくとも1つに埋込まれている。
【発明の効果】
【0007】
本開示によれば、磁界印加手段が高精度に設置される。
【図面の簡単な説明】
【0008】
本実施形態に係るアイソレータの構成を示す断面図である。
図1のアイソレータの第1の変形例の構成を示す断面図である。
図1のアイソレータの第2の変形例の構成を示す断面図である。
図1のアイソレータの第3の変形例の構成を示す断面図である。
【発明を実施するための形態】
【0009】
以下、本開示を適用したアイソレータの実施形態について、図面を参照して説明する。
【0010】
図1に示すように、本開示を適用した一実施形態のアイソレータ10は、基板11、導波路12、非相反性部材13、クラッド14、及び磁性体15を含んで構成される。アイソレータ10は、TE波に対して動作するアイソレータであってよい。
(【0011】以降は省略されています)
この特許をJ-PlatPat(特許庁公式サイト)で参照する
関連特許
京セラ株式会社
光学系
29日前
京セラ株式会社
配線基板
1か月前
京セラ株式会社
配線基板
1か月前
京セラ株式会社
アイソレータ
今日
京セラ株式会社
振動検出方法
1日前
京セラ株式会社
光センサモジュール
16日前
京セラ株式会社
光センサモジュール
16日前
京セラ株式会社
予測装置及び予測方法
24日前
京セラ株式会社
印刷装置及び印刷方法
21日前
京セラ株式会社
積層セラミック電子部品
22日前
京セラ株式会社
差動信号フィルタデバイス
8日前
京セラ株式会社
差動信号フィルタデバイス
8日前
京セラ株式会社
電磁波検出装置及び制御装置
1か月前
京セラ株式会社
光集積回路及び光トランシーバ
1か月前
京セラ株式会社
端子、端子部材および電気機器
16日前
京セラ株式会社
配線基板及びLEDモジュール
21日前
京セラ株式会社
端子、端子部材および電気機器
14日前
京セラ株式会社
電子デバイス及び電子モジュール
21日前
京セラ株式会社
積層セラミック電子部品の製造方法
今日
京セラ株式会社
電子機器、制御方法、及びプログラム
1日前
京セラ株式会社
分析システム、分析装置、及び分析方法
21日前
京セラ株式会社
光センサおよびこれを備えた画像形成装置
16日前
京セラ株式会社
太陽光発電システム及び太陽電池付きカーポート
1か月前
京セラ株式会社
VMD支援システム、サーバ装置、及び通信方法
21日前
京セラ株式会社
電子機器、制御方法、プログラム、及びシステム
24日前
京セラ株式会社
電子機器、制御方法、プログラム、及びシステム
24日前
京セラ株式会社
行動検出システム、サーバ装置、及び行動検出方法
21日前
京セラ株式会社
圧電共振デバイス
1か月前
京セラ株式会社
被覆層付き金属部材
2日前
京セラ株式会社
液滴吐出ヘッドおよび記録装置
今日
京セラ株式会社
半導体レーザデバイスの製造方法
16日前
京セラ株式会社
チップ状電子部品、チップ状電子部品の製造方法、及びチップ状電子部品の実装方法
14日前
京セラ株式会社
推定システム、推定装置、制御プログラム
1か月前
京セラ株式会社
表示装置、結像装置、表示システムおよび車両
16日前
京セラ株式会社
表示装置、表示システム、車両及び表示パネル収容装置
8日前
京セラ株式会社
判定システム、判定システムの制御方法、および制御プログラム
23日前
続きを見る
他の特許を見る