TOP
|
特許
|
意匠
|
商標
特許ウォッチ
Twitter
他の特許を見る
10個以上の画像は省略されています。
公開番号
2025165291
公報種別
公開特許公報(A)
公開日
2025-11-04
出願番号
2024069322
出願日
2024-04-22
発明の名称
電子機器、制御方法、プログラム、及びシステム
出願人
京セラ株式会社
代理人
個人
,
個人
,
個人
主分類
H05B
47/165 20200101AFI20251027BHJP(他に分類されない電気技術)
要約
【課題】照明機器の位置情報と当該照明機器の識別子とを簡便に関連付ける電子機器、制御方法、プログラム、及びシステムなどを提供する。
【解決手段】それぞれ識別子を有する複数の照明機器を当該識別子に基づいて制御する電子機器は、複数の照明機器のうち少なくとも1つの照明機器の動作を変化させて、少なくとも1つの照明機器の動作の変化が他の電子機器によって検出されると、その少なくとも1つの照明機器の識別子とその少なくとも1つの照明機器の位置情報とを関連付ける。
【選択図】図1
特許請求の範囲
【請求項1】
それぞれ識別子を有する複数の照明機器を当該識別子に基づいて制御する電子機器であって、
前記複数の照明機器のうち少なくとも1つの照明機器の動作を変化させて、前記少なくとも1つの照明機器の動作の変化が他の電子機器によって検出されると、当該少なくとも1つの照明機器の識別子と当該少なくとも1つの照明機器の位置情報とを関連付ける、電子機器。
続きを表示(約 1,100 文字)
【請求項2】
前記複数の照明機器はそれぞれ一意の識別子を有し、
当該識別子に基づいて前記複数の照明機器を制御する、請求項1に記載の電子機器。
【請求項3】
前記複数の照明機器のうち少なくとも1つの照明機器に論理アドレスを付与し、当該少なくとも1つの照明機器に付与された論理アドレスと当該少なくとも1つの照明機器の位置情報とを関連付ける、請求項1に記載の電子機器。
【請求項4】
前記複数の照明機器のそれぞれに一意の論理アドレスを付与する、請求項3に記載の電子機器。
【請求項5】
前記複数の照明機器の動作を1つずつ順番に変化させる、請求項1に記載の電子機器。
【請求項6】
前記複数の照明機器の動作を、少なくとも1つの照明機器を含むグループごとに順番に変化させる、請求項1に記載の電子機器。
【請求項7】
前記複数の照明機器のうち、当該照明機器の識別子と当該照明機器の位置情報とがまだ関連付けられていない照明機器の動作を変化させる、請求項1に記載の電子機器。
【請求項8】
それぞれ識別子を有する複数の照明機器を当該識別子に基づいて制御する電子機器の制御方法であって、
前記複数の照明機器のうち少なくとも1つの照明機器の動作を変化させるステップと、
前記少なくとも1つの照明機器の動作の変化が他の電子機器によって検出されると、当該少なくとも1つの照明機器の識別子と当該少なくとも1つの照明機器の位置情報とを関連付けるステップと、
を含む、制御方法。
【請求項9】
それぞれ識別子を有する複数の照明機器を当該識別子に基づいて制御する電子機器に、
前記複数の照明機器のうち少なくとも1つの照明機器の動作を変化させるステップと、
前記少なくとも1つの照明機器の動作の変化が他の電子機器によって検出されると、当該少なくとも1つの照明機器の識別子と当該少なくとも1つの照明機器の位置情報とを関連付けるステップと、
を実行させる、プログラム。
【請求項10】
それぞれ識別子を有する複数の照明機器と、
前記複数の照明機器を前記識別子に基づいて制御する電子機器と、
を含むシステムであって、
前記電子機器は、前記複数の照明機器のうち少なくとも1つの照明機器の動作を変化させて、前記少なくとも1つの照明機器の動作の変化が他の電子機器によって検出されると、当該少なくとも1つの照明機器の識別子と当該少なくとも1つの照明機器の位置情報とを関連付ける、システム。
(【請求項11】以降は省略されています)
発明の詳細な説明
【技術分野】
【0001】
本開示は、電子機器、制御方法、プログラム、及びシステムに関する。
続きを表示(約 1,700 文字)
【背景技術】
【0002】
従来、照明機器の利便性などを向上させるべく、種々の技術が開発されている。例えば、特許文献1は、人感センサ又は照度センサによって、照明機器のオン/オフ又は調光を行う技術を開示している。また、特許文献2は、照明機器を制御する照明制御装置の論理的IDに物理的位置を対応付けて記憶するシステムを開示している。
【先行技術文献】
【特許文献】
【0003】
特許第5686723号公報
特許第6460317号公報
【発明の概要】
【発明が解決しようとする課題】
【0004】
照明機器の位置情報と、当該照明機器の識別子とを簡便に関連付けることができれば、種々の観点から有益である。
【0005】
本開示の目的は、照明機器の位置情報と当該照明機器の識別子とを簡便に関連付ける電子機器、制御方法、プログラム、及びシステムなどを提供することにある。
【課題を解決するための手段】
【0006】
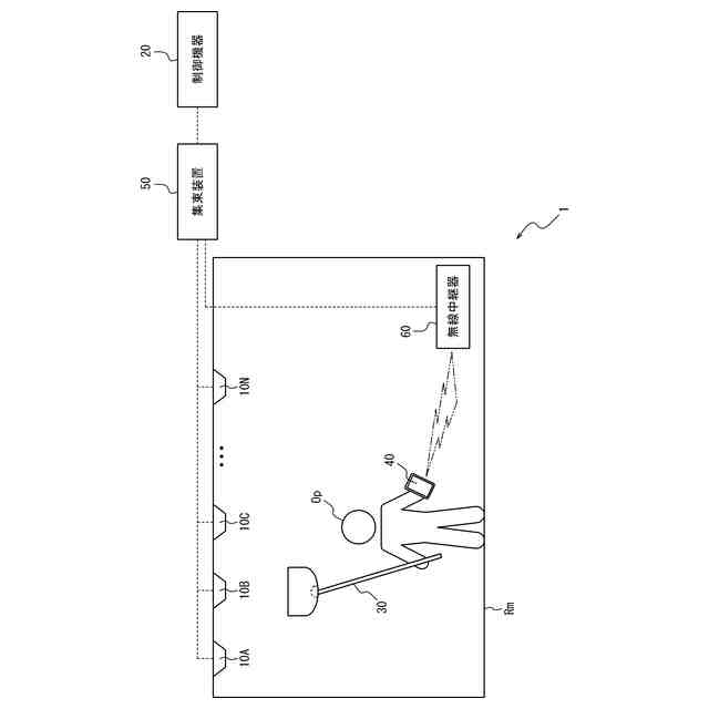
一実施形態に係る電子機器(例えば制御機器)は、
それぞれ識別子を有する複数の照明機器を当該識別子に基づいて制御する電子機器であって、
前記電子機器は、
前記複数の照明機器のうち少なくとも1つの照明機器の動作を変化させて、前記少なくとも1つの照明機器の動作の変化が他の電子機器によって検出されると、当該少なくとも1つの照明機器の識別子と当該少なくとも1つの照明機器の位置情報とを関連付ける。
【0007】
一実施形態に係る制御方法(例えば制御機器の制御方法)は、
それぞれ識別子を有する複数の照明機器を当該識別子に基づいて制御する電子機器の制御方法であって、
前記複数の照明機器のうち少なくとも1つの照明機器の動作を変化させるステップと、
前記少なくとも1つの照明機器の動作の変化が他の電子機器によって検出されると、当該少なくとも1つの照明機器の識別子と当該少なくとも1つの照明機器の位置情報とを関連付けるステップと、
を含む。
【0008】
一実施形態に係るプログラム(例えば制御機器に実行させるプログラム)は、
それぞれ識別子を有する複数の照明機器を当該識別子に基づいて制御する電子機器に、
前記複数の照明機器のうち少なくとも1つの照明機器の動作を変化させるステップと、
前記少なくとも1つの照明機器の動作の変化が他の電子機器によって検出されると、当該少なくとも1つの照明機器の識別子と当該少なくとも1つの照明機器の位置情報とを関連付けるステップと、
を実行させる。
【0009】
一実施形態に係るシステム(例えば制御機器を含むシステム)は、
それぞれ識別子を有する複数の照明機器と、
前記複数の照明機器を前記識別子に基づいて制御する電子機器と、
を含む。
前記電子機器は、前記複数の照明機器のうち少なくとも1つの照明機器の動作を変化させて、前記少なくとも1つの照明機器の動作の変化が他の電子機器によって検出されると、当該少なくとも1つの照明機器の識別子と当該少なくとも1つの照明機器の位置情報とを関連付ける。
【0010】
一実施形態に係る電子機器(例えば試験機器)は、
複数の照明機器のうち少なくとも1つの照明機器を少なくとも部分的に遮光する遮光部と、
前記遮光部内において、前記少なくとも1つの照明機器による光を検出する検出部と、
を備える電子機器であって、
前記複数の照明機器を制御する他の電子機器によって当該複数の照明機器のうち少なくとも1つの照明機器の動作が変化され、前記検出部が前記少なくとも1つの照明機器の動作の変化を検出すると、当該検出の旨を前記他の電子機器に通知する。
【発明の効果】
(【0011】以降は省略されています)
この特許をJ-PlatPat(特許庁公式サイト)で参照する
関連特許
京セラ株式会社
光学系
28日前
京セラ株式会社
配線基板
1か月前
京セラ株式会社
配線基板
1か月前
京セラ株式会社
蓄電装置
1か月前
京セラ株式会社
粒子分離装置
1か月前
京セラ株式会社
振動検出方法
今日
京セラ株式会社
センサシステム
1か月前
京セラ株式会社
静圧気体軸受装置
1か月前
京セラ株式会社
光センサモジュール
15日前
京セラ株式会社
光センサモジュール
15日前
京セラ株式会社
予測装置及び予測方法
23日前
京セラ株式会社
配線基板及び電子装置
1か月前
京セラ株式会社
印刷装置及び印刷方法
20日前
京セラ株式会社
走査装置及び制御装置
1か月前
京セラ株式会社
走査装置及び制御装置
1か月前
京セラ株式会社
配線基板及び電子装置
1か月前
京セラ株式会社
コネクタ及び取付方法
1か月前
京セラ株式会社
積層セラミック電子部品
21日前
京セラ株式会社
流路デバイスの準備方法
1か月前
京セラ株式会社
太陽電池付きカーポート
1か月前
京セラ株式会社
太陽電池付きカーポート
1か月前
京セラ株式会社
差動信号フィルタデバイス
7日前
京セラ株式会社
差動信号フィルタデバイス
7日前
京セラ株式会社
電磁波検出装置及び制御装置
1か月前
京セラ株式会社
受電装置及び光給電システム
1か月前
京セラ株式会社
取付部材及びヘッド取付方法
1か月前
京セラ株式会社
配線基板及びLEDモジュール
20日前
京セラ株式会社
端子、端子部材および電気機器
13日前
京セラ株式会社
光集積回路及び光トランシーバ
1か月前
京セラ株式会社
端子、端子部材および電気機器
15日前
京セラ株式会社
フィルタデバイスおよび通信装置
1か月前
京セラ株式会社
電子デバイス及び電子モジュール
20日前
京セラ株式会社
光センサおよび光センサの製造方法
1か月前
京セラ株式会社
電子機器、制御方法、及びプログラム
今日
京セラ株式会社
分析システム、分析装置、及び分析方法
20日前
京セラ株式会社
揺動装置、電磁波照射装置、及び制御装置
1か月前
続きを見る
他の特許を見る