TOP
|
特許
|
意匠
|
商標
特許ウォッチ
Twitter
他の特許を見る
10個以上の画像は省略されています。
公開番号
2025169053
公報種別
公開特許公報(A)
公開日
2025-11-12
出願番号
2024074031
出願日
2024-04-30
発明の名称
光センサモジュール
出願人
京セラ株式会社
代理人
弁理士法人三協国際特許事務所
主分類
G03G
15/00 20060101AFI20251105BHJP(写真;映画;光波以外の波を使用する類似技術;電子写真;ホログラフイ)
要約
【課題】迷光成分の混入を抑制し、センシング精度を向上できる光センサモジュールを提供する。
【解決手段】光センサモジュールSMは、センサ基板3、第1遮光壁51および第2遮光壁52を備える。センサ基板3は、実装面3Mを有する基板30と、実装面3Mに第1発光素子33と第1受光素子34との発受光ペア、第2受光素子34、第2発光素子36の順で列状に配置された素子群3Eとを含む。第1遮光壁51は、第1発光素子33と第1受光素子34との間に配置されている。第2遮光壁52は、第2発光素子35と第2受光素子36との間に配置されている。第1受光素子34は、第1発光素子33から発せられる第1測定光L11の正反射光を受光する。第2受光素子36は、第2発光素子35から発せられる第2測定光L12の乱反射光L3を受光する。発受光ペア31と第2受光素子36との間における、実装面3Mの前方が開放空間OSである。
【選択図】図5A
特許請求の範囲
【請求項1】
実装面を有する基板と、前記実装面に第1発光素子と第1受光素子との発受光ペア、第2受光素子、第2発光素子の順で列状に配置された素子群と、を含むセンサ基板と、
前記第1発光素子と第1受光素子との間において、前記実装面の前方に配置された第1遮光壁と、
前記第2発光素子と第2受光素子との間において、前記実装面の前方に配置された第2遮光壁と、を備え、
前記第1受光素子は、前記第1発光素子から発せられる第1測定光の測定対象物からの正反射光を受光する位置に配置され、
前記第2受光素子は、前記第2発光素子から発せられる第2測定光の測定対象物からの乱反射光を受光する位置に配置され、
前記発受光ペアと前記第2受光素子との間における、前記実装面の前方が開放空間である、光センサモジュール。
続きを表示(約 1,200 文字)
【請求項2】
請求項1に記載の光センサモジュールにおいて、
前記素子群は、前記第1発光素子、前記第1受光素子、前記第2受光素子、前記第2発光素子の順で列状に前記実装面に配置され、
前記第1受光素子と前記第2受光素子との間における前記実装面の前方が、前記開放空間である、光センサモジュール。
【請求項3】
請求項1に記載の光センサモジュールにおいて、
前記素子群は、前記第1受光素子、前記第1発光素子、前記第2受光素子、前記第2発光素子の順で列状に前記実装面に配置され、
前記第1発光素子と前記第2受光素子との間における前記実装面の前方が、前記開放空間である、光センサモジュール。
【請求項4】
請求項1~3のいずれか1項に記載の光センサモジュールにおいて、
前記実装面の前方に配置され、前記第1測定光および前記正反射光と、前記第2測定光および前記乱反射光とを集光するレンズ部を含むレンズユニットと、
前記レンズユニットが嵌合される筐体と、をさらに備え、
前記第1遮光壁および前記第2遮光壁は、前記筐体に立設されている、光センサモジュール。
【請求項5】
請求項4に記載の光センサモジュールにおいて、
前記筐体は、底板と、前記底板の周縁から立設され前記レンズユニットの側面を覆う側板と、を含み、
前記底板は、前記第1遮光壁および前記第2遮光壁が立設される第1面と、前記センサ基板が収容される凹部を有する第2面と、前記第1測定光および前記正反射光と、前記第2測定光および前記乱反射光とを通過させる開口と、を含む、光センサモジュール。
【請求項6】
請求項1~3のいずれか1項に記載の光センサモジュールにおいて、
前記実装面と、前記第1遮光壁および前記第2遮光壁の底面との間に隙間が形成されている、光センサモジュール。
【請求項7】
請求項6に記載の光センサモジュールにおいて、
前記第1遮光壁の底面に形成され、前記第1発光素子に向かうに連れて前記実装面から離間する方向に傾斜する第1テーパ面と、を含む、光センサモジュール。
【請求項8】
請求項6に記載の光センサモジュールにおいて、
前記第2遮光壁の底面に形成され、前記第2発光素子に向かうに連れて前記実装面から離間する方向に傾斜する第2テーパ面と、を含む、光センサモジュール。
【請求項9】
請求項1~3のいずれか1項に記載の光センサモジュールにおいて、
前記第2遮光壁は、前記第1遮光壁よりも前方への突出長が長い、光センサモジュール。
【請求項10】
請求項1~3のいずれか1項に記載の光センサモジュールにおいて、
前記第2遮光壁の底面幅が、前記列状の配列方向において、前記第1遮光壁の底面幅よりも長い、光センサモジュール。
(【請求項11】以降は省略されています)
発明の詳細な説明
【技術分野】
【0001】
本開示は、発光素子および受光素子を備える光センサモジュールに関する。
続きを表示(約 2,400 文字)
【背景技術】
【0002】
測定対象物に照射する測定光を発する発光素子と、前記測定光の反射光を受光する受光素子とを備える光センサモジュールが知られている。当該光センサモジュールは、例えばタンデム型の画像形成装置の中間転写ベルトに形成される、トナー濃度や色ずれ計測のためのパッチ画像の検出に用いられる。特許文献1および特許文献2には、パッチ画像からの正反射光を検出するための第1発光素子および第1受光素子のペアと、パッチ画像からの乱反射光を検出するための第2発光素子および第2受光素子のペアとを備えた光センサモジュールが開示されている。
【先行技術文献】
【特許文献】
【0003】
特許第7195808号公報
特開2017-90597号公報
【発明の概要】
【発明が解決しようとする課題】
【0004】
上記の光センサモジュールでは、パッチ画像等の測定対象物からの正反射光もしくは乱反射光だけを、各受光素子が検出することが望ましい。しかし、検出を企図していない迷光が受光素子に混入し、測定対象物の正確なセンシングを阻害することがある。
【0005】
本開示の目的は、迷光成分の混入を抑制し、センシング精度を向上できる光センサモジュールを提供することにある。
【課題を解決するための手段】
【0006】
本開示の一の局面に係る光センサモジュールは、実装面を有する基板と、前記実装面に第1発光素子と第1受光素子との発受光ペア、第2受光素子、第2発光素子の順で列状に配置された素子群と、を含むセンサ基板と、前記第1発光素子と第1受光素子との間において、前記実装面の前方に配置された第1遮光壁と、前記第2発光素子と第2受光素子との間において、前記実装面の前方に配置された第2遮光壁と、を備える。前記第1受光素子は、前記第1発光素子から発せられる第1測定光の測定対象物からの正反射光を受光する位置に配置されている。前記第2受光素子は、前記第2発光素子から発せられる第2測定光の測定対象物からの乱反射光を受光する位置に配置されている。前記発受光ペアと前記第2受光素子との間における、前記実装面の前方が開放空間である。
【発明の効果】
【0007】
本開示によれば、迷光成分の混入を抑制し、センシング精度を向上できる光センサモジュールを提供することができる。
【図面の簡単な説明】
【0008】
図1は、本開示の光センサモジュールが適用されるカラープリンターの内部構造を概略的に示す断面図である。
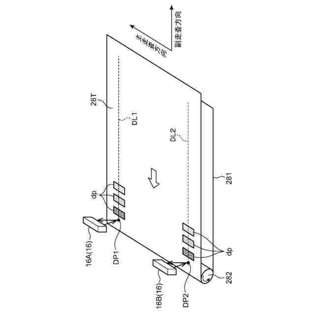
図2は、光センサモジュールの一例である濃度センサの配置例を示す斜視図である。
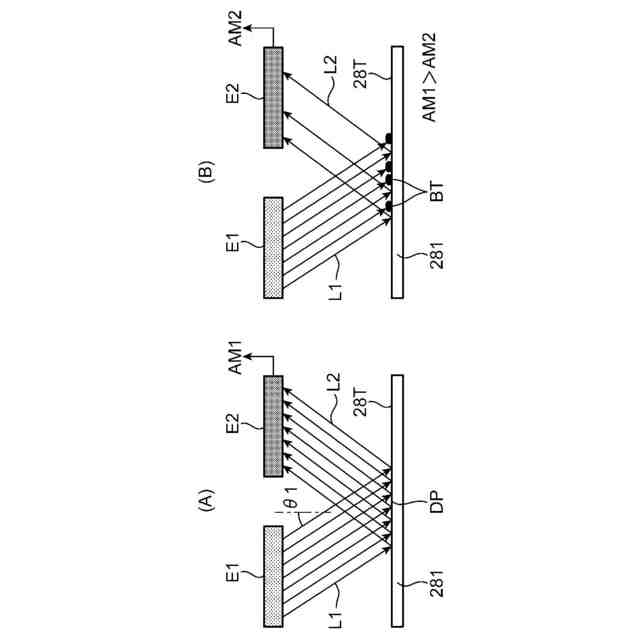
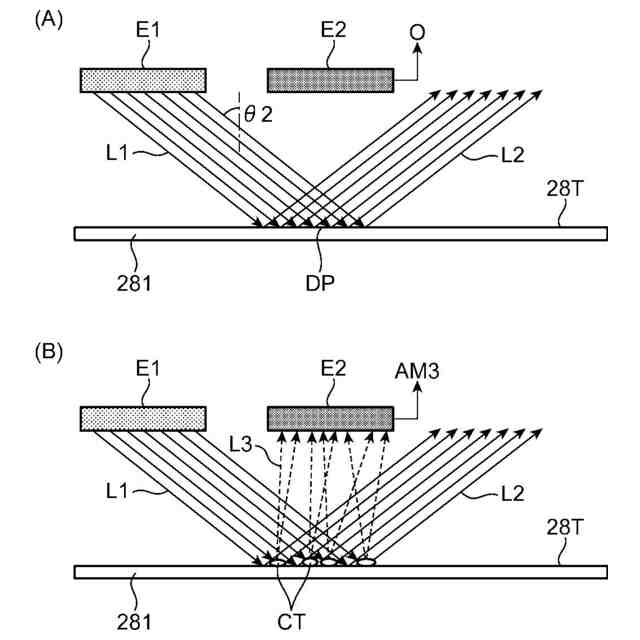
図3(A)および(B)は、黒トナーの検出原理を示す模式図である。
図4(A)および(B)は、カラートナーの検出原理を示す模式図である。
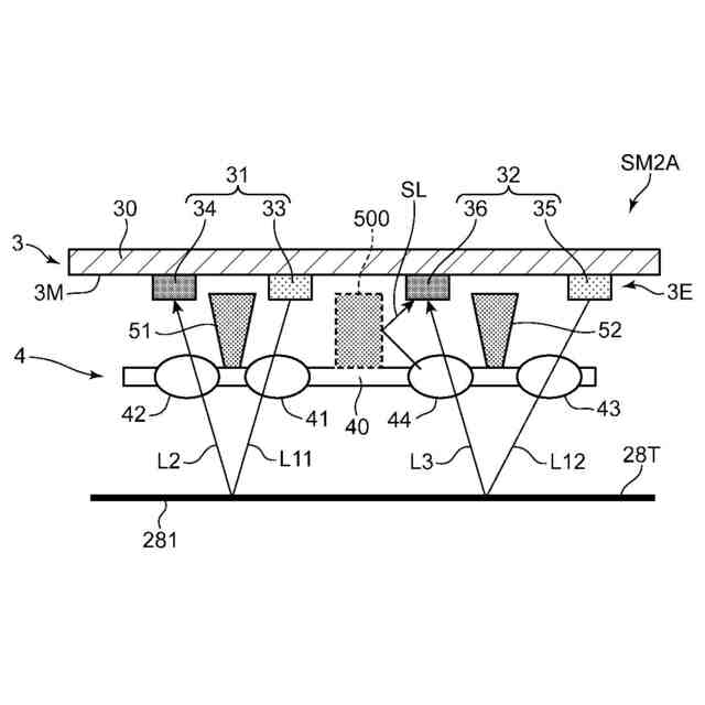
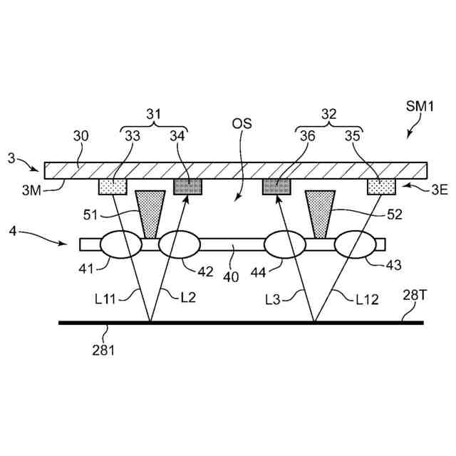
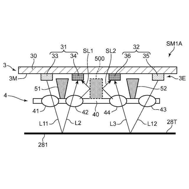
図5Aは、本開示の基本実施形態の第1例に係る光センサモジュールを示す断面図である。
図5Bは、上記第1例の比較例を示す断面図である。
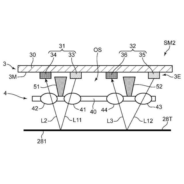
図6Aは、基本実施形態の第2例に係る光センサモジュールを示す断面図である。
図6Bは、上記第2例の比較例を示す断面図である。
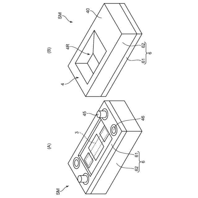
図7(A)および(B)は、本開示の具体的実施形態に係る光センサモジュールの外観を示す斜視図である。
図8(A)は、図7に示す光センサモジュールの上面図、図8(B)は底面図、図8(C)は側面図である。
図9(A)は、筐体底板の下面視の斜視図、図9(B)は、筐体底板の上面視の斜視図である。
図10は、図8(B)のX-X線断面図である。
図11は、図9(B)のXI-XI線断面図であって、センサ基板の装着前の状態を示す図である。
図12は、筐体底板の図11と同じ断面を示し、センサ基板が装着された状態であって要部の拡大図が付記された断面図である。
図13は、筐体底板の図11と同じ断面を示し、遮光壁の突出長および底面幅を説明するための断面図である。
【発明を実施するための形態】
【0009】
以下、本開示の光センサモジュールについて、図面を参照して詳細に基づいて説明する。本開示の光センサモジュールは、測定光を測定対象物に照射し、その反射光を受光することで、当該測定対象物の物理特性を計測するモジュールである。測定対象物には特に制限はなく、固体、半固体、液体、粉体などが対象となり得る。測定する物理特性についても、反射光から解析し得る限りにおいて特に制限はない。例えば、測定対象物の色や濃度の計測に、本開示の光センサモジュールは好適である。以下で説明する実施形態では、カラープリンターに対し、画像形成用のトナーの濃度検出用に組み付けられる光センサモジュールを例示する。
【0010】
[カラープリンターの説明]
先ず、本開示の光センサモジュールが適用されるカラープリンターの構成について説明する。図1は、タンデム式のカラープリンター1の内部構造を概略的に示す断面図である。カラープリンター1は、本体ハウジング10に収容された、画像形成ユニット2Y、2C、2M、2Bk、光走査装置23、中間転写ユニット28及び定着ユニット29を含む。本体ハウジング10の上面には排紙トレイ11が備えられている。排紙トレイ11に対向して、シート排出口12が開口している。本体ハウジング10の側壁には手差し給紙トレイ13が、本体ハウジング10の下部には、自動給紙等のシートを収容する給紙カセット14が、それぞれ装備されている。
(【0011】以降は省略されています)
この特許をJ-PlatPat(特許庁公式サイト)で参照する
関連特許
京セラ株式会社
光学系
1か月前
京セラ株式会社
蓄電装置
2か月前
京セラ株式会社
配線基板
1か月前
京セラ株式会社
配線基板
1か月前
京セラ株式会社
アイソレータ
10日前
京セラ株式会社
振動検出方法
11日前
京セラ株式会社
静圧気体軸受装置
1か月前
京セラ株式会社
光センサモジュール
26日前
京セラ株式会社
光センサモジュール
26日前
京セラ株式会社
走査装置及び制御装置
1か月前
京セラ株式会社
走査装置及び制御装置
1か月前
京セラ株式会社
印刷装置及び印刷方法
1か月前
京セラ株式会社
予測装置及び予測方法
1か月前
京セラ株式会社
積層セラミック電子部品
1か月前
京セラ株式会社
太陽電池付きカーポート
1か月前
京セラ株式会社
太陽電池付きカーポート
1か月前
京セラ株式会社
差動信号フィルタデバイス
18日前
京セラ株式会社
弾性波装置および通信装置
3日前
京セラ株式会社
差動信号フィルタデバイス
18日前
京セラ株式会社
電磁波検出装置及び制御装置
1か月前
京セラ株式会社
光集積回路及び光トランシーバ
1か月前
京セラ株式会社
端子、端子部材および電気機器
24日前
京セラ株式会社
端子、端子部材および電気機器
26日前
京セラ株式会社
配線基板及びLEDモジュール
1か月前
京セラ株式会社
電子デバイス及び電子モジュール
1か月前
京セラ株式会社
光センサおよび光センサの製造方法
1か月前
京セラ株式会社
積層セラミック電子部品の製造方法
10日前
京セラ株式会社
電子機器、制御方法、及びプログラム
11日前
京セラ株式会社
分析システム、分析装置、及び分析方法
1か月前
京セラ株式会社
揺動装置、電磁波照射装置、及び制御装置
1か月前
京セラ株式会社
光センサおよびこれを備えた画像形成装置
26日前
京セラ株式会社
電子機器、制御方法、プログラム、及びシステム
1か月前
京セラ株式会社
太陽光発電システム及び太陽電池付きカーポート
1か月前
京セラ株式会社
電子機器、制御方法、プログラム、及びシステム
1か月前
京セラ株式会社
VMD支援システム、サーバ装置、及び通信方法
1か月前
京セラ株式会社
行動検出システム、サーバ装置、及び行動検出方法
1か月前
続きを見る
他の特許を見る