TOP
|
特許
|
意匠
|
商標
特許ウォッチ
Twitter
他の特許を見る
公開番号
2025148755
公報種別
公開特許公報(A)
公開日
2025-10-08
出願番号
2024049035
出願日
2024-03-26
発明の名称
受電装置及び光給電システム
出願人
京セラ株式会社
代理人
個人
,
個人
主分類
H04B
10/80 20130101AFI20251001BHJP(電気通信技術)
要約
【課題】データ伝送を伴う光給電の給電効率を向上させる。
【解決手段】受電装置は、給電光を電力に変換する第1受光部及び第2受光部と、第1給電光を前記第1受光部に伝送する第1光伝送路と、第2給電光を前記第2受光部に伝送する第2光伝送路と、信号光を光通信装置に向けて伝送する第3光伝送路と、前記第2光伝送路と前記第3光伝送路を切り替え可能な光スイッチと、前記信号光を前記光通信装置に送信するか否かに基づいて、前記光スイッチの切り替えを制御する制御部と、を備える。
【選択図】図1
特許請求の範囲
【請求項1】
給電光を電力に変換する第1受光部及び第2受光部と、
第1給電光を前記第1受光部に伝送する第1光伝送路と、
第2給電光を前記第2受光部に伝送する第2光伝送路と、
信号光を光通信装置に向けて伝送する第3光伝送路と、
前記第2光伝送路と前記第3光伝送路を切り替え可能な光スイッチと、
前記信号光を前記光通信装置に送信するか否かに基づいて、前記光スイッチの切り替えを制御する制御部と、
を備える受電装置。
続きを表示(約 900 文字)
【請求項2】
前記給電光は、変調により予め重畳された情報を含む、
請求項1に記載の受電装置。
【請求項3】
前記第1受光部及び前記第2受光部を収容する受光室を備え、
前記受光室は、
前記第1受光部を収容する第1受光室と、前記第2受光部を収容する第2受光室とが、隔壁で遮光され、
前記第1受光部及び前記第2受光部で反射された給電光を電気信号に変換する第3受光部を有する、
請求項2に記載の受電装置。
【請求項4】
前記受光室には、
前記第1受光部及び前記第2受光部が受光面を同方向に向けて並設され、
前記隔壁が前記第1受光部と前記第2受光部の間に立設され、
前記第3受光部が前記第1受光部及び前記第2受光部の双方と受光面を対向させて配置されている、
請求項3に記載の受電装置。
【請求項5】
前記第1受光部及び前記第2受光部の出力に基づいて、前記第1給電光及び前記第2給電光の光伝送路に異常が発生したか否かを判定する判定部を備える、
請求項3に記載の受電装置。
【請求項6】
前記制御部は、光伝送路に異常が発生したと前記判定部が判定した場合、前記光スイッチを前記第3光伝送路に切り替えて、異常を報知する情報を前記信号光に重畳させる、
請求項5に記載の受電装置。
【請求項7】
前記第1受光部及び前記第2受光部の各々は、レーザ波長500nm以下のレーザ媒体を含む光電変換素子である、
請求項1に記載の受電装置。
【請求項8】
請求項1から7のいずれか一項に記載の受電装置と、
給電光を出力する前記光通信装置としての給電装置と、
前記給電装置と前記受電装置との間で前記給電光及び前記信号光を伝送する光ファイバケーブルと、
前記光ファイバケーブルの前記受電装置側に配置され、前記給電光を前記第1給電光と前記第2給電光に分岐させる分岐手段と、
を備える光給電システム。
発明の詳細な説明
【技術分野】
【0001】
本開示は、受電装置及び光給電システムに関する。
続きを表示(約 1,600 文字)
【背景技術】
【0002】
近時、電力を光(給電光と呼ばれる)に変換して伝送し、当該給電光を電気エネルギーに変換して電力として利用する光給電システムが研究されている。
特許文献1には、給電光による電力伝送とともにデータ伝送を行う技術が開示されている。
【先行技術文献】
【特許文献】
【0003】
特開2010-135989号公報
【発明の概要】
【発明が解決しようとする課題】
【0004】
本開示は、データ伝送を伴う光給電の給電効率を向上させることを目的とする。
【課題を解決するための手段】
【0005】
本開示に係る受電装置は、
給電光を電力に変換する第1受光部及び第2受光部と、
第1給電光を前記第1受光部に伝送する第1光伝送路と、
第2給電光を前記第2受光部に伝送する第2光伝送路と、
信号光を光通信装置に向けて伝送する第3光伝送路と、
前記第2光伝送路と前記第3光伝送路を切り替え可能な光スイッチと、
前記信号光を前記光通信装置に送信するか否かに基づいて、前記光スイッチの切り替えを制御する制御部と、
を備える。
【発明の効果】
【0006】
本開示によれば、データ伝送を伴う光給電の給電効率を向上させることができる。
【図面の簡単な説明】
【0007】
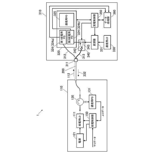
本開示の実施形態に係る光給電システムの構成図である。
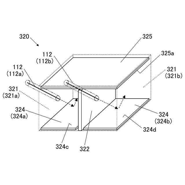
本開示の実施形態に係る光電変換モジュールの構造例を示す斜視図である。
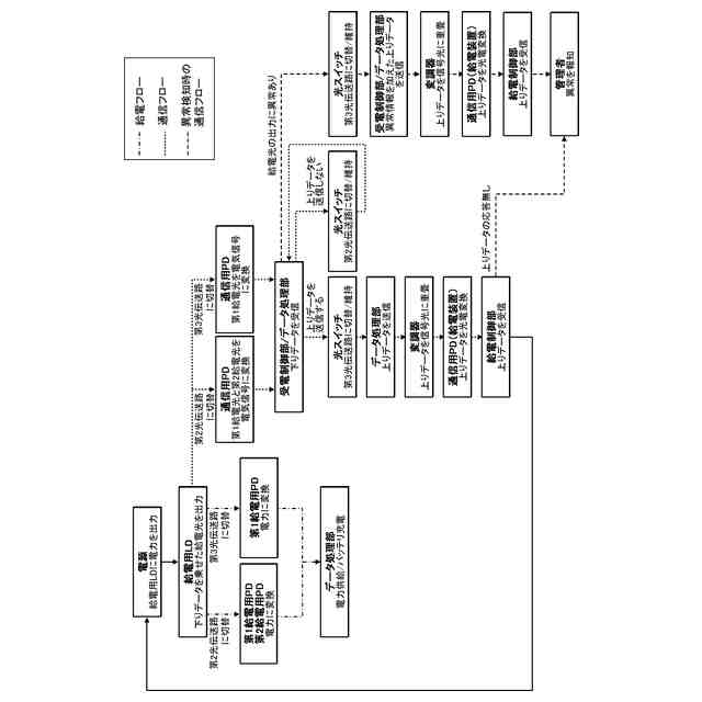
本開示の実施形態に係る給電処理の流れを示すフローチャートである。
本開示の実施形態に係る上りデータがある場合の受電装置を示す図である。
本開示の実施形態に係る上りデータが無い場合の受電装置を示す図である。
本開示の実施形態に係る受電装置の変形例を示す構成図である。
【発明を実施するための形態】
【0008】
以下に本開示の一実施形態につき図面を参照して説明する。
【0009】
[光給電システムの構成]
図1に示すように、本実施形態の光給電システム1は、給電装置(PSE:Power Sourcing Equipment)110と、光ファイバケーブル200と、受電装置(PD:Powered Device)310を備える。光給電システム1は、給電装置110が生成した給電光112を、光ファイバケーブル200を介して受電装置310に伝送する。
なお、本開示における給電装置は電力を光エネルギーに変換して供給する装置であり、受電装置は光エネルギーの供給を受け当該光エネルギーを電気(電力)に変換する装置である。また、本開示では、給電装置から受電装置に電力と情報(データ)を伝送するとともに、受電装置から給電装置にも情報を伝送する双方向通信が行われる。
【0010】
<給電装置の構成>
給電装置110は、本発明に係る光通信装置の一例である。給電装置110は、給電用半導体レーザ(給電用LD)111と、通信用フォトダイオード(通信用PD)131と、給電制御部150とを含む。
給電用LD111は、電源121からの電力によりレーザ発振して給電光(レーザ光)112を出力する。
通信用PD131は、受電装置310から送信されてきて光サーキュレータ等の光デバイス130で分岐された信号光(レーザ光)332を、電気信号に変換する。この電気信号は、復調回路により復調され、信号光332に重畳されていた情報(上りデータ)が抽出されて、給電制御部150に送信される。
(【0011】以降は省略されています)
この特許をJ-PlatPat(特許庁公式サイト)で参照する
関連特許
京セラ株式会社
光学系
3日前
京セラ株式会社
蓄電装置
24日前
京セラ株式会社
配線基板
9日前
京セラ株式会社
配線基板
9日前
京セラ株式会社
弾性波装置
1か月前
京セラ株式会社
粒子分離装置
24日前
京セラ株式会社
センサシステム
1か月前
京セラ株式会社
静圧気体軸受装置
23日前
京セラ株式会社
コネクタ及び取付方法
25日前
京セラ株式会社
走査装置及び制御装置
23日前
京セラ株式会社
走査装置及び制御装置
23日前
京セラ株式会社
配線基板及び電子装置
1か月前
京セラ株式会社
配線基板及び電子装置
1か月前
京セラ株式会社
流路デバイスの準備方法
25日前
京セラ株式会社
発光装置および照明装置
1か月前
京セラ株式会社
太陽電池付きカーポート
23日前
京セラ株式会社
太陽電池付きカーポート
23日前
京セラ株式会社
受電装置及び光給電システム
25日前
京セラ株式会社
電磁波検出装置及び制御装置
9日前
京セラ株式会社
取付部材及びヘッド取付方法
1か月前
京セラ株式会社
光集積回路及び光トランシーバ
9日前
京セラ株式会社
フィルタデバイスおよび通信装置
1か月前
京セラ株式会社
光センサおよび光センサの製造方法
19日前
京セラ株式会社
揺動装置、電磁波照射装置、及び制御装置
23日前
京セラ株式会社
光通信装置、光通信システム及び光照射素子
26日前
京セラ株式会社
ホルダ、切削工具、及び切削加工物の製造方法
24日前
京セラ株式会社
多層基板、フィルタモジュール、および通信装置
1か月前
京セラ株式会社
ノード、方法、プログラム及び分散台帳システム
25日前
京セラ株式会社
太陽光発電システム及び太陽電池付きカーポート
5日前
京セラ株式会社
プログラム、給電方法、給電装置及び光給電システム
24日前
京セラ株式会社
情報処理装置、情報処理システム、及び情報処理方法
25日前
京セラ株式会社
情報処理装置、情報処理システム、及び情報処理方法
25日前
京セラ株式会社
受発光センサ及び該受発光センサを備えた画像形成装置
23日前
京セラ株式会社
受発光センサ及び該受発光センサを備えた画像形成装置
23日前
京セラ株式会社
受発光センサ及び該受発光センサを備えた画像形成装置
23日前
京セラ株式会社
受発光センサ及び該受発光センサを備えた画像形成装置
23日前
続きを見る
他の特許を見る