TOP
|
特許
|
意匠
|
商標
特許ウォッチ
Twitter
他の特許を見る
10個以上の画像は省略されています。
公開番号
2025169055
公報種別
公開特許公報(A)
公開日
2025-11-12
出願番号
2024074033
出願日
2024-04-30
発明の名称
光センサおよびこれを備えた画像形成装置
出願人
京セラ株式会社
代理人
弁理士法人三協国際特許事務所
主分類
H10F
55/00 20250101AFI20251105BHJP()
要約
【課題】発光素子および受光素子に対するレンズの位置を安定させ、センシング性能のばらつきを抑制することが可能な光センサを提供する。
【解決手段】光センサは、第1面と前記第1面とは反対側の第2面とを有する回路基板と、前記回路基板の前記第1面上に設けられた発光素子および受光素子と、前記発光素子および前記受光素子との光路間に位置するレンズ部と、前記レンズ部から前記回路基板に向かって延びる第1支柱および第2支柱とを含むレンズユニットと、前記回路基板の前記第2面上に搭載された電子部品と、を備える。前記回路基板は、少なくとも前記第1面に開口され前記第1支柱が挿通される孔部と、前記第1面上において前記回路基板の厚さ方向に沿って前記第2支柱が当接される被当接部とを有し、前記電子部品は、前記第2面のうち前記被当接部の裏面に対応する領域に配置されている。
【選択図】図12
特許請求の範囲
【請求項1】
第1面と前記第1面とは反対側の第2面とを有する回路基板と、
前記回路基板の前記第1面上に設けられた発光素子および受光素子と、
前記発光素子および前記受光素子との光路間に位置するレンズ部と、前記レンズ部から前記回路基板に向かって延びる第1支柱および第2支柱とを含むレンズユニットと、
前記回路基板の前記第2面上に搭載された電子部品と、
を備え、
前記回路基板は、前記第1支柱が挿通される孔部と、前記第1面上において前記回路基板の厚さ方向に沿って前記第2支柱が当接される被当接部とを有し、
前記電子部品は、前記第2面のうち前記被当接部の裏面に対応する領域に配置されている、光センサ。
続きを表示(約 800 文字)
【請求項2】
前記電子部品は、ICチップである、請求項1に記載の光センサ。
【請求項3】
前記電子部品は、コネクタである、請求項1に記載の光センサ。
【請求項4】
前記コネクタと前記回路基板の前記第2面との間には隙間がある、請求項3に記載の光センサ。
【請求項5】
前記回路基板は、当該回路基板を装置本体に固定する固定部材がそれぞれ挿通される一対の開口部を有し、
前記孔部は、前記一対の開口部に挟まれる領域に配置されている、請求項1に記載の光センサ。
【請求項6】
前記回路基板は、当該回路基板を装置本体に固定する固定部材がそれぞれ挿通される一対の開口部を有し、
前記被当接部は、前記一対の開口部に挟まれる領域に配置されている、請求項1に記載の光センサ。
【請求項7】
前記レンズユニットは、一対の前記第1支柱および一対の前記第2支柱を有し、
前記回路基板は、前記一対の前記第1支柱が挿通される一対の前記孔部と、前記一対の前記第2支柱が当接される一対の前記被当接部とを有し、
前記第1面と直交する方向から見て、前記一対の孔部同士を結ぶ直線と、前記一対の被当接部同士を結ぶ直線とが、互いに交差している、請求項1に記載の光センサ。
【請求項8】
前記第1支柱は、前記第1面に当接する当接面を有する、請求項7に記載の光センサ。
【請求項9】
前記第1支柱は、前記当接面よりも内側に配置され、前記孔部に挿通される挿通部を有する、請求項8に記載の光センサ。
【請求項10】
画像を形成する画像形成部と、
前記画像形成部によって形成された前記画像に光を照射し、所定の特性を検出する請求項1に記載の光センサと、
を備える、画像形成装置。
発明の詳細な説明
【技術分野】
【0001】
本開示は、光センサおよびこれを備えた画像形成装置に関する。
続きを表示(約 1,900 文字)
【背景技術】
【0002】
測定対象物に照射する測定光を発する発光素子と、前記測定光の反射光を受光する受光素子とを備える光センサが知られている。当該光センサは、例えばタンデム型の画像形成装置の中間転写ベルトに形成される、トナー濃度や色ずれ計測のためのパッチ画像の検出に用いられる。特許文献1には、パッチ画像からの正反射光を検出するための発光素子および受光素子と、これらの素子との間で光を受け渡すレンズ部とを備えた光センサが開示されている。発光素子および受光素子は、回路基板に搭載されている。
【先行技術文献】
【特許文献】
【0003】
特開2021-128983号公報
【発明の概要】
【発明が解決しようとする課題】
【0004】
上記の光センサでは、発光素子および受光素子に対するレンズの位置が安定せず、センシング性能にばらつきが生じることがある。
【0005】
本開示の目的は、発光素子および受光素子に対するレンズの位置を安定させ、センシング性能のばらつきを抑制することが可能な光センサを提供することにある。
【課題を解決するための手段】
【0006】
本開示の一の局面に係る光センサは、第1面と前記第1面とは反対側の第2面とを有する回路基板と、前記回路基板の前記第1面上に設けられた発光素子および受光素子と、前記発光素子および前記受光素子との光路間に位置するレンズ部と、前記レンズ部から前記回路基板に向かって延びる第1支柱および第2支柱とを含むレンズユニットと、前記回路基板の前記第2面上に搭載された電子部品と、を備え、前記回路基板は、少なくとも前記第1面に開口され前記第1支柱が挿通される孔部と、前記第1面上において前記回路基板の厚さ方向に沿って前記第2支柱が当接される被当接部とを有し、前記電子部品は、前記第2面のうち前記被当接部の裏面に対応する領域に配置されている。
【0007】
本開示の他の局面に係る画像形成装置は、画像を形成する画像形成部と、前記画像形成部によって形成された前記画像に光を照射し、所定の特性を検出する上記に記載の光センサと、を備える。
【発明の効果】
【0008】
本開示によれば、発光素子および受光素子に対するレンズの位置を安定させ、センシング性能のばらつきを抑制することが可能な光センサを提供することができる。
【図面の簡単な説明】
【0009】
図1は、本開示の光センサが適用されるカラープリンターの内部構造を概略的に示す断面図である。
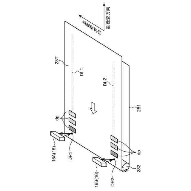
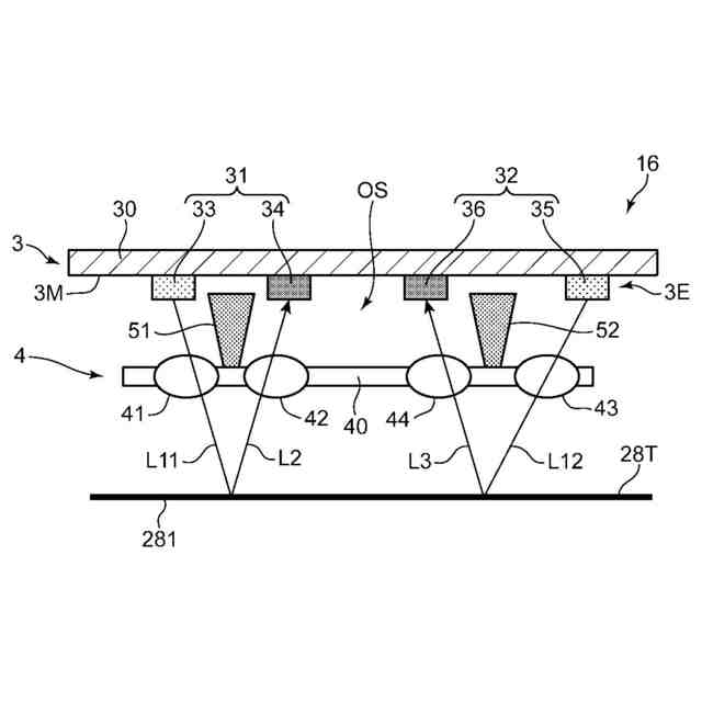
図2は、光センサの一例である濃度センサの配置例を示す斜視図である。
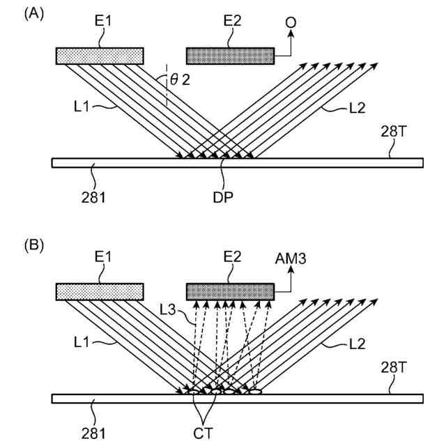
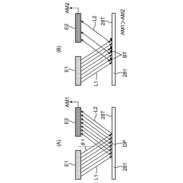
図3(A)および(B)は、黒トナーの検出原理を示す模式図である。
図4(A)および(B)は、カラートナーの検出原理を示す模式図である。
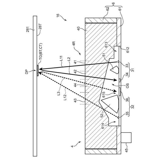
図5は、本開示の一実施形態に係る光センサの一部を示す断面図である。
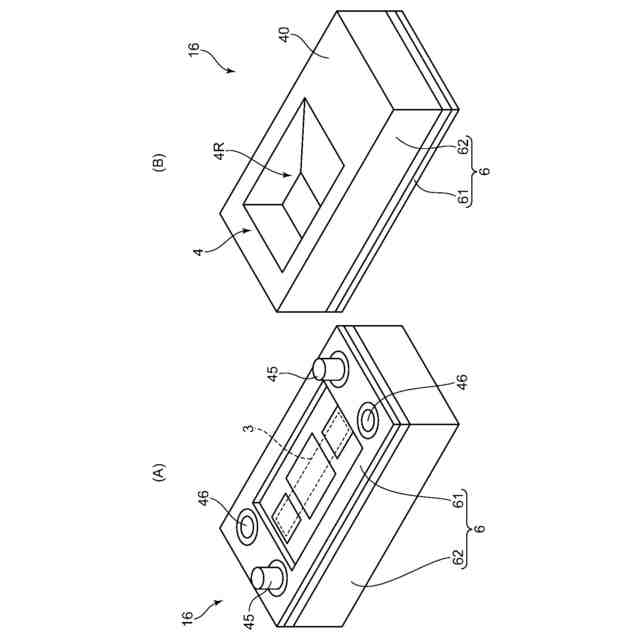
図6(A)および(B)は、本開示の一実施形態に係る光センサの一部の外観を示す斜視図である。
図7(A)は、図6に示す光センサの一部の上面図、図7(B)は底面図、図7(C)は側面図である。
図8(A)は、本開示の一実施形態に係る光センサの筐体底板の下面視の斜視図、図8(B)は、筐体底板の上面視の斜視図である。
図9は、図7(B)のIX-IX線断面図である。
図10は、図8(B)のX-X線断面図であって、センサ基板の装着前の状態を示す図である。
図11は、本開示の一実施形態に係る光センサの回路基板の平面図である。
図12は、本開示の一実施形態に係る光センサの回路基板の側面図である。
図13は、本開示の変形実施形態に係る光センサの回路基板の平面図である。
【発明を実施するための形態】
【0010】
以下、本開示の光センサについて、図面を参照して詳細に基づいて説明する。本開示の光センサは、測定光を測定対象物に照射し、その反射光を受光することで、当該測定対象物の物理特性を計測するモジュールである。測定対象物には特に制限はなく、固体、半固体、液体、粉体などが対象となり得る。測定する物理特性についても、反射光から解析し得る限りにおいて特に制限はない。例えば、測定対象物の色や濃度の計測に、本開示の光センサは好適である。以下で説明する実施形態では、カラープリンターに対し、画像形成用のトナーの濃度検出用に組み付けられる光センサを例示する。
(【0011】以降は省略されています)
この特許をJ-PlatPat(特許庁公式サイト)で参照する
関連特許
京セラ株式会社
振動検出方法
11日前
京セラ株式会社
アイソレータ
10日前
京セラ株式会社
光センサモジュール
26日前
京セラ株式会社
光センサモジュール
26日前
京セラ株式会社
印刷装置及び印刷方法
1か月前
京セラ株式会社
差動信号フィルタデバイス
18日前
京セラ株式会社
差動信号フィルタデバイス
18日前
京セラ株式会社
弾性波装置および通信装置
3日前
京セラ株式会社
端子、端子部材および電気機器
26日前
京セラ株式会社
端子、端子部材および電気機器
24日前
京セラ株式会社
配線基板及びLEDモジュール
1か月前
京セラ株式会社
積層セラミック電子部品の製造方法
10日前
京セラ株式会社
電子機器、制御方法、及びプログラム
11日前
京セラ株式会社
分析システム、分析装置、及び分析方法
1か月前
京セラ株式会社
光センサおよびこれを備えた画像形成装置
26日前
京セラ株式会社
VMD支援システム、サーバ装置、及び通信方法
1か月前
京セラ株式会社
行動検出システム、サーバ装置、及び行動検出方法
1か月前
京セラ株式会社
被覆層付き金属部材
12日前
京セラ株式会社
液滴吐出ヘッドおよび記録装置
10日前
京セラ株式会社
半導体レーザデバイスの製造方法
26日前
京セラ株式会社
チップ状電子部品、チップ状電子部品の製造方法、及びチップ状電子部品の実装方法
24日前
京セラ株式会社
表示装置、結像装置、表示システムおよび車両
26日前
京セラ株式会社
積層セラミックコンデンサおよびその実装構造体
7日前
富士通株式会社
情報処理プログラム、情報処理方法、および情報処理装置
5日前
京セラ株式会社
表示装置、表示システム、車両及び表示パネル収容装置
18日前
京セラ株式会社
電力管理システム、表示装置、電力管理方法、及びプログラム
3日前
京セラ株式会社
電気化学セル、電気化学セル装置、モジュールおよびモジュール収容装置
26日前
株式会社オーガンテック
再生毛包原基の製造に使用するための上皮由来細胞
10日前
京セラ株式会社
情報処理システム、情報処理システムの制御方法、制御プログラム、記録媒体
18日前
京セラ株式会社
情報処理装置、ロボットコントローラ、情報処理システム、及び情報処理方法
24日前
24エム・テクノロジーズ・インコーポレイテッド
高活性固体ローディングを有する半固体電極、及びそれを含む電気化学セルを形成するための装置及びプロセス
12日前
個人
積和演算用集積回路
1か月前
サンケン電気株式会社
半導体装置
1か月前
旭化成株式会社
発光素子
1か月前
日機装株式会社
半導体発光装置
26日前
ローム株式会社
抵抗チップ
1か月前
続きを見る
他の特許を見る