TOP
|
特許
|
意匠
|
商標
特許ウォッチ
Twitter
他の特許を見る
10個以上の画像は省略されています。
公開番号
2025168107
公報種別
公開特許公報(A)
公開日
2025-11-07
出願番号
2024073243
出願日
2024-04-26
発明の名称
行動検出システム、サーバ装置、及び行動検出方法
出願人
京セラ株式会社
代理人
弁理士法人キュリーズ
主分類
G06Q
30/06 20230101AFI20251030BHJP(計算;計数)
要約
【課題】顧客と店員の商品に対する行動を漏らすことなく検出することが可能な行動検出システム、サーバ装置、及び行動検出方法を提供する。
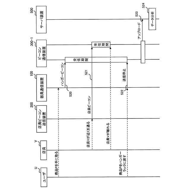
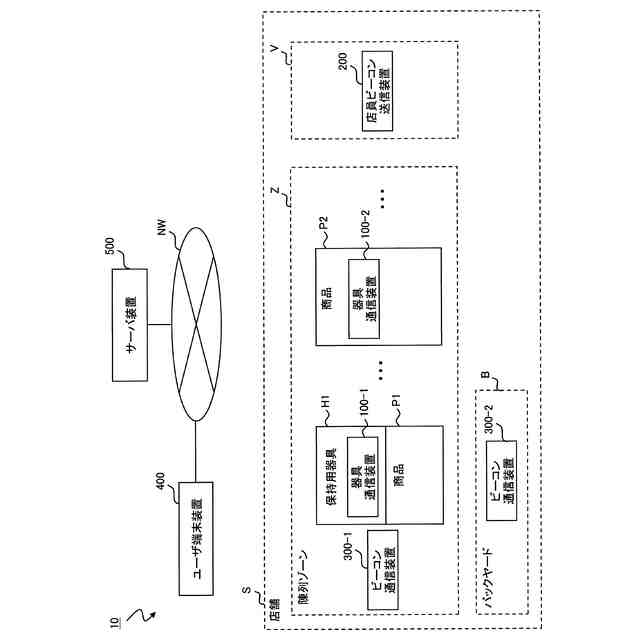
【解決手段】一態様の行動検出システムは、商品を保持する保持用器具及び商品のいずれかに取り付けられた器具通信装置と、店員が携帯する携帯用の店員ビーコン送信装置と、ビーコン通信装置と、サーバ装置とを有する行動検出システムである。前記行動検出システムにおいて、ビーコン通信装置は、器具通信装置から送信された第1ビーコンを受信し、店員ビーコン送信装置から送信された第2ビーコンを受信し、第1ビーコンの受信期間を表す第1受信期間と、第2ビーコンの受信期間を表す第2受信期間とを、サーバ装置へ送信する。また、前記行動検出システムにおいて、サーバ装置は、第1受信期間と前記第2受信期間とに基づいて、店員及び/又はユーザの行動を検出する。
【選択図】図8
特許請求の範囲
【請求項1】
商品を保持する保持用器具及び前記商品のいずれかに取り付けられた器具通信装置と、
店員が携帯する携帯用の店員ビーコン送信装置と、
ビーコン通信装置と、
サーバ装置と、を有する行動検出システムであって、
前記ビーコン通信装置は、前記器具通信装置から送信された第1ビーコンを受信し、前記店員ビーコン送信装置から送信された第2ビーコンを受信し、前記第1ビーコンの受信期間を表す第1受信期間と、前記第2ビーコンの受信期間を表す第2受信期間とを、前記サーバ装置へ送信し、
前記サーバ装置は、前記第1受信期間と前記第2受信期間とに基づいて、前記店員及び/又はユーザの行動を検出する
行動検出システム。
続きを表示(約 1,700 文字)
【請求項2】
前記サーバ装置は、前記ビーコン通信装置において、前記第1受信期間の開始時刻と前記第2受信期間の開始時刻とが同一であること、及び前記第1受信期間の開始時刻と前記第2受信期間の開始時刻との差が一定の範囲内であることのいずれかを検出したとき、前記店員が前記商品を保持していることを検出する
請求項1記載の行動検出システム。
【請求項3】
前記サーバ装置は、前記第1受信期間の時間的な長さに対する前記第2受信期間の時間的な長さの割合が第1閾値未満のとき、前記ユーザが前記商品を保持していることを検出する
請求項1記載の行動検出システム。
【請求項4】
前記ユーザが所持するユーザ端末装置を更に有し、
前記ユーザ端末装置は、前記第1ビーコンを受信し、前記第1ビーコンの受信期間を表す第3受信期間を前記サーバ装置へ送信し、
前記サーバ装置は、少なくとも前記第3受信期間に基づいて、前記店員及び/又はユーザの行動を検出する
請求項1記載の行動検出システム。
【請求項5】
前記第3受信期間の時間的な長さが第2閾値以上のとき、前記ユーザが前記商品を保持することを検出する
請求項4記載の行動検出システム。
【請求項6】
前記ビーコン通信装置は、第1地点に設置された第1ビーコン通信装置及び第2地点に設置された第2ビーコン通信装置を含み、
前記第1ビーコン通信装置及び前記第2ビーコン通信装置は、前記第1ビーコン及び前記第2ビーコンを受信し、前記第1ビーコン及び前記第2ビーコンの受信期間を前記サーバ装置へ送信し、
前記サーバ装置は、前記第1ビーコン通信装置が前記第1ビーコン及び前記第2ビーコンを受信した受信期間が第1時間帯に含まれ、前記第2ビーコン通信装置が前記第1ビーコン及び前記第2ビーコンを受信した受信期間が第2時間帯に含まれ、かつ、前記第3受信期間が第3閾値未満のとき、前記店員が前記商品の配置換えを行っていることを検出する
請求項4記載の行動検出システム。
【請求項7】
前記サーバ装置は、前記第1受信期間の時間的な長さ及び前記第2受信期間の時間的な長さが第4閾値以上の期間であって同一の第3時間帯に含まれ、かつ、前記第3受信期間の時間的な長さが前記第3時間帯において第5閾値以上の期間であるとき、前記店員が前記ユーザに前記商品を提案していることを検出する
請求項4記載の行動検出システム。
【請求項8】
前記第1ビーコンには前記器具通信装置の移動に伴う加速度を表す第1加速度情報が含まれ、前記第2ビーコンには前記店員ビーコン送信装置の移動に伴う加速度を表す第2加速度情報が含まれ、
前記ビーコン通信装置は、前記第1加速度情報と前記第2加速度情報を前記サーバ装置へ送信し、
前記サーバ装置は、少なくとも前記第1加速度情報と前記第2加速度情報とに基づいて、前記店員及び/又はユーザの行動を検出する
請求項1に記載の行動検出システム。
【請求項9】
前記サーバ装置は、前記ビーコン通信装置において、前記第1ビーコンと前記第2ビーコンとを同一時刻に受信したこと、及び前記第1ビーコンと前記第2ビーコンの受信時間の差が一定の範囲内であることのいずれかを検出したこと、かつ、前記第1加速度情報と前記第2加速度情報とが所定範囲内にあるとき、前記店員が前記商品を保持していることを検出する
請求項2及び請求項8に記載の行動検出システム。
【請求項10】
前記サーバ装置は、前記第1受信期間の時間的な長さに対する前記第2受信期間の時間的な長さの割合が第1閾値未満であり、かつ、前記第1加速度情報と前記第2加速度情報とが所定範囲内にないとき、前記ユーザが前記商品を保持していることを検出する
請求項3及び請求項8に記載の行動検出システム。
(【請求項11】以降は省略されています)
発明の詳細な説明
【技術分野】
【0001】
本発明は、行動検出システム、サーバ装置、及び行動検出方法に関する。
続きを表示(約 1,900 文字)
【背景技術】
【0002】
従来から、店舗内で販売される商品に対する店員又は顧客の動作を検出するシステムがある。例えば、以下のような技術がある。
【0003】
すなわち、商品の取り出し動作を検出するタグと、タグから送信された信号を受信することで店員による商品の取り出し動作の回数を取得する店員用の端末装置と、商品の取り出し動作の全回数をタグから受信し、店員の取り出し動作の回数を店員用の端末装置から受信し、全回数から店員の取り出し動作の回数を減算することで、顧客の取り出し動作の回数を算出するサーバとを備える購買意識調査システムがある(例えば、以下の特許文献1)。
【0004】
また、商品に取り付けられた第1の無線タグと、店員が携帯する第2の無線タグと、第2の無線タグから送信された店員用のIDを検出している間は、第1の無線タグに対する問い合わせを停止する、又は第1の無線タグからの信号を破棄する質問器とを有する商品管理システムがある(例えば、以下の特許文献2)。
【先行技術文献】
【特許文献】
【0005】
特許第6444216号公報
特開2011-65455号公報
【発明の概要】
【発明が解決しようとする課題】
【0006】
上述した購買意識調査システムでは店員用の端末装置を店員に持たせることになるため、コストがかかる場合がある。一方、上述した商品管理システムでは、店員が第2の無線タグを携帯するため、購買意識調査システムで用いられる店員用の端末装置と比較してコスト増を抑えることができる。しかしながら、上述した商品管理システムでは、店員用のIDを検出している間、商品に取り付けられた第1の無線タグからの信号を破棄するため、例えば、店員の近くにいる顧客の動作を検出することができない場合がある。従って、上述した商品管理システムでは、顧客と店員の商品に対する行動を検出することができない場合がある。
【0007】
そこで、本開示は、顧客と店員の商品に対する行動を漏らすことなく検出することが可能な行動検出システム、サーバ装置、及び行動検出方法を提供することを目的とする。
【課題を解決するための手段】
【0008】
第1の態様に係る行動検出システムは、商品を保持する保持用器具及び商品のいずれかに取り付けられた器具通信装置と、店員が携帯する携帯用の店員ビーコン送信装置と、ビーコン通信装置と、サーバ装置とを有する行動検出システムである。前記行動検出システムにおいて、ビーコン通信装置は、器具通信装置から送信された第1ビーコンを受信し、店員ビーコン送信装置から送信された第2ビーコンを受信し、第1ビーコンの受信期間を表す第1受信期間と、第2ビーコンの受信期間を表す第2受信期間とを、サーバ装置へ送信する。また、前記行動検出システムにおいて、サーバ装置は、第1受信期間と前記第2受信期間とに基づいて、店員及び/又はユーザの行動を検出する。
【0009】
第2の態様に係るサーバ装置は、商品を保持する保持用器具及び前商品のいずれかに取り付けられた器具通信装置から送信された第1ビーコンをビーコン通信装置が受信したときの受信期間を表す第1受信期間と、店員が携帯する携帯用の店員ビーコン送信装置から送信された第2ビーコンをビーコン通信装置が受信したときの受信期間を表す第2受信期間とを、ビーコン通信装置から受信する通信部を有する。また、前記サーバ装置は、第1受信期間と第2受信期間とに基づいて、店員及び/又はユーザの行動を検出する制御部と、を有する。
【0010】
第3の態様に係る通信方法は、商品を保持する保持用器具及び商品のいずれかに取り付けられた器具通信装置と、店員が携帯する携帯用の店員ビーコン送信装置と、ビーコン通信装置と、サーバ装置と、を有する行動検出システムにおける行動検出方法である。前記行動検出方法は、ビーコン通信装置が、器具通信装置から送信された第1ビーコンを受信し、店員ビーコン送信装置から送信された第2ビーコンを受信し、第1ビーコンの受信期間を表す第1受信期間と、第2ビーコンの受信期間を表す第2受信期間とを、サーバ装置へ送信するステップを有する。また、前記行動検出方法は、サーバ装置が、第1受信期間と第2受信期間とに基づいて、店員及び/又はユーザの行動を検出するステップとを有する。
【発明の効果】
(【0011】以降は省略されています)
この特許をJ-PlatPat(特許庁公式サイト)で参照する
関連特許
京セラ株式会社
光学系
1か月前
京セラ株式会社
配線基板
1か月前
京セラ株式会社
蓄電装置
2か月前
京セラ株式会社
配線基板
1か月前
京セラ株式会社
振動検出方法
11日前
京セラ株式会社
粒子分離装置
2か月前
京セラ株式会社
アイソレータ
10日前
京セラ株式会社
センサシステム
2か月前
京セラ株式会社
静圧気体軸受装置
1か月前
京セラ株式会社
光センサモジュール
26日前
京セラ株式会社
光センサモジュール
26日前
京セラ株式会社
予測装置及び予測方法
1か月前
京セラ株式会社
配線基板及び電子装置
2か月前
京セラ株式会社
印刷装置及び印刷方法
1か月前
京セラ株式会社
走査装置及び制御装置
1か月前
京セラ株式会社
走査装置及び制御装置
1か月前
京セラ株式会社
配線基板及び電子装置
2か月前
京セラ株式会社
コネクタ及び取付方法
2か月前
京セラ株式会社
流路デバイスの準備方法
2か月前
京セラ株式会社
積層セラミック電子部品
1か月前
京セラ株式会社
太陽電池付きカーポート
1か月前
京セラ株式会社
太陽電池付きカーポート
1か月前
京セラ株式会社
弾性波装置および通信装置
3日前
京セラ株式会社
差動信号フィルタデバイス
18日前
京セラ株式会社
差動信号フィルタデバイス
18日前
京セラ株式会社
受電装置及び光給電システム
2か月前
京セラ株式会社
取付部材及びヘッド取付方法
2か月前
京セラ株式会社
電磁波検出装置及び制御装置
1か月前
京セラ株式会社
端子、端子部材および電気機器
26日前
京セラ株式会社
配線基板及びLEDモジュール
1か月前
京セラ株式会社
端子、端子部材および電気機器
24日前
京セラ株式会社
光集積回路及び光トランシーバ
1か月前
京セラ株式会社
電子デバイス及び電子モジュール
1か月前
京セラ株式会社
フィルタデバイスおよび通信装置
2か月前
京セラ株式会社
光センサおよび光センサの製造方法
1か月前
京セラ株式会社
積層セラミック電子部品の製造方法
10日前
続きを見る
他の特許を見る