TOP
|
特許
|
意匠
|
商標
特許ウォッチ
Twitter
他の特許を見る
10個以上の画像は省略されています。
公開番号
2025169006
公報種別
公開特許公報(A)
公開日
2025-11-12
出願番号
2024073947
出願日
2024-04-30
発明の名称
端子、端子部材および電気機器
出願人
京セラ株式会社
代理人
弁理士法人 HARAKENZO WORLD PATENT & TRADEMARK
主分類
H01R
13/03 20060101AFI20251105BHJP(基本的電気素子)
要約
【課題】電気抵抗が低下した端子を実現する。
【解決手段】端子(1)は、コア材(10a)と、コア材を被覆する第1被覆材(10b)と、を有するリードピン(10)と、リードピンに接合されている金属板(20)と、を備え、コア材の電気伝導度は、第1被覆材の電気伝導度よりも高く、コア材は、第1被覆材から露出する露出部(31)を有しており、金属板は、露出部に接合されている。
【選択図】図3
特許請求の範囲
【請求項1】
コア材と、該コア材を被覆する第1被覆材と、を有するリードピンと、
前記リードピンに接合されている金属板と、を備え、
前記コア材の電気伝導度は、前記第1被覆材の電気伝導度よりも高く、
前記コア材は、前記第1被覆材から露出する露出部を有しており、
前記金属板は、前記露出部に接合されている、端子。
続きを表示(約 610 文字)
【請求項2】
前記露出部は、前記リードピンの長手方向に沿う第1面を有する、請求項1に記載の端子。
【請求項3】
前記露出部は、前記リードピンの長手方向に垂直な第2面をさらに有し、前記金属板と前記第2面とは、間隔を空けている、請求項2に記載の端子。
【請求項4】
前記露出部は、前記リードピンの先端部に位置している、請求項1に記載の端子。
【請求項5】
前記先端部は、前記リードピンの長手方向に対して傾斜している先端面を有している、請求項4に記載の端子。
【請求項6】
前記金属板は、さらに前記第1被覆材にも接合されている、請求項1に記載の端子。
【請求項7】
前記第1被覆材の、前記金属板が接合されている部位の厚みは、前記金属板が接合されていない部位の厚みと比較して薄い、請求項6に記載の端子。
【請求項8】
前記金属板と前記露出部とは、溶接により接合されている、請求項1に記載の端子。
【請求項9】
前記金属板と前記露出部とは、導電性接合材により接合されている、請求項1に記載の端子。
【請求項10】
前記金属板は、前記第1被覆材にも接合されており、
前記金属板と前記第1被覆材とは、溶接により接合されている、請求項9に記載の端子。
(【請求項11】以降は省略されています)
発明の詳細な説明
【技術分野】
【0001】
本開示は、端子、当該端子を備える端子部材、および当該端子部材を備える電気機器に関する。
続きを表示(約 1,100 文字)
【背景技術】
【0002】
特許文献1には、銅の芯材とFe-Cr合金のジャケット材とからなる複合金属材で構成された導電ピンを備える端子が開示されている。
【先行技術文献】
【特許文献】
【0003】
WO2017/006881
【発明の概要】
【発明が解決しようとする課題】
【0004】
本開示の一態様は、電気抵抗が低下した端子などを実現する。
【課題を解決するための手段】
【0005】
上記の課題を解決するために、本開示の一態様に係る端子は、コア材と、該コア材を被覆する第1被覆材と、を有するリードピンと、前記リードピンに接合されている金属板と、を備え、前記コア材の電気伝導度は、前記第1被覆材の電気伝導度よりも高く、前記コア材は、前記第1被覆材から露出する露出部を有しており、前記金属板は、前記露出部に接合されている。
【発明の効果】
【0006】
本開示の一態様によれば、電気抵抗が低下した端子などを実現できる。
【図面の簡単な説明】
【0007】
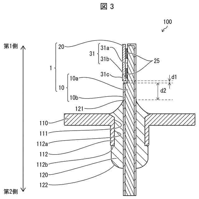
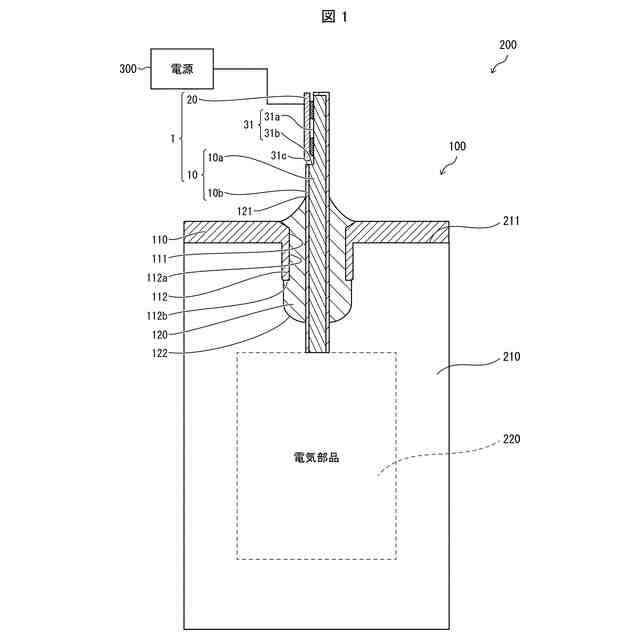
本開示の実施形態1に係る電気機器の概略を示す図である。
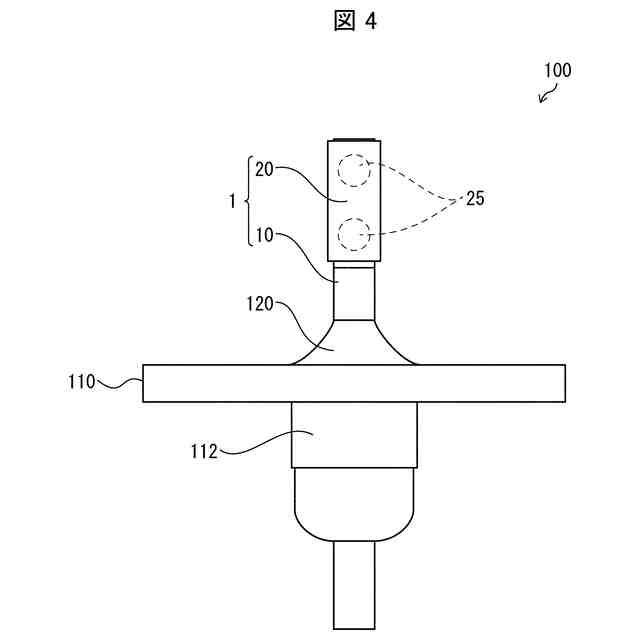
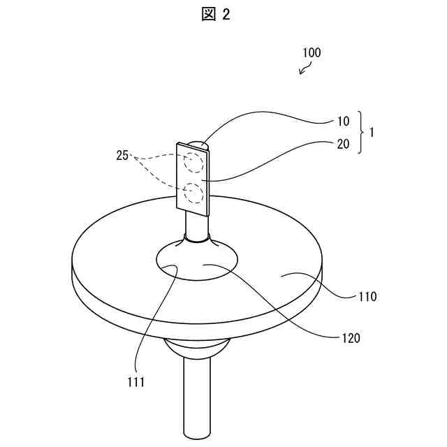
本開示の実施形態1に係る端子部材を例示する斜視図である。
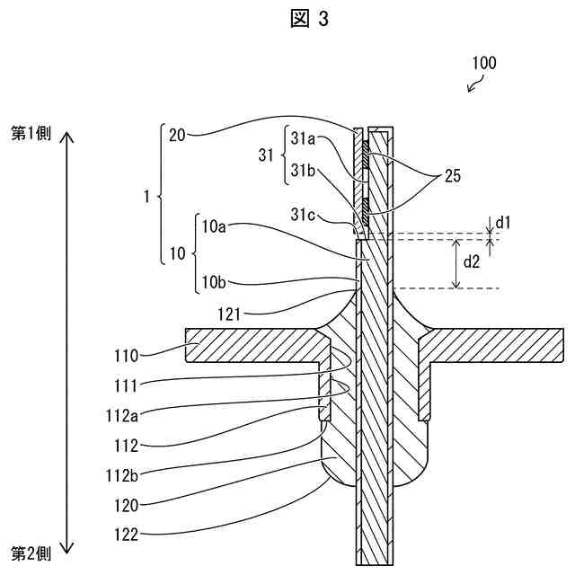
本開示の実施形態1に係る端子部材を例示する断面図である。
本開示の実施形態1に係る端子部材を例示する正面図である。
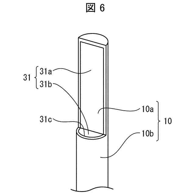
本開示の実施形態1に係る端子部材を例示する側面図である。
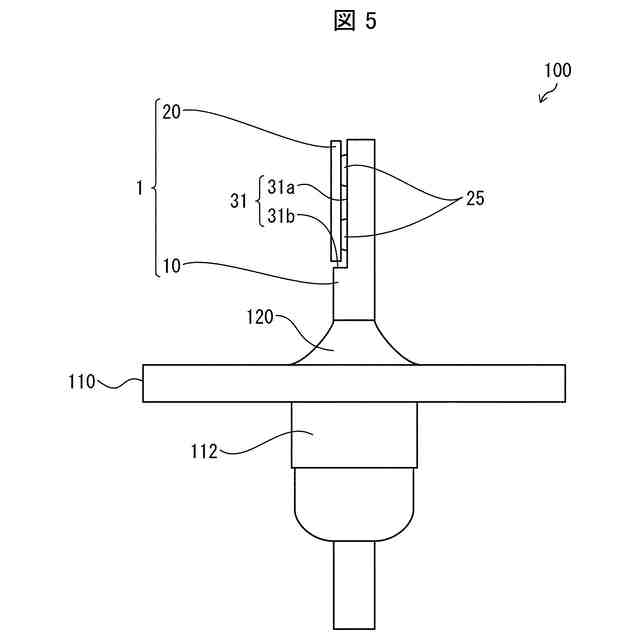
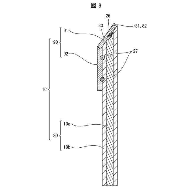
露出部を例示する斜視図である。
本開示の実施形態2に係る端子部材を例示する断面図である。
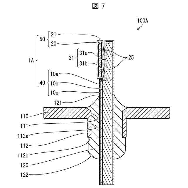
本開示の実施形態3に係る端子部材を例示する断面図である。
本開示の実施形態4に係る端子部材を例示する断面図である。
【発明を実施するための形態】
【0008】
〔実施形態1〕
以下、本開示の一実施形態について、詳細に説明する。
【0009】
(電気機器)
図1は、本開示の実施形態1に係る電気機器200の概略を示す図である。電気機器200は、電源300から供給される電力により駆動される機器である。電気機器200は、電気製品に搭載される機器であってもよく、例えば空気調和機または冷蔵庫などに搭載される圧縮機であってもよい。電気機器200の種類は特に限定されない。図1に示すように、電気機器200は、端子部材100と、箱体210と、電気部品220と、を備える。
【0010】
電気部品220は、電気機器200を構成する部品である。電気機器200が圧縮機である場合、電気部品220は、空気を圧縮する機能を有する部品である。
(【0011】以降は省略されています)
この特許をJ-PlatPat(特許庁公式サイト)で参照する
関連特許
京セラ株式会社
光学系
1か月前
京セラ株式会社
配線基板
1か月前
京セラ株式会社
配線基板
1か月前
京セラ株式会社
蓄電装置
1か月前
京セラ株式会社
弾性波装置
2か月前
京セラ株式会社
粒子分離装置
1か月前
京セラ株式会社
振動検出方法
10日前
京セラ株式会社
アイソレータ
9日前
京セラ株式会社
センサシステム
2か月前
京セラ株式会社
静圧気体軸受装置
1か月前
京セラ株式会社
光センサモジュール
25日前
京セラ株式会社
太陽電池モジュール
2か月前
京セラ株式会社
光センサモジュール
25日前
京セラ株式会社
予測装置及び予測方法
1か月前
京セラ株式会社
コネクタ及び取付方法
2か月前
京セラ株式会社
走査装置及び制御装置
1か月前
京セラ株式会社
走査装置及び制御装置
1か月前
京セラ株式会社
配線基板及び電子装置
2か月前
京セラ株式会社
印刷装置及び印刷方法
1か月前
京セラ株式会社
配線基板及び電子装置
2か月前
京セラ株式会社
積層セラミック電子部品
1か月前
京セラ株式会社
太陽電池付きカーポート
1か月前
京セラ株式会社
太陽電池付きカーポート
1か月前
京セラ株式会社
流路デバイスの準備方法
2か月前
京セラ株式会社
発光装置および照明装置
2か月前
京セラ株式会社
差動信号フィルタデバイス
17日前
京セラ株式会社
弾性波装置および通信装置
2日前
京セラ株式会社
差動信号フィルタデバイス
17日前
京セラ株式会社
電磁波検出装置及び制御装置
1か月前
京セラ株式会社
受電装置及び光給電システム
2か月前
京セラ株式会社
取付部材及びヘッド取付方法
2か月前
京セラ株式会社
配線基板及びLEDモジュール
1か月前
京セラ株式会社
端子、端子部材および電気機器
25日前
京セラ株式会社
光集積回路及び光トランシーバ
1か月前
京セラ株式会社
液体吐出ヘッドおよび記録装置
2か月前
京セラ株式会社
端子、端子部材および電気機器
23日前
続きを見る
他の特許を見る