TOP
|
特許
|
意匠
|
商標
特許ウォッチ
Twitter
他の特許を見る
10個以上の画像は省略されています。
公開番号
2025140319
公報種別
公開特許公報(A)
公開日
2025-09-29
出願番号
2024039653
出願日
2024-03-14
発明の名称
発光装置および照明装置
出願人
京セラ株式会社
代理人
個人
,
個人
,
個人
,
個人
主分類
H10H
20/854 20250101AFI20250919BHJP()
要約
【課題】波長変換部材の温度上昇を緩和させる。
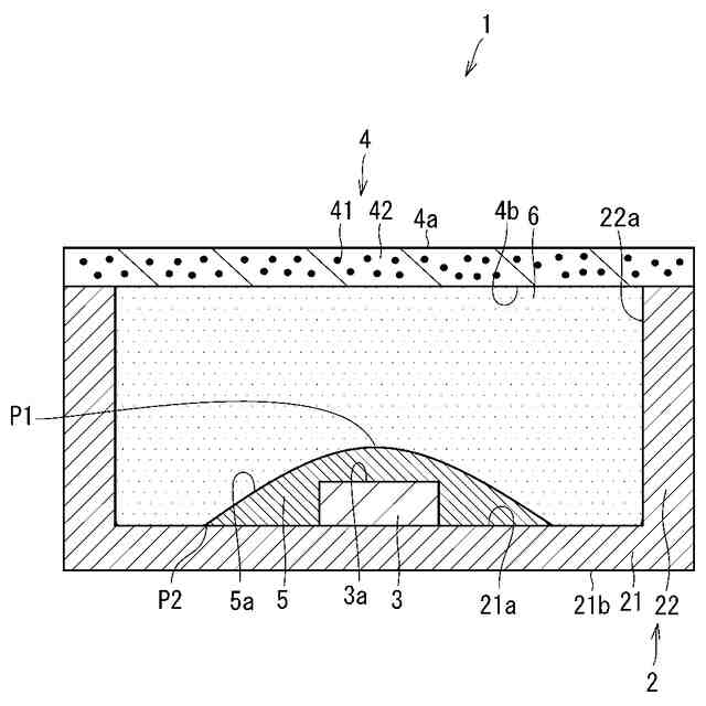
【解決手段】発光装置は、筐体と、発光素子と、波長変換部材と、第1透光部と、第2透光部とを備える。筐体は、底部と、側壁とを有する。発光装置は、側壁に囲まれた状態で底部に位置しており、励起光を発する。波長変換部材は、発光素子に対して底部とは逆側に位置しており、励起光に基づいて蛍光を発する。第1透光部は、発光素子と波長変換部材との間に位置し、筐体の熱伝導率よりも低い熱伝導率を有する。第2透光部は、第1透光部と波長変換部材との間に位置し、第1透光部の熱伝導率よりも高い熱伝導率を有する。
【選択図】図2
特許請求の範囲
【請求項1】
底部と側壁とを有する筐体と、
前記側壁に囲まれた状態で前記底部に位置しており、励起光を発する発光素子と、
前記発光素子に対して前記底部とは逆側に位置しており、前記励起光に基づいて蛍光を発する波長変換部材と、
前記発光素子と前記波長変換部材との間に位置し、前記筐体の熱伝導率よりも低い熱伝導率を有する第1透光部と、
前記第1透光部と前記波長変換部材との間に位置し、前記第1透光部の熱伝導率よりも高い熱伝導率を有する第2透光部と
を備える、発光装置。
続きを表示(約 770 文字)
【請求項2】
請求項1に記載の発光装置であって、
前記第2透光部は液体を含む、発光装置。
【請求項3】
請求項2に記載の発光装置であって、
前記液体は水、エチレングリコールおよびグリセリンの少なくともいずれかを含む、発光装置。
【請求項4】
請求項2または請求項3に記載の発光装置であって、
前記第1透光部は固体を含み、前記液体から前記発光素子を封止した状態で位置している、発光装置。
【請求項5】
請求項2または請求項3に記載の発光装置であって、
前記第1透光部は固体を含み、前記発光素子の全体を覆う、発光装置。
【請求項6】
請求項1から請求項3のいずれか一つに記載の発光装置であって、
前記第2透光部は、前記側壁の内周面に接する、発光装置。
【請求項7】
請求項1から請求項3のいずれか一つに記載の発光装置であって、
前記第1透光部は、前記側壁の内周面に接する、発光装置。
【請求項8】
請求項1から請求項3のいずれか一つに記載の発光装置であって、
前記第2透光部は、前記第1透光部、前記側壁および前記波長変換部材によって囲まれた空間に充填される、発光装置。
【請求項9】
請求項1から請求項3のいずれか一つに記載の発光装置であって、
前記第2透光部の体積は前記第1透光部の体積よりも大きい、発光装置。
【請求項10】
請求項1から請求項3のいずれか一つに記載の発光装置であって、
前記第1透光部の屈折率は、前記発光素子の屈折率と前記第2透光部の屈折率との間の値である、発光装置。
(【請求項11】以降は省略されています)
発明の詳細な説明
【技術分野】
【0001】
本開示は、発光装置および照明装置に関する。
続きを表示(約 1,300 文字)
【背景技術】
【0002】
特許文献1,2には、照明装置に関する技術が記載されている。
【先行技術文献】
【特許文献】
【0003】
特開2019-79934号公報
特開2008-4690号公報
【発明の概要】
【発明が解決しようとする課題】
【0004】
波長変換部材の温度上昇の緩和という観点で改善の余地がある。
【課題を解決するための手段】
【0005】
発光装置が開示される。
【0006】
一実施形態において、発光装置は、筐体と、発光素子と、波長変換部材と、第1透光部と、第2透光部とを備える。筐体は、底部と側壁とを有する。発光装置は、側壁に囲まれた状態で底部に位置しており、励起光を発する。波長変換部材は、発光素子に対して底部とは逆側に位置しており、励起光に基づいて蛍光を発する。第1透光部は、発光素子と波長変換部材との間に位置し、筐体の熱伝導率よりも低い熱伝導率を有する。第2透光部は、第1透光部と波長変換部材との間に位置し、第1透光部の熱伝導率よりも高い熱伝導率を有する。
【0007】
一実施の形態において、照明装置は、複数の発光装置を備える。
【発明の効果】
【0008】
波長変換部材の温度上昇を緩和させることができる。
【図面の簡単な説明】
【0009】
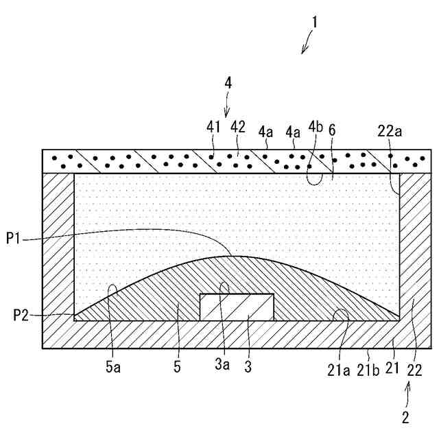
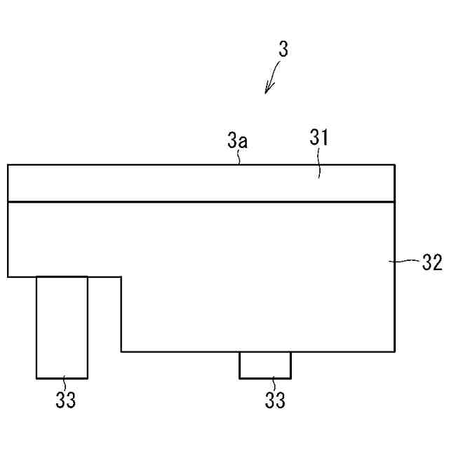
発光装置の構成の第1例を概略的に示す斜視図である。
発光装置の構成の第1例を概略的に示す断面図である。
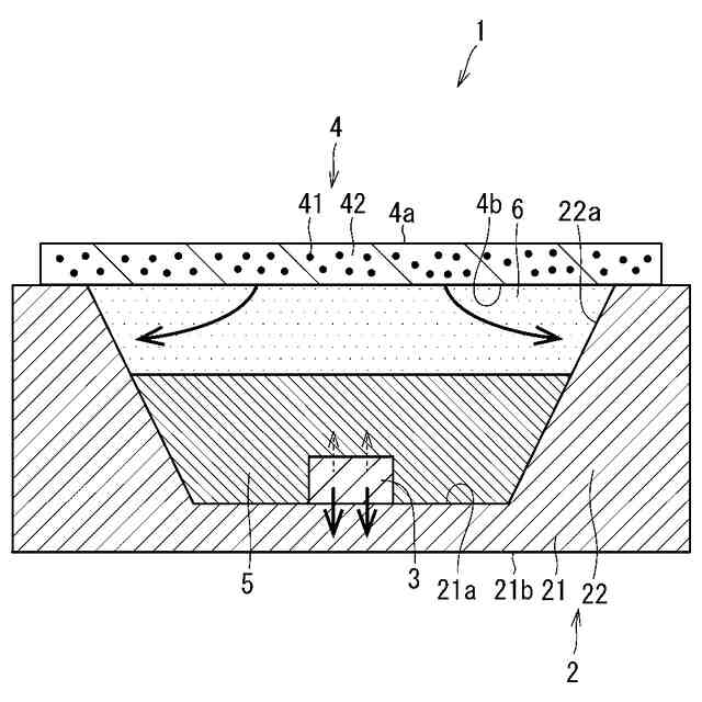
発光装置における熱の伝達を模式的に示す図である。
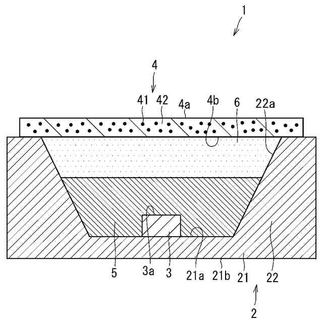
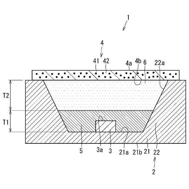
発光装置の構成の第2例を概略的に示す図である。
発光装置の構成の第3例を概略的に示す図である。
発光装置の構成の第4例を概略的に示す図である。
発光装置の構成の第5例を概略的に示す図である。
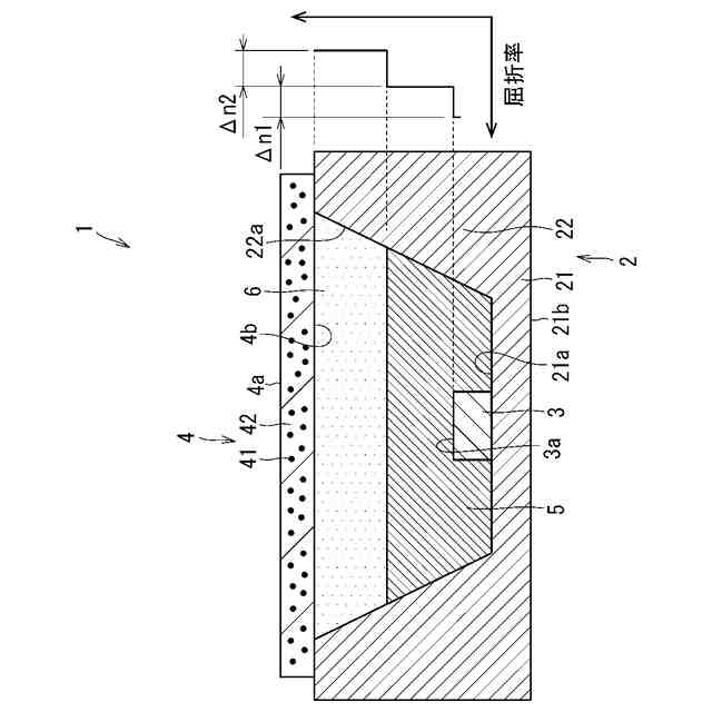
発光装置内の各部の屈折率の一例を模式的に示す図である。
発光素子の構成の一例を概略的に示す図である。
第2透光部のかわりに空気を適用した構造を有する発光装置を概略的に示す図である。
照明装置の構成の一例を概略的に示す図である。
【発明を実施するための形態】
【0010】
筐体と、LED(Light Emitting Diode)素子と、蛍光部材とを含む発光装置が知られている。筐体は凹部を有しており、LED素子は凹部内に位置している。蛍光部材は、板状の形状を有しており、筐体の凹部の開口を塞ぐ状態で位置する。蛍光部材は、板状の透明部材と、透明部材の内部に分散して位置する複数の蛍光体粒子とを含む。筐体の凹部の内部には、LED素子を覆う透明樹脂で充填され得る。LED素子から発せられた励起光は透明樹脂を透過し、蛍光部材に入射する。蛍光部材中の各蛍光体粒子は励起光を吸収し、蛍光を発する。蛍光は例えば照明光として外部空間に出射される。
(【0011】以降は省略されています)
この特許をJ-PlatPat(特許庁公式サイト)で参照する
関連特許
京セラ株式会社
刃物
1か月前
京セラ株式会社
二次電池
23日前
京セラ株式会社
弾性波装置
7日前
京セラ株式会社
センサシステム
今日
京セラ株式会社
太陽電池モジュール
16日前
京セラ株式会社
配線基板及び電子装置
今日
京セラ株式会社
配線基板及び電子装置
今日
京セラ株式会社
発光装置および照明装置
4日前
京セラ株式会社
骨モデルおよび表示システム
1か月前
京セラ株式会社
取付部材及びヘッド取付方法
1日前
京セラ株式会社
半導体装置及びその製造方法
23日前
京セラ株式会社
液体吐出ヘッドおよび記録装置
22日前
京セラ株式会社
電源制御装置及び電源制御方法
23日前
京セラ株式会社
電源制御装置及び電源制御方法
23日前
京セラ株式会社
電源制御装置及び電源制御方法
23日前
京セラ株式会社
フィルタデバイスおよび通信装置
今日
京セラ株式会社
液滴吐出ヘッドおよび液滴吐出装置
28日前
京セラ株式会社
情報処理装置及び学習モデル用データ生成方法
23日前
京セラ株式会社
多層基板、フィルタモジュール、および通信装置
4日前
京セラ株式会社
表示システム、表示制御装置及び表示制御プログラム
23日前
京セラ株式会社
表示システム、表示制御装置及び表示制御プログラム
23日前
京セラ株式会社
切削インサート、切削工具及び切削加工物の製造方法
22日前
国立研究開発法人産業技術総合研究所
光電子集積回路
1か月前
京セラ株式会社
膜付部材
1か月前
京セラ株式会社
疾患予測システム
22日前
京セラ株式会社
電気化学セル、電気化学セル装置、モジュールおよびモジュール収容装置
23日前
京セラ株式会社
認識モデル、情報処理システム、情報処理方法、及び認識モデル生成方法
15日前
京セラ株式会社
学習データ生成方法、学習済みモデル、情報処理装置、及び情報処理方法
1か月前
京セラ株式会社
提示システム、血中成分指標推定システム、提示方法、および制御プログラム
15日前
京セラ株式会社
液体吐出装置及び液体吐出方法
16日前
京セラ株式会社
電力管理装置及び電力管理方法
24日前
京セラ株式会社
情報処理装置及び情報処理方法
1か月前
京セラ株式会社
液滴吐出装置及びメンテナンス方法
1か月前
京セラ株式会社
電子機器、撮像装置、および移動体
1か月前
京セラ株式会社
半導体基板、半導体デバイスの製造方法
8日前
京セラ株式会社
通信制御方法、ユーザ装置及びプロセッサ
24日前
続きを見る
他の特許を見る