TOP
|
特許
|
意匠
|
商標
特許ウォッチ
Twitter
他の特許を見る
10個以上の画像は省略されています。
公開番号
2025179160
公報種別
公開特許公報(A)
公開日
2025-12-09
出願番号
2025146151,2023540379
出願日
2025-09-03,2022-08-03
発明の名称
ユーザ装置
出願人
京セラ株式会社
代理人
弁理士法人キュリーズ
主分類
H04W
4/06 20090101AFI20251202BHJP(電気通信技術)
要約
【課題】改善されたマルチキャストブロードキャストサービス(MBS)を実現可能とするユーザ装置(UE)を提供する。
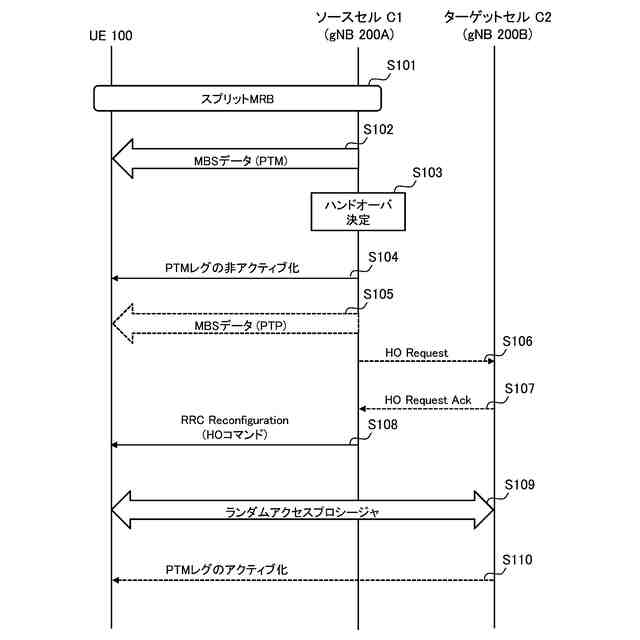
【解決手段】移動通信システムにおいて、ユーザ装置UEは、第1セルC1に対して無線リソース制御(RRC)コネクティッド状態にある場合、MBSセッションを第1セルから受信する受信部を有し、第2セルC2へのハンドオーバを指示するRRC Reconfigurationメッセージを第1セルから受信し、ハンドオーバの後、MBSセッションを第2セルから受信する。RRC Reconfigurationメッセージは、第2セルが提供するMBSセッションを受信するためのMBS受信設定を含む。
【選択図】図17
特許請求の範囲
【請求項1】
マルチキャストブロードキャストサービス(MBS)をサポートする移動通信システムにおけるユーザ装置であって、
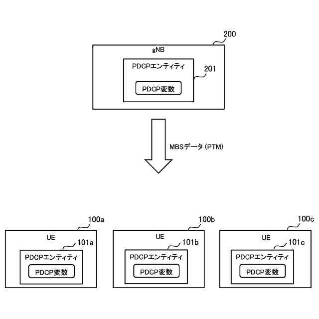
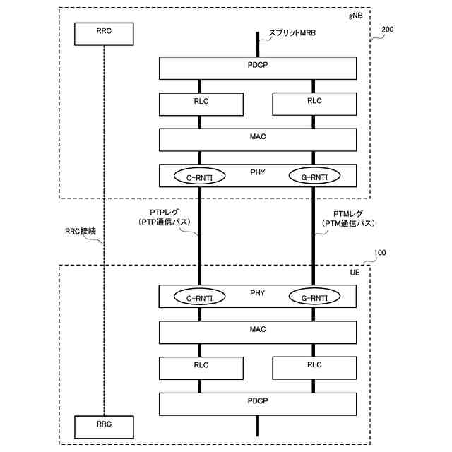
前記ユーザ装置が第1セルに対して無線リソース制御(RRC)コネクティッド状態にある場合、前記第1セルからPTM(Point-to-Multipoint)で提供されるMBSセッションを前記第1セルから受信する受信部を有し、
前記受信部は、第2セルを管理する第2ネットワークノードが、ハンドオーバ要求メッセージを、前記第1セルを管理する第1ネットワークノードから受信したことに応じて、前記第2セルへのハンドオーバを指示するRRC Reconfigurationメッセージを前記第1セルから受信し、
前記受信部は、前記ハンドオーバの後、前記第2セルから提供される前記MBSセッションを前記第2セルから受信し、
前記RRC Reconfigurationメッセージは、前記第2セルが提供する前記MBSセッションを受信するためのMBS受信設定を含み、
前記ハンドオーバ要求メッセージは、前記ユーザ装置が受信中又は受信に興味のあるブロードキャストセッションを示す情報を含む
ユーザ装置。
発明の詳細な説明
【技術分野】
【0001】
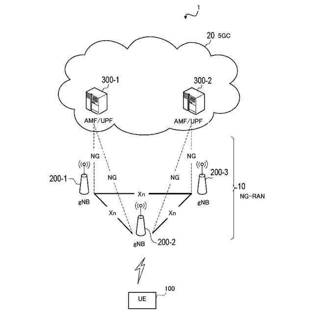
本開示は、移動通信システムで用いるユーザ装置に関する。
続きを表示(約 2,200 文字)
【背景技術】
【0002】
3GPP(3rd Generation Partnership Project)(登録商標。以下、同じ)規格において、第5世代(5G)の無線アクセス技術であるNR(New Radio)の技術仕様が規定されている。NRは、第4世代(4G)の無線アクセス技術であるLTE(Long Term Evolution)に比べて、高速・大容量かつ高信頼・低遅延といった特徴を有する。3GPPにおいて、5G/NRのマルチキャストブロードキャストサービス(MBS)の技術仕様を策定する議論が行われている(例えば、非特許文献1参照)。
【先行技術文献】
【非特許文献】
【0003】
3GPP寄書:RP-201038、“WID revision: NR Multicast and Broadcast Services”
【発明の概要】
【0004】
5G/NRのマルチキャストブロードキャストサービスは、4G/LTEのマルチキャストブロードキャストサービスよりも改善されたサービスを提供することが望まれる。
【0005】
そこで、本開示は、改善されたマルチキャストブロードキャストサービスを実現可能とする通信方法を提供することを目的とする。
【0006】
第1の態様に係る通信方法は、マルチキャストブロードキャストサービス(MBS)をサポートする移動通信システムで用いる通信方法であって、第1セルを管理する基地局が、無線リソース制御(RRC)コネクティッド状態にあるユーザ装置に対して、PTM(Point-to-Multipoint)通信パスを有するマルチキャスト無線ベアラ(MRB)を設定するステップと、前記基地局が、前記第1セルから第2セルへの前記ユーザ装置のハンドオーバを決定したことに応じて、前記PTM通信パスからPTP(Point-to-Point)通信パスへ切り替えるステップと、前記基地局が、前記PTP通信パスに切り替えた後、前記ハンドオーバを実行するステップと、を有する。
【0007】
第2の態様に係る通信方法は、マルチキャストブロードキャストサービス(MBS)をサポートする移動通信システムで用いる通信方法であって、第1セルにおいて無線リソース制御(RRC)コネクティッド状態にあるユーザ装置が、前記第1セルがPTM(Point-to-Multipoint)で提供するMBSセッションを受信するステップと、前記ユーザ装置が、前記第1セルが第2セルと構成する単一周波数ネットワーク(SFN)に関するSFN関連情報を前記第1セルから受信するステップと、前記ユーザ装置が、前記第2セルへのハンドオーバを指示するハンドオーバコマンドを前記第1セルから受信しても、前記SFNによりPTMで提供される前記MBSセッションの受信を前記SFN関連情報に基づいて継続するステップと、を有する。
【0008】
第3の態様に係る通信方法は、マルチキャストブロードキャストサービス(MBS)をサポートする移動通信システムで用いる通信方法であって、第1セルにおいて無線リソース制御(RRC)コネクティッド状態にあるユーザ装置が、前記第1セルがPTM(Point-to-Multipoint)で提供するMBSセッションを受信するステップと、前記ユーザ装置が、前記MBSセッションをPTMで提供する第2セルへのハンドオーバの前の所定時間内及び/又は前記ハンドオーバの後の所定時間内において、前記第1セルが提供する前記MBSセッションと前記第2セルが提供する前記MBSセッションとの両方を受信する同時受信を行うステップと、を有する。
【0009】
第4の態様に係る通信方法は、マルチキャストブロードキャストサービス(MBS)をサポートする移動通信システムで用いる通信方法であって、第1セルにおいて無線リソース制御(RRC)コネクティッド状態にあるユーザ装置が、前記第1セルがPTM(Point-to-Multipoint)で提供するMBSセッションを受信するステップと、前記ユーザ装置が、第2セルへのハンドオーバを指示するハンドオーバコマンドを前記第1セルから受信するステップと、前記ユーザ装置が、前記ハンドオーバの後、前記第2セルが提供する前記MBSセッションを受信するステップと、を有する。前記ハンドオーバコマンドは、前記第2セルが提供する前記MBSセッションを受信するためのマルチキャストトラフィックチャネル(MTCH)設定情報を含む。
【0010】
第5の態様に係る通信方法は、マルチキャストブロードキャストサービス(MBS)をサポートする移動通信システムで用いる通信方法であって、第1セルにおいて無線リソース制御(RRC)コネクティッド状態にあるユーザ装置が、前記第1セルがPTM(Point-to-Multipoint)で提供するMBSセッションを受信するステップと、前記ユーザ装置が、前記MBSセッションを提供する第2セルへのハンドオーバの後において、前記MBSセッションに属する2つのMBSデータストリームを前記第2セルから受信するステップと、を有する。前記2つのMBSデータストリームは、同じ時点において互いにシーケンス番号が異なる。
(【0011】以降は省略されています)
この特許をJ-PlatPat(特許庁公式サイト)で参照する
関連特許
京セラ株式会社
光学系
1か月前
京セラ株式会社
配線基板
1か月前
京セラ株式会社
蓄電装置
2か月前
京セラ株式会社
配線基板
1か月前
京セラ株式会社
粒子分離装置
2か月前
京セラ株式会社
アイソレータ
11日前
京セラ株式会社
振動検出方法
12日前
京セラ株式会社
静圧気体軸受装置
2か月前
京セラ株式会社
光センサモジュール
27日前
京セラ株式会社
光センサモジュール
27日前
京セラ株式会社
印刷装置及び印刷方法
1か月前
京セラ株式会社
予測装置及び予測方法
1か月前
京セラ株式会社
コネクタ及び取付方法
2か月前
京セラ株式会社
走査装置及び制御装置
2か月前
京セラ株式会社
走査装置及び制御装置
2か月前
京セラ株式会社
流路デバイスの準備方法
2か月前
京セラ株式会社
積層セラミック電子部品
1か月前
京セラ株式会社
太陽電池付きカーポート
2か月前
京セラ株式会社
太陽電池付きカーポート
2か月前
京セラ株式会社
差動信号フィルタデバイス
19日前
京セラ株式会社
差動信号フィルタデバイス
19日前
京セラ株式会社
弾性波装置および通信装置
4日前
京セラ株式会社
弾性波装置、および通信装置
今日
京セラ株式会社
電磁波検出装置及び制御装置
1か月前
京セラ株式会社
受電装置及び光給電システム
2か月前
京セラ株式会社
配線基板及びLEDモジュール
1か月前
京セラ株式会社
光集積回路及び光トランシーバ
1か月前
京セラ株式会社
端子、端子部材および電気機器
27日前
京セラ株式会社
端子、端子部材および電気機器
25日前
京セラ株式会社
電子デバイス及び電子モジュール
1か月前
京セラ株式会社
積層セラミック電子部品の製造方法
11日前
京セラ株式会社
光センサおよび光センサの製造方法
1か月前
京セラ株式会社
電子機器、制御方法、及びプログラム
12日前
京セラ株式会社
分析システム、分析装置、及び分析方法
1か月前
京セラ株式会社
揺動装置、電磁波照射装置、及び制御装置
2か月前
京セラ株式会社
光センサおよびこれを備えた画像形成装置
27日前
続きを見る
他の特許を見る