TOP
|
特許
|
意匠
|
商標
特許ウォッチ
Twitter
他の特許を見る
公開番号
2025178862
公報種別
公開特許公報(A)
公開日
2025-12-09
出願番号
2024085711
出願日
2024-05-27
発明の名称
弾性波装置、および通信装置
出願人
京セラ株式会社
代理人
弁理士法人 HARAKENZO WORLD PATENT & TRADEMARK
主分類
H03H
9/25 20060101AFI20251202BHJP(基本電子回路)
要約
【課題】弾性波装置において、装置の小型化が望まれている。
【解決手段】弾性波装置(1)は、平面視において、電極指(21)が配置される圧電体(10)の面である第1面(11)と、電極指の延在方向に垂直な方向における第1面の両側に位置し、電極指の延在方向における幅が、電極指の平均繰り返し間隔をpと称した場合に、pの1倍以上である側部面(51)と、を有し、側部面を有する材料の熱伝導率は、圧電体の材料の熱伝導率よりも高い。
【選択図】図2
特許請求の範囲
【請求項1】
複数の電極指を有するIDT(Inter-Digital Transducer)電極と、
前記複数の電極指が配置される第1面を有する圧電体と、を備え、
平面視において、
前記第1面と、
前記電極指の延在方向に垂直な方向における前記第1面の両側に位置し、前記電極指の延在方向における幅が、前記複数の電極指の平均繰り返し間隔をpと称した場合に、pの1倍以上である側部面と、を有し、
前記側部面を有する材料の熱伝導率は、前記圧電体の材料の熱伝導率よりも高い、
弾性波装置。
続きを表示(約 700 文字)
【請求項2】
前記側部面に対する前記第1面の高さは、pの2倍以上である、
請求項1に記載の弾性波装置。
【請求項3】
前記側部面に位置し、前記圧電体よりも熱伝導率が高い第1膜を更に備える、
請求項1に記載の弾性波装置。
【請求項4】
前記圧電体は、前記IDT電極が励振する弾性波の伝搬方向の一方側に位置する端面をさらに有し、
前記第1膜の厚さは、pの2倍以上であり、かつ、前記第1膜は、前記第1面に垂直な方向から見た平面視において、前記端面から離隔している、
請求項3に記載の弾性波装置。
【請求項5】
前記第1膜は、前記端面からp以上離隔している、
請求項4に記載の弾性波装置。
【請求項6】
前記第1膜は、金属膜である、
請求項3に記載の弾性波装置。
【請求項7】
前記第1膜上に、UBM(Under Bump Metallurgy)をさらに備える、
請求項6に記載の弾性波装置。
【請求項8】
前記第1膜は、前記IDT電極に接触している、
請求項3に記載の弾性波装置。
【請求項9】
前記IDT電極は、前記複数の電極指に接続されているバスバーをさらに有し、
前記バスバーは、前記電極指の延在方向に垂直な方向において、前記複数の電極指よりも前記第1膜の側に延在している、
請求項8に記載の弾性波装置。
【請求項10】
請求項1から9のいずれか1項に記載の弾性波装置を備える通信装置。
発明の詳細な説明
【技術分野】
【0001】
本開示は、弾性波装置、および当該弾性波装置を備える通信装置に関する。
続きを表示(約 1,500 文字)
【背景技術】
【0002】
特許文献1には、弾性波装置の一構成例が開示されている。
【先行技術文献】
【特許文献】
【0003】
特開平7-263998号公報
【発明の概要】
【発明が解決しようとする課題】
【0004】
弾性波装置において、装置の放熱性の向上が望まれている。
【課題を解決するための手段】
【0005】
上記の課題を解決するために、本開示の一態様に係る弾性波装置は、複数の電極指を有するIDT(Inter-Digital Transducer)電極と、前記複数の電極指が配置される第1面を有する圧電体と、を備え、平面視において、前記第1面と、前記電極指の延在方向に垂直な方向における前記第1面の両側に位置し、前記電極指の延在方向における幅が、前記複数の電極指の平均繰り返し間隔をpと称した場合に、pの1倍以上である側部面と、を有し、前記側部面を有する材料の熱伝導率は、前記圧電体の材料の熱伝導率よりも高い。
【発明の効果】
【0006】
本開示の一態様によれば、弾性波装置の放熱性を向上できる。
【図面の簡単な説明】
【0007】
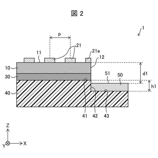
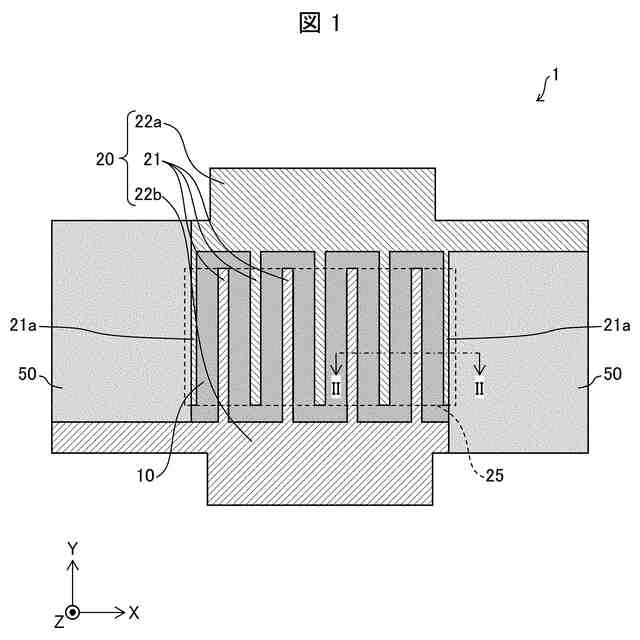
本開示の実施形態1に係る弾性波装置の構成を例示する平面図である。
本開示の実施形態1に係る弾性波装置の構成を例示する断面図である。
第1面に垂直な方向からの平面視において圧電体と第1膜とが接している場合における、側部面から圧電体の第1面までの距離に応じた、本開示の実施形態1に係る弾性波装置の特性を例示するグラフである。
本開示の実施形態1に係る弾性波装置の特性と、支持基板が平坦な弾性波装置の特性とを例示するグラフである。
本開示の実施形態2に係る弾性波装置の構成を例示する断面図である。
本開示の実施形態2に係る弾性波装置の特性と、支持基板が平坦な弾性波装置の特性とを例示するグラフである。
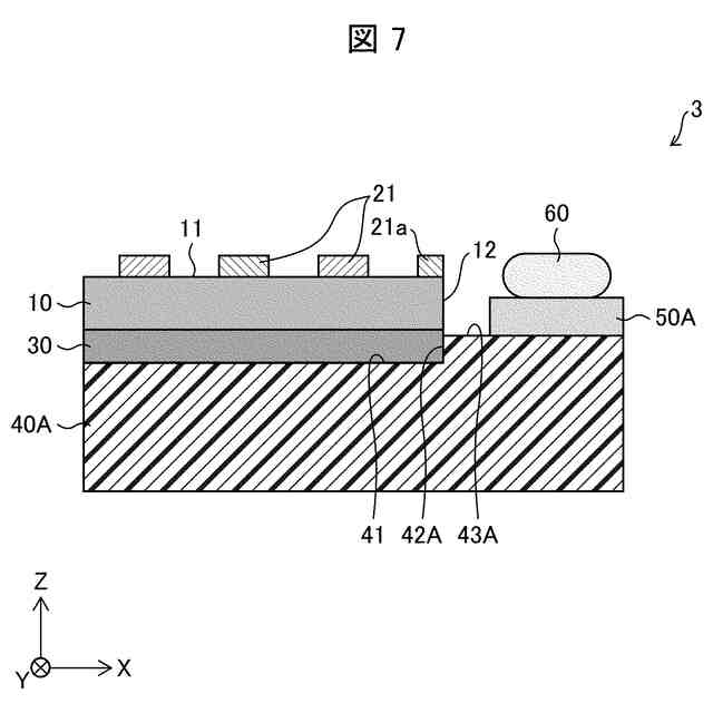
本開示の実施形態3に係る弾性波装置の構成を例示する断面図である。
本開示の実施形態4における通信装置の概略的な構成を例示する図である。
【発明を実施するための形態】
【0008】
〔実施形態1〕
実施形態1に係る弾性波装置について、以下に説明する。説明の便宜上、実施形態1にて説明したコンポーネント(構成要素)と同じ機能を有するコンポーネントについては、以降の各実施形態では同じ符号を付し、その説明を繰り返さない。簡潔化のため、公知の技術事項についても説明を適宜省略する。本明細書において述べる各コンポーネント、各材料、および各数値は、特に矛盾のない限り、いずれも単なる一例である。それゆえ、例えば、特に矛盾のない限り、各コンポーネントの位置関係は、各図の例に限定されない。また、各コンポーネントの図示は、必ずしもスケール通りではない。
【0009】
(構造)
図1は、実施形態1に係る弾性波装置1の構成を例示する平面図である。図2は、弾性波装置1の構成を例示する断面図である。具体的には、図2は、図1におけるII-II線断面図である。図1および図2に示すように、弾性波装置1は、圧電体10、IDT(Inter-Digital Transducer)電極20、低音速層30、支持基板40、および第1膜50を備える。
【0010】
IDT電極20は、圧電体10に弾性波を励振する電極である。IDT電極20は、圧電体10が有する第1面11上に位置する。IDT電極20に交流が印加されることで、圧電体10に弾性波が励振される。
(【0011】以降は省略されています)
この特許をJ-PlatPat(特許庁公式サイト)で参照する
関連特許
京セラ株式会社
光学系
1か月前
京セラ株式会社
アイソレータ
11日前
京セラ株式会社
振動検出方法
12日前
京セラ株式会社
光センサモジュール
27日前
京セラ株式会社
光センサモジュール
27日前
京セラ株式会社
予測装置及び予測方法
1か月前
京セラ株式会社
印刷装置及び印刷方法
1か月前
京セラ株式会社
積層セラミック電子部品
1か月前
京セラ株式会社
差動信号フィルタデバイス
19日前
京セラ株式会社
弾性波装置および通信装置
4日前
京セラ株式会社
差動信号フィルタデバイス
19日前
京セラ株式会社
弾性波装置、および通信装置
今日
京セラ株式会社
配線基板及びLEDモジュール
1か月前
京セラ株式会社
端子、端子部材および電気機器
27日前
京セラ株式会社
端子、端子部材および電気機器
25日前
京セラ株式会社
電子デバイス及び電子モジュール
1か月前
京セラ株式会社
積層セラミック電子部品の製造方法
11日前
京セラ株式会社
電子機器、制御方法、及びプログラム
12日前
京セラ株式会社
分析システム、分析装置、及び分析方法
1か月前
京セラ株式会社
光センサおよびこれを備えた画像形成装置
27日前
京セラ株式会社
電子機器、制御方法、プログラム、及びシステム
1か月前
京セラ株式会社
電子機器、制御方法、プログラム、及びシステム
1か月前
京セラ株式会社
VMD支援システム、サーバ装置、及び通信方法
1か月前
京セラ株式会社
行動検出システム、サーバ装置、及び行動検出方法
1か月前
京セラ株式会社
ユーザ装置
今日
京セラ株式会社
被覆層付き金属部材
13日前
京セラ株式会社
液滴吐出ヘッドおよび記録装置
11日前
京セラ株式会社
半導体レーザデバイスの製造方法
27日前
京セラ株式会社
チップ状電子部品、チップ状電子部品の製造方法、及びチップ状電子部品の実装方法
25日前
京セラ株式会社
表示装置、結像装置、表示システムおよび車両
27日前
京セラ株式会社
積層セラミックコンデンサおよびその実装構造体
8日前
富士通株式会社
情報処理プログラム、情報処理方法、および情報処理装置
6日前
京セラ株式会社
表示装置、表示システム、車両及び表示パネル収容装置
19日前
京セラ株式会社
電力管理システム、表示装置、電力管理方法、及びプログラム
4日前
京セラ株式会社
判定システム、判定システムの制御方法、および制御プログラム
1か月前
京セラ株式会社
電気化学セル、電気化学セル装置、モジュールおよびモジュール収容装置
27日前
続きを見る
他の特許を見る