TOP
|
特許
|
意匠
|
商標
特許ウォッチ
Twitter
他の特許を見る
10個以上の画像は省略されています。
公開番号
2025175181
公報種別
公開特許公報(A)
公開日
2025-11-28
出願番号
2025159318,2024232618
出願日
2025-09-25,2024-02-27
発明の名称
液滴吐出ヘッドおよび記録装置
出願人
京セラ株式会社
代理人
弁理士法人酒井国際特許事務所
主分類
B41J
2/14 20060101AFI20251120BHJP(印刷;線画機;タイプライター;スタンプ)
要約
【課題】圧力室と表面電極との位置ずれが発生した場合であっても圧電素子の駆動変位が減少しにくい液滴吐出ヘッドおよび記録装置を提供する。
【解決手段】本開示による液滴吐出ヘッドは、ノズルと、圧力室と、圧電素子とを有する。ノズルは、液滴を吐出する。圧力室は、ノズルに繋がる。圧電素子は、電圧の印加によって変形して圧力室を変形させる。圧電素子は、表面電極と、第1溝部とを有する。表面電極は、圧力室と対向する。第1溝部は、表面電極の周囲に位置し、表面電極の外形に応じた形状で延びる。平面透視における圧力室の外縁と第1溝部の外縁との距離の最大値をA1、最小値をA2とし、平面視における表面電極の外縁と第1溝部の外縁との距離の最大値をB1、最小値をB2とした場合、以下の式(1)を満たす。
A1-A2<B1―B2 ・・・(1)
【選択図】図8
特許請求の範囲
【請求項1】
液滴を吐出するノズルと、
前記ノズルに繋がる圧力室と、
電圧の印加によって変形して前記圧力室を変形させる圧電素子と
を有し、
前記圧電素子は、
前記圧力室と対向する表面電極と、
前記表面電極の周囲に位置し、前記表面電極の外形に応じた形状で延びる第1溝部と
を有し、
平面透視における前記圧力室の外縁と前記第1溝部の外縁との距離の最大値をA1、最小値をA2とし、平面視における前記表面電極の外縁と前記第1溝部の外縁との距離の最大値をB1、最小値をB2とした場合、以下の式(1)を満たす、液滴吐出ヘッド。
A1-A2<B1―B2 ・・・(1)
続きを表示(約 1,900 文字)
【請求項2】
液滴を吐出するノズルと、
前記ノズルに繋がる圧力室と、
電圧の印加によって変形して前記圧力室を変形させる圧電素子と
を有し、
前記圧電素子は、
前記圧力室と対向する表面電極と、
前記表面電極の周囲に位置し、前記表面電極の外形に応じた形状で延びる第1溝部と
を有し、
前記圧力室および前記表面電極は、平面透視で円形状であり、
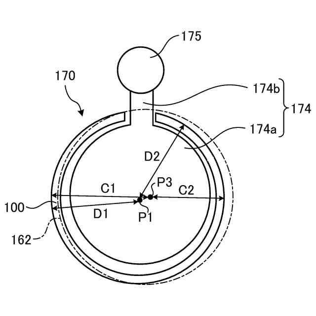
平面透視における前記圧力室の中心と前記第1溝部の外縁との距離の最大値をC1、最小値をC2とし、平面視における前記表面電極の中心と前記第1溝部の外縁との距離の最大値をD1、最小値をD2とした場合、以下の式(2)を満たす、液滴吐出ヘッド。
C1-C2<D1-D2 ・・・(2)
【請求項3】
前記表面電極は、
前記圧力室と対向する領域に位置する電極本体と、
前記電極本体から第1方向に延びる引出電極と
を有し、
平面透視において前記第1溝部の外縁の一部が前記圧力室の外縁の外方に位置する場合、前記第1溝部の外縁は、前記第1方向、前記第1方向と反対方向である第2方向、前記第1方向および前記第2方向に直交する第3方向、前記第3方向と反対方向である第4方向のうち前記第1方向において、前記圧力室の外縁から最も離れている、請求項1に記載の液滴吐出ヘッド。
【請求項4】
前記表面電極は、
前記圧力室と対向する領域に位置する電極本体と、
前記電極本体から第1方向に延びる引出電極と
を有し、
平面視において、前記第1溝部の外縁は、前記第1方向、前記第1方向と反対方向である第2方向、前記第1方向および前記第2方向に直交する第3方向、前記第3方向と反対方向である第4方向のうち前記第1方向において、前記電極本体の外縁から最も離れている、請求項1に記載の液滴吐出ヘッド。
【請求項5】
前記圧力室は、平面透視で円形状であり、
前記表面電極は、
前記圧力室と対向する領域に位置する平面視円形状の電極本体と、
前記電極本体から第1方向に延びる引出電極と
を有し、
前記第1溝部は、前記電極本体を囲み且つ両端が前記引出電極を挟むように前記引出電極の外方に位置する円弧状を有しており、
平面視において、前記第1溝部の一端と他端との距離をE1とし、前記引出電極の幅をE2とし、前記表面電極の外縁と前記第1溝部の内縁との距離の平均値をE3とした場合、以下の式(3)を満たす、請求項1に記載の液滴吐出ヘッド。
(E1-E2)/2>E3 ・・・(3)
【請求項6】
複数の前記圧電素子を有する平板形状の圧電アクチュエータと、
複数の前記圧力室を有する平板形状の流路部材と、
前記流路部材と前記圧電素子との間に位置する補強プレートと
を有し、
平面透視において前記流路部材および前記補強プレートは、前記圧電アクチュエータよりも大きく、
前記流路部材は、前記圧電アクチュエータの外方に位置する領域に第1貫通孔を有し、
前記補強プレートは、前記第1貫通孔と対応する位置に第2貫通孔を有し、
平面透視において前記第2貫通孔は、前記第1貫通孔よりも大きい、請求項1に記載の液滴吐出ヘッド。
【請求項7】
前記第1溝部は、前記圧電アクチュエータを厚み方向に貫通しており、
前記補強プレートは、
前記圧電アクチュエータとの接着面に、平面透視において前記第1溝部および前記圧力室の外方に第2溝部を有する、請求項6に記載の液滴吐出ヘッド。
【請求項8】
前記第2溝部は、
平面透視において前記複数の圧力室のうち2以上の前記圧力室の周囲に沿って延びる複数の個別溝部と、
前記複数の個別溝部に連通する集合溝部と
を有し、
前記流路部材は、前記集合溝部と連通する連通孔を有し、
前記連通孔は、前記補強プレートとの接合面と反対の面に開口する、請求項7に記載の液滴吐出ヘッド。
【請求項9】
前記補強プレートは、前記第2溝部の内部に前記圧電アクチュエータに接する柱部を有し、
平面透視において、前記圧電アクチュエータは、前記柱部と重なる位置にバンプを有する、請求項7に記載の液滴吐出ヘッド。
【請求項10】
請求項1に記載の液滴吐出ヘッドと、
前記液滴吐出ヘッドを制御する制御部と、を備える記録装置。
(【請求項11】以降は省略されています)
発明の詳細な説明
【技術分野】
【0001】
本開示は、液滴吐出ヘッドおよび記録装置に関する。
続きを表示(約 1,800 文字)
【背景技術】
【0002】
印刷装置として、インクジェット記録方式を利用したインクジェットプリンタまたはインクジェットプロッタが知られている。このようなインクジェット方式の印刷装置には、液体を吐出させるための液滴吐出ヘッドが搭載されている。
【0003】
液滴吐出ヘッドは、圧力室の上部に位置する圧電素子を駆動させて圧力室内の圧力を変化させることにより、圧力室内の液体をノズルから吐出する。圧電素子は、圧電体と、圧電体の内部に位置する内部電極と、圧電体の表面に位置する表面電極とを有する。
【0004】
特許文献1には、圧電素子間におけるクロストークの発生を抑制する目的で、表面電極の周囲に表面電極を囲む溝部が形成された圧電素子を有するインクジェットヘッドが開示されている。
【先行技術文献】
【特許文献】
【0005】
特開2003-311954号公報
【発明の概要】
【発明が解決しようとする課題】
【0006】
本開示は、圧力室と表面電極との位置ずれが発生した場合であっても圧電素子の駆動変位が減少しにくい液滴吐出ヘッドおよび記録装置を提供する。
【課題を解決するための手段】
【0007】
本開示の一態様による液滴吐出ヘッドは、ノズルと、圧力室と、圧電素子とを有する。ノズルは、液滴を吐出する。圧力室は、ノズルに繋がる。圧電素子は、電圧の印加によって変形して圧力室を変形させる。圧電素子は、表面電極と、第1溝部とを有する。表面電極は、圧力室と対向する。第1溝部は、表面電極の周囲に位置し、表面電極の外形に応じた形状で延びる。平面透視における圧力室の外縁と第1溝部の外縁との距離の最大値をA1、最小値をA2とし、平面視における表面電極の外縁と第1溝部の外縁との距離の最大値をB1、最小値をB2とした場合、以下の式(1)を満たす。
A1-A2<B1―B2 ・・・(1)
【発明の効果】
【0008】
本開示によれば、圧力室と表面電極との位置ずれが発生した場合であっても圧電素子の駆動変位が減少しにくい液滴吐出ヘッドおよび記録装置を提供することができる。
【図面の簡単な説明】
【0009】
図1は、第1実施形態に係るプリンタの概略的な側面図である。
図2は、第1実施形態に係るプリンタの概略的な平面図である。
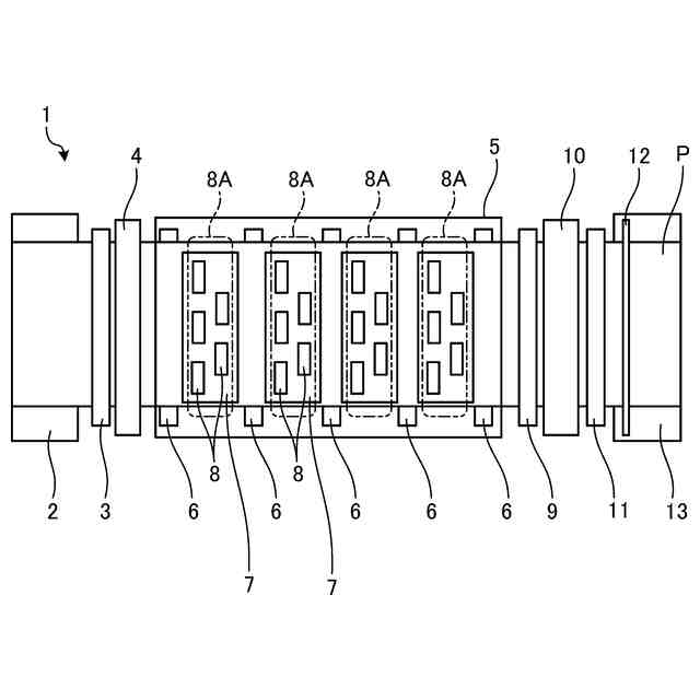
図3は、第1実施形態に係る液滴吐出ヘッドの模式的な分解斜視図である。
図4は、第1実施形態に係るヘッド本体の要部を示す模式的な平面図である。
図5は、図4に示す領域Vの模式的な拡大図である。
図6は、図5に示すVI-VI線矢視における模式的な断面図である。
図7は、第1実施形態に係る圧電素子の模式的な平面図である。
図8は、第1実施形態に係る圧電素子の模式的な平面図である。
図9は、第1実施形態に係る圧電素子の模式的な平面図である。
図10は、第1実施形態に係る圧電素子の模式的な平面図である。
図11は、第1実施形態に係る圧電素子の模式的な平面図である。
図12は、第1実施形態に係る補強プレートおよび流路部材の模式的な断面図である。
図13は、第1実施形態に係るヘッド本体の要部を示す模式的な断面図である。
図14は、第1実施形態に係るヘッド本体の要部を示す模式的な平面図である。
図15は、第1実施形態に係る補強プレートの構成を示す平面図である。
図16は、第2実施形態に係る圧電素子の構成を示す模式的な平面図である。
【発明を実施するための形態】
【0010】
以下に、本開示による液滴吐出ヘッドおよび記録装置を実施するための形態(以下、「実施形態」と記載する)について図面を参照しつつ詳細に説明する。なお、この実施形態により本開示が限定されるものではない。また、各実施形態は、処理内容を矛盾させない範囲で適宜組み合わせることが可能である。また、以下の各実施形態において同一の部位には同一の符号を付し、重複する説明は省略される。
(【0011】以降は省略されています)
この特許をJ-PlatPat(特許庁公式サイト)で参照する
関連特許
京セラ株式会社
光学系
1か月前
京セラ株式会社
配線基板
1か月前
京セラ株式会社
配線基板
1か月前
京セラ株式会社
蓄電装置
1か月前
京セラ株式会社
アイソレータ
1日前
京セラ株式会社
振動検出方法
2日前
京セラ株式会社
粒子分離装置
1か月前
京セラ株式会社
静圧気体軸受装置
1か月前
京セラ株式会社
光センサモジュール
17日前
京セラ株式会社
光センサモジュール
17日前
京セラ株式会社
走査装置及び制御装置
1か月前
京セラ株式会社
走査装置及び制御装置
1か月前
京セラ株式会社
予測装置及び予測方法
25日前
京セラ株式会社
コネクタ及び取付方法
1か月前
京セラ株式会社
印刷装置及び印刷方法
22日前
京セラ株式会社
太陽電池付きカーポート
1か月前
京セラ株式会社
積層セラミック電子部品
23日前
京セラ株式会社
太陽電池付きカーポート
1か月前
京セラ株式会社
差動信号フィルタデバイス
9日前
京セラ株式会社
差動信号フィルタデバイス
9日前
京セラ株式会社
電磁波検出装置及び制御装置
1か月前
京セラ株式会社
端子、端子部材および電気機器
15日前
京セラ株式会社
端子、端子部材および電気機器
17日前
京セラ株式会社
配線基板及びLEDモジュール
22日前
京セラ株式会社
光集積回路及び光トランシーバ
1か月前
京セラ株式会社
電子デバイス及び電子モジュール
22日前
京セラ株式会社
光センサおよび光センサの製造方法
1か月前
京セラ株式会社
積層セラミック電子部品の製造方法
1日前
京セラ株式会社
電子機器、制御方法、及びプログラム
2日前
京セラ株式会社
分析システム、分析装置、及び分析方法
22日前
京セラ株式会社
光センサおよびこれを備えた画像形成装置
17日前
京セラ株式会社
揺動装置、電磁波照射装置、及び制御装置
1か月前
京セラ株式会社
ホルダ、切削工具、及び切削加工物の製造方法
1か月前
京セラ株式会社
ノード、方法、プログラム及び分散台帳システム
1か月前
京セラ株式会社
太陽光発電システム及び太陽電池付きカーポート
1か月前
京セラ株式会社
電子機器、制御方法、プログラム、及びシステム
25日前
続きを見る
他の特許を見る