TOP
|
特許
|
意匠
|
商標
特許ウォッチ
Twitter
他の特許を見る
10個以上の画像は省略されています。
公開番号
2025169300
公報種別
公開特許公報(A)
公開日
2025-11-12
出願番号
2025130909,2024568414
出願日
2025-08-05,2024-11-11
発明の名称
表示装置、結像装置、表示システムおよび車両
出願人
京セラ株式会社
代理人
弁理士法人 HARAKENZO WORLD PATENT & TRADEMARK
主分類
G02B
27/02 20060101AFI20251105BHJP(光学)
要約
【課題】従来、デジタルルームミラー、ヘッドマウントディスプレイ等に用いられる小型の表示装置は光学部材の変形、光学部材同士の位置ずれ等が発生し易く、表示品位が低下することがあった。
【解決手段】表示装置は、表示パネルと、第1位相差板と、半透過鏡と、第2位相差板と、反射偏光板とを備える。表示パネルは、表示光を出射する。第1位相差板は、表示パネルに対向して配置されている。第2位相差板は、第1位相差板から離隔して配置されている。反射偏光板は、第2位相差板に対向して配置されるとともに、第1偏光を透過して第2偏光を反射する。半透過鏡は、第1位相差板と第2位相差板との間に配置され、第2位相差板と対向する反射面を有する。第1位相差板および第2位相差板は、表示光を第1偏光および第2偏光にする。
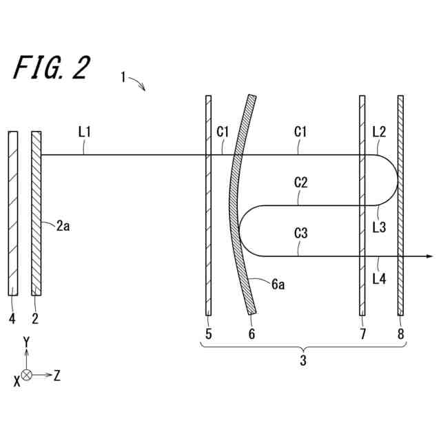
【選択図】図2
特許請求の範囲
【請求項1】
表示光を出射する表示パネルと、
前記表示パネルに対向する第1位相差板と、
前記第1位相差板から離隔して配置された第2位相差板と、
前記第2位相差板に対向して配置されるとともに、第1偏光を透過して第2偏光を反射する反射偏光板と、
前記第1位相差板と前記第2位相差板との間に配置され、前記第2位相差板と対向する反射面を有する半透過鏡と、を備え、
前記第1位相差板及び前記第2位相差板は、前記表示光を第1偏光および第2偏光にする、表示装置。
発明の詳細な説明
【技術分野】
【0001】
本開示は、表示装置、結像装置、表示システムおよび車両に関する。
続きを表示(約 1,300 文字)
【背景技術】
【0002】
従来、例えば特許文献1に記載された表示装置が知られている。
【先行技術文献】
【特許文献】
【0003】
特開2022-63533号公報
【発明の概要】
【0004】
本開示の表示装置は、表示光を出射する表示パネルと、
前記表示パネルに対向する第1位相差板と、
前記第1位相差板から離隔して配置された第2位相差板と、
前記第2位相差板に対向して配置されるとともに、第1偏光を透過して第2偏光を反射する反射偏光板と、
前記第1位相差板と前記第2位相差板との間に配置され、前記第2位相差板と対向する反射面を有する半透過鏡と、を備え、
前記第1位相差板及び前記第2位相差板は、前記表示光を第1偏光および第2偏光にする。
【0005】
また、本開示の表示装置は、表示光を出射する表示パネルと、
前記表示光を透過する第1位相差板と、
前記第1位相差板から離隔して配置された第2位相差板と、
前記表示パネルと前記第1位相差板との間に配置され、前記第1位相差板と対向する第1反射面を有する第1半透過鏡と、
前記第1位相差板と前記第2位相差板との間に配置され、前記第1位相差板と対向する第2反射面を有する第2半透過鏡と、
前記第2位相差板に対向する偏光板と、を備え、
前記第1位相差板及び前記第2位相差板は、前記表示光を、前記偏光板を透過する第1偏光と前記第1偏光よりも前記偏光板の透過が少ない第2偏光とにする。
【0006】
また、本開示の表示装置は、表示光を出射する表示パネルと、
前記表示光を透過する第1位相差板と、
前記第1位相差板から離隔して配置された第2位相差板と、
前記表示パネルと前記第1位相差板との間に配置され、前記第1位相差板と対向する第1反射面を有する第1半透過鏡と、
前記第1位相差板と前記第2位相差板との間に配置され、前記第1位相差板と対向する第2反射面と、前記第2位相差板と対向する第3反射面とを有する第2半透過鏡と、
前記第2位相差板と対向する第4反射面を有する第3半透過鏡と、を備える。
【0007】
本開示の結像装置は、上記の表示装置を含む。
【0008】
また、本開示の表示装置は、表示パネルと、
前記表示パネルから出射された表示光を虚像または実像として投影する光学系と、
前記表示パネルおよび前記光学系を収容する筐体と、を備え、
前記筐体は、前記光学系から出射された光を透過させる窓を有し、
前記筐体の前記窓を見たときに、前記窓と前記光学系と前記表示パネルとが重なるように配置されている。
【0009】
本開示の車両は、上記の表示装置を備える。
【0010】
また、本開示の表示装置は、表示光を出射する表示パネルと、
前記表示光が透過する凸レンズと、を備え、
前記表示パネルから前記凸レンズまでの光路長が、前記凸レンズの焦点距離よりも小さい。
(【0011】以降は省略されています)
この特許をJ-PlatPat(特許庁公式サイト)で参照する
関連特許
京セラ株式会社
差動信号フィルタデバイス
今日
京セラ株式会社
表示装置、表示システム、車両及び表示パネル収容装置
今日
京セラ株式会社
情報処理システム、情報処理システムの制御方法、制御プログラム、記録媒体
今日
個人
立体像表示装置
1か月前
住友化学株式会社
偏光板
1か月前
カンタツ株式会社
光学系
29日前
株式会社シグマ
結像光学系
23日前
株式会社シグマ
結像光学系
13日前
住友化学株式会社
垂直偏光板
1か月前
東レ株式会社
赤外線遮蔽構成体
1か月前
東レ株式会社
貼合体の製造方法
1か月前
日本精機株式会社
ミラーユニット
22日前
古河電気工業株式会社
融着機
29日前
日本電気株式会社
光モジュール
23日前
株式会社コシナ
投射ズームレンズ
6日前
日東電工株式会社
導光部材
13日前
豊田合成株式会社
調光装置
今日
個人
多方向視差効果のための微細穴加工
24日前
個人
眼鏡装着位置変更具および眼鏡
1か月前
三菱電機株式会社
レンズモジュール
1か月前
京セラ株式会社
光学系
21日前
日東電工株式会社
光学積層体
15日前
日本精機株式会社
ヘッドアップディスプレイ
16日前
AGC株式会社
インフィニティミラー
1か月前
住友化学株式会社
偏光板
1か月前
住友化学株式会社
偏光板
1か月前
日本精機株式会社
ヘッドアップディスプレイ
13日前
住友化学株式会社
積層体
1か月前
新光電気工業株式会社
光導波路部品
1か月前
新光電気工業株式会社
光導波路部品
1か月前
住友化学株式会社
偏光積層体
1か月前
マクセル株式会社
映像表示装置
6日前
日本精機株式会社
ヘッドアップディスプレイ装置
14日前
日本精機株式会社
ヘッドアップディスプレイ装置
13日前
住友化学株式会社
光学積層体
1か月前
株式会社リコー
光走査装置及び画像形成装置
13日前
続きを見る
他の特許を見る